| 简介
一实科技(科技牛)专注于为企业精准匹配科研专家,快速提供技术解决方案,帮助企业学研合作、技术难题攻关、委托(联合)开发、技术成果对接,找到突破口,顺利完成转型升级。
如果您有以下科技成果、专利技术需求(含往期成果推荐),或企业遇到技术难题、寻求转型升级,点击文末“阅读原文”填写技术需求反馈表,或直接拨打电话:021-60496215,我们将有专业对口的项目人员为您提供全程专业化服务。
大体积海水中痕量有机污染物采集装置
及采集系统
- 环保化工制品制造 -

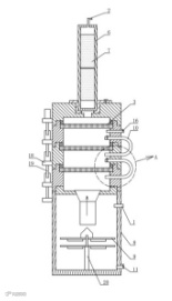
本发明涉及一种大体积海水中痕量有机污染物采集装置,该装置把过滤组件和溶解态污染物富集组件组合成一体,过滤组件包括沿水流方向依次设置的过滤单元,前级过滤单元的出口与后级过滤单元的入口之间设有滤件,相邻的过滤单元之间设有连通管,连通管上设有在前级过滤单元内压到达设定值时打开放入截止装置,当前级过滤单元的滤件堵塞后,水流由连通管流向后级过滤单元,最后都流入溶解态污染物富集组件中,使得工作采集过程中无需由专业人员做滤件更换的操作。
本发明还涉及一种采用该装置的系统,该系统通过控制器实现两套以上该装置的自动切换,从而能将本系统搭载在商船或固定平台上由非专业人员完成采样操作。
持久性有机污染物(Persistent Organic Pollutants,POPs)具有高毒、持久、易生物累积以及能发生长距离迁移的特性,因此控制和削弱这一类化合物已经成为国际社会共识。环境中POPs一般都处于痕量水平,尤其是海洋中的含量更低。但是由于地球上海水容量巨大,海洋是全球POPs的重要储库,一系列的海洋物理和生物地球化学过程对POPs的海—气交换和全球生物地球化学循环具有长期的重要影响,因此监测海洋POPs的含量尤为重要。
由于海洋尤其是远洋中POPs含量极低,因此需要采集大量的海水才能够满足分析需要。传统的采样器由颗粒物过滤部件和有机相富集部件组成,并且这两种部件相互分离。颗粒物过滤部件中装有滤网,过滤一个样品需要使样品连续通过该滤网,样品中的颗粒等杂质很容易堵塞滤网,因此必须由专业人员多次更换滤网,操作较为繁琐,而且这种操作往往只能在科考船上实现,使得海洋样品的采集受到很大的局限。
本发明适用于水体污染物采样。该采集装置及系统使用方便,无需专业人员进行操作,可以搭载于商船中或固定平台中。
技术许可、转让、入股
面议
科技牛,一家为企业精准匹配科研专家,快速提供技术解决方案的产学研服务平台。关注我们,了解最新科技成果。
点击下方“阅读原文”填写技术需求表 ☺

