⭐ 每天分享有侵权风险的跨境热卖品 ⭐
据美国专利局的最新公开信息,Joey关注到1月6日又有大批美国外观专利产品成功下证,今天再为大家整理了其中21款,有不少产品在跨境电商中较为常见,其中国人卖家注册的外观专利也不少,销售相似商品的跨境卖家可能面临侵权投诉和临时禁令(TRO)的风险,注意规避。
Laundry drying apparatus 烘干器
专利编号:US D1108742
申请日期:2024-03-19
下证日期:2026-01-06
Wall lamp 壁灯
专利编号:US D1108691
申请日期:2022-11-16
下证日期:2026-01-06
Shopping cart 手推车
专利编号:US D1108766
申请日期:2025-01-15
下证日期:2026-01-06
Pet helmet 宠物头盔
专利编号:US D1108735
申请日期:2024-03-19
下证日期:2026-01-06
Trash can 垃圾桶
专利编号:US D1108762
申请日期:2024-03-14
下证日期:2026-01-06
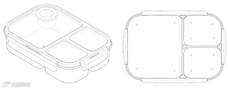
Food container 食品盘
专利编号:US D1108254
申请日期:2024-03-15
下证日期:2026-01-06
Cupholder tray 杯托盘
专利编号:US D1108337
申请日期:2023-12-26
下证日期:2026-01-06
Headband耳机
专利编号:US D1108396
申请日期:2023-12-18
下证日期:2026-01-06
Handheld shower 淋浴头
专利编号:US D1108584
申请日期:2023-12-14
下证日期:2026-01-06
Hand-held steamer 手持式蒸汽机
专利编号:US D1108744
申请日期:2023-12-04
下证日期:2026-01-06
Bottle lid 瓶盖
专利编号:US D1108205
申请日期:2024-01-06
下证日期:2026-01-06
Underwater camera 水下相机
专利编号:US D1108524
申请日期:2023-08-21
下证日期:2026-01-06
Handheld fan 折叠风扇
专利编号:US D1108601
申请日期:2024-01-11
下证日期:2026-01-06
Undertable storage rack 桌下储物架
专利编号:US D1108187
申请日期:2023-11-28
下证日期:2026-01-06
Bowl 碗
专利编号:US D1108213
申请日期:2024-01-11
下证日期:2026-01-06
Ceiling light 吸顶灯
专利编号:US D1108693
申请日期:2023-07-28
下证日期:2026-01-06
Iron for straightening hair 直发器
专利编号:US D1108708
申请日期:2023-04-24
下证日期:2026-01-06
Portable power source 便携式电源
专利编号:US D1108344
申请日期:2023-05-05
下证日期:2026-01-06
Container for food storage 食品储存容器
专利编号:US D1108225
申请日期:2022-10-31
下证日期:2026-01-06
Cushion 坐垫
专利编号:US D1108179
申请日期:2022-09-23
下证日期:2026-01-06
Fly toy 飞行玩具
专利编号:US D1108549
申请日期:2022-12-08
下证日期:2026-01-06
注意,用专利编号查询专利时,只需用【D+数字】,前面的US 代表专利生效国,查询的时候需要去掉。
推荐阅读:
提升 Listing 安全感:版权登记,跨境卖家的“反收割”利器!
以上就是今天的最新外观专利产品分享,更多最新专利产品,请持续关注每日发布的动态!
亚马逊精铺卖家上架前建议做产品侵权排查,检测产品是否有被钓鱼律所代理记录,是否涉侵权外观和发明专利,做好风排和定期专利动态跟踪,可规避95%的侵权风险:

