据美国专利局的最新公开信息,Joey关注到1.6日又有大批美国外观专利产品成功下证,今天再为大家整理了其中21款,有不少产品在跨境电商中较为常见,其中国人卖家注册的外观专利也不少,销售相似商品的跨境卖家可能面临侵权投诉和临时禁令(TRO)的风险,注意规避。
Padlock 挂锁
申请日期:2025-03-13
下证日期:2026-01-06
Lunch bag 午餐袋
申请日期:2024-06-17
下证日期:2026-01-06
Scissors 剪刀
申请日期:2024-09-23
下证日期:2026-01-06
Handheld fan 手持风扇
申请日期:2025-02-19
下证日期:2026-01-06
Toy turtle 玩具乌龟
申请日期:2025-02-15
下证日期:2026-01-06
Air purifier 空气净化器
申请日期:2025-02-11
下证日期:2026-01-06
Comb 梳子
申请日期:2025-01-16
下证日期:2026-01-06
Shopping cart 购物车
申请日期:2025-01-15
下证日期:2026-01-06
Outdoor heater 户外取暖器
申请日期:2024-12-20
下证日期:2026-01-06
Back scrubber brush for shower 淋浴背刷
申请日期:2025-01-17
下证日期:2026-01-06
Seat 座椅
申请日期:2024-11-18
下证日期:2026-01-06
Cat scratch board 猫抓板
申请日期:2024-10-15
下证日期:2026-01-06
Coffee strainer 咖啡过滤器
申请日期:2024-10-21
下证日期:2026-01-06
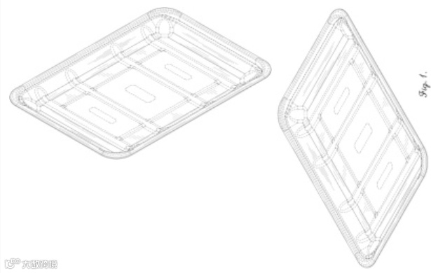
Food tray 食物托盘
申请日期:2024-08-28
下证日期:2026-01-06
Candle warmer lamp 融蜡灯
申请日期:2024-08-07
下证日期:2026-01-06
Mobile power supply 移动电源
申请日期:2024-07-23
下证日期:2026-01-06
Wireless charger 无线充电器
申请日期:2024-06-26
下证日期:2026-01-06
Knife 小刀
申请日期:2024-06-14
下证日期:2026-01-06
Couch cup holder tray 沙发杯架托盘
申请日期:2024-06-13
下证日期:2026-01-06
Squeegee 刮水器
申请日期:2024-06-26
下证日期:2026-01-06
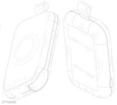
Wireless power bank 无线充电宝
申请日期:2024-06-13
下证日期:2026-01-06
注意,用专利编号查询专利时,只需用【D+数字】,前面的US 代表专利生效国,查询的时候需要去掉。
推荐阅读:
提升 Listing 安全感:版权登记,跨境卖家的“反收割”利器!
以上就是今天的最新外观专利产品分享,更多最新专利产品,请持续关注每日发布的动态!
亚马逊精铺卖家上架前建议做产品侵权排查,检测产品是否有被钓鱼律所代理记录,是否涉侵权外观和发明专利,做好风排和定期专利动态跟踪,可规避95%的侵权风险:

