小部件是儿童玩具中致命且易被忽视的安全风险。美国、欧盟等市场持续发生因小部件脱落导致误吞、窒息的事故及召回,已成为全球监管重点。
一、什么是玩具中的“小部件”?
毛绒玩具
红圈内为玩偶眼睛,属粘合或嵌插式装饰,在玩耍、挤压或长期使用后易脱落,存在误吞或窒息风险。
儿童益智穿珠板
红圈内为“蘑菇头”锚点结构(塑料帽+金属螺丝),属可拆卸小零件;松动脱落即构成窒息隐患。
海滩游艇玩具套装
红圈内为微型沙滩仿真配件,尺寸极小,易分离或脱落,存在误吸、误吞致窒息风险。
贴纸玩具
红圈内为微缩家居配件贴纸,体积微小,易从底纸剥离或自然脱落,形成可吞咽小部件。
仿真水果玩具
红圈为仿真草莓可开合机关,结构精密但反复操作易致零件松动或脱落,引发误吞风险。
二、商家合规应对建议
建议方法
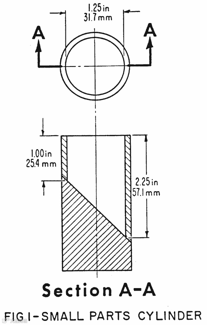
商品上架前,建议商家采购符合标准的小部件测试器进行自检。若玩具本体、可拆卸配件或模拟脱落后的部件能完全置入测试器内,即判定为存在“小部件”风险。
测试原理
测试器内部空腔尺寸严格依据3岁以下儿童喉部完全扩张解剖数据设计,是判定窒息风险的关键安全阈值。
测试步骤
- 拆卸与模拟脱落检查:取下所有可拆卸部件;对可能在拉扯、跌落或正常使用中脱落的部件,经模拟测试后一并纳入检测范围。
- 自然置入:不施加外力、不挤压、不旋转,将待测部件自然放入测试器。
- 结果判定:若部件完全沉入筒内且未超出顶部边缘,则判定为“小部件”,禁止供3岁以下儿童使用,须优化结构设计。
本文内容系政策资讯整理,仅供参考。后续法规如有更新,不另行通知。具体执行请以主管部门解释或专业法律意见为准。

