随着跨境电商的蓬勃发展,越来越多的中国企业认识到注册外观专利的重要性,根据美国专利商标局的相关指南,外观专利的图稿必须清晰展现产品的重要元素,全面披露需要保护的外观特征。
明确的图纸、线条不仅能为企业提供法律保护,还能有效防止潜在的仿冒行为,因此,了解美国外观专利图纸的制图标准对跨境卖家们来说至关重要。那么,美国外观专利对图纸的要求是什么呢?别着急,本期小编将详细为大家解析~
在美国,外观专利的图纸通常以黑色线条绘制在A4纸上,产品需要通过绘制对产品特征进行表达的阴影线。标准的外观专利图纸一般包括8张图,分别为:前立体图、后立体图、主视图、后视图、左视图、右视图、俯视图和仰视图。为了更全面地保护产品,可能还会增加放大图或变换状态图。

■ 虚线:表示产品特征的形状可改变,通常不主张保护。虚线用于界定不主要的结构部分,帮助区分主要设计元素,如下图所示:
■ 结构线:表示产品的具体结构和轮廓,通常是比阴影线粗的实线,较粗的实线用来强调产品的主要轮廓和构造。
■ 阴影线:用于强调产品特征,通过阴影效果更好地展现产品的深度和细节,使图纸呈现更立体的效果,让人便于理解其产品外观。
■ 断裂线:表示与该图纸所示对象有关联但不属于保护范围的零件,通常用于指明虚拟的或可忽略的部分。
标号:每个图通常会有编号(如FIG. 1, FIG. 2等),通常为FIG.+阿拉伯数字,同时表示出产品的六视图,六视图顺序为主后左右俯仰。
● 下图将阴影线、虚线、结构线、标号都展示出:
通过上图可以了解到,耳朵清洁器的外部线条是主要需要保护的部分。内部的小零件由于其设计较为简单且容易进行变更,因而采用虚线表示,这表明这些部分不主张保护,从而最大限度地集中保护主要外观设计。使用阴影线的方式增添了产品的立体感,这样的设计策略有效地强调了产品的关键特征,同时降低了被模仿的风险。
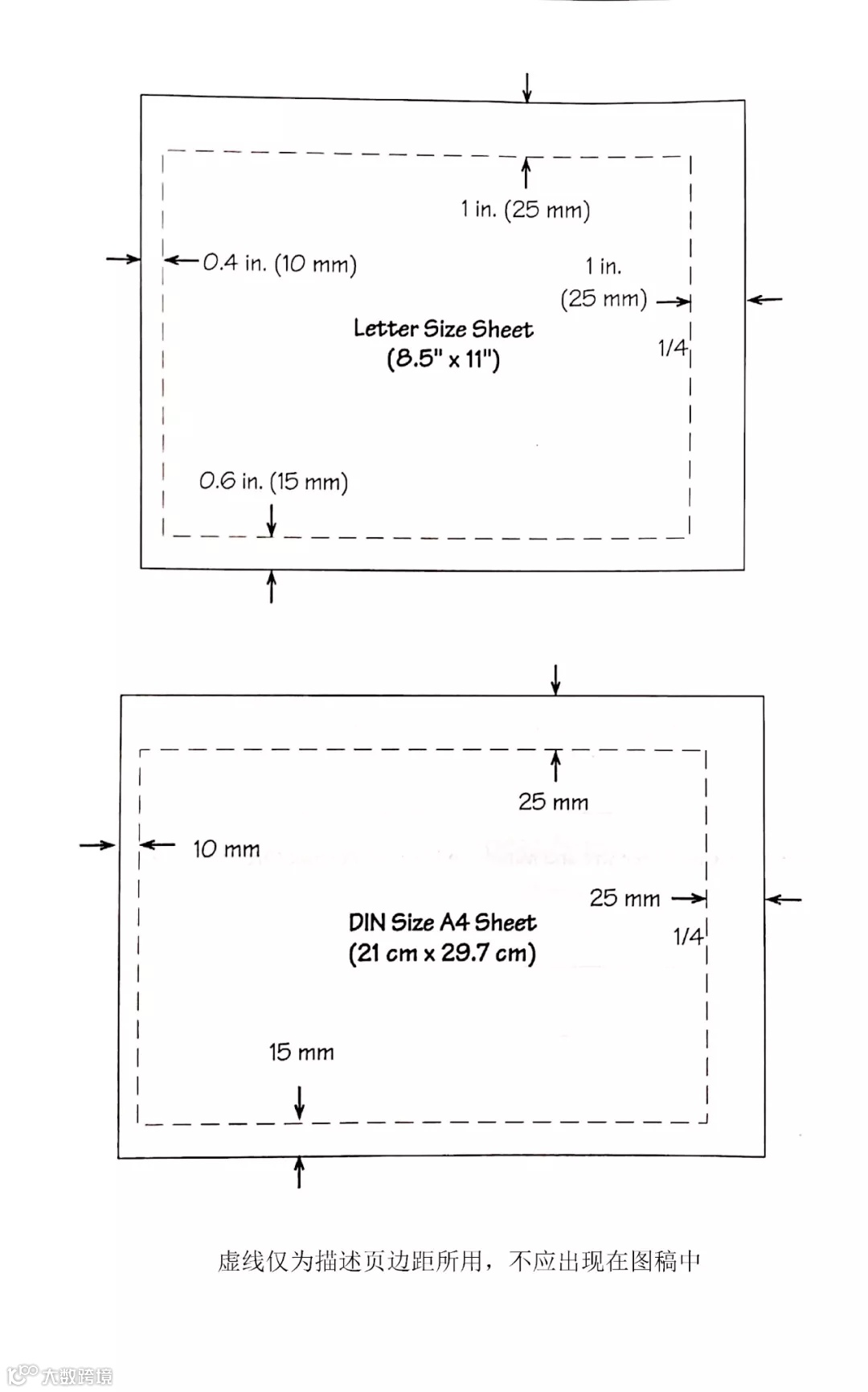
在这里也跟大家介绍下图纸格式,美国外观专利图纸的格式一般分为两种:Letter,以及A4纸大小,四周区域需要留白,如下图:
除纸张需保持洁净外,可根据产品设计进行纵向或横向排版,方便对宽度产品的展示,具体留白可参考下图:
图纸而对于页码位置相对灵活,取决于产品图纸所占区域位置,具体可参考下图:
当然,图纸对于字号的大小也有相应要求,具体参考标准如下图:
美国外观设计专利的申请流程相对复杂,成功申请的关键之一是在准备专利图纸方面下足功夫。除此之外,寻求专业机构的协助显得尤为重要。而乐鱼跨境拥有一支专业本土律师团队,商标专利申请经验十分丰富,能够为卖家提供全面的支持和指导,如果您有美国外观专利需求或疑问,欢迎您联系我们~