海关数据“撬墙角”:精准挖掘竞争对手流失客户
年采购超500万美元的客户中,43%因供应链不稳定频繁更换供应商(海关数据分析)
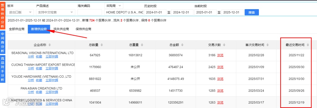
输入竞争对手公司名称,即可定位其近期流失的采购商——这些正是高转化潜力客户。
通过海关数据可清晰查看某采购商近12个月的供应商变动情况(新增、流失、持续合作),印证其供应链存在调整空间,具备开发价值。
筛选客户逻辑步骤
使用“供应商稳定性分析”功能,筛选过去1年内更换供应商≥2次的采购商。
锁定目标客户后,进一步分析其主营采购品类,评估自身产品匹配度,并挖掘企业官网、领英、海关单证等公开渠道获取联系方式,启动高效触达。
邮件破冰话术
邮件标题:替代方案:为[客户公司名]节省15%采购成本的[产品名]
Alternative Solution: [Product Name] to Save 15% on Procurement Costs for [Client Company Name].正文附“成本对比表”,涵盖运费、关税、交货周期等关键优化项。
Google地图“扫街术”:1分钟定位百余家实体采购商
工具地址:
http://t.smartsousou.com/w/7D305D
支持批量导出公司名称、网址、邮箱、地址、电话等核心信息,并可查看门店周边商业规模与业态分布。
推荐理由:约70%中小批发商未建独立网站,但普遍在Google地图标注真实经营信息,是高效获客的蓝海渠道。
LinkedIn“绕过限制”:精准定位并添加采购决策人
当目标客户领英主页显示“无法查看”时,可采用以下方式突破访问限制:
操作:使用Google精确搜索
将目标联系人的职位名称(如“Procurement Manager”)加英文双引号进行Google搜索,例如:"Procurement Manager" "ABC Auto Parts"。
搜索结果中常直接呈现其LinkedIn个人主页链接,点击即可访问并发送好友申请。

