👆️关注我👆️
⭐每天分享有侵权风险的跨境热卖品⭐
据美国专利局的最新公开信息,Joey关注到12.30日又有大批美国外观专利产品成功下证,今天再为大家整理了其中21款,有不少产品在跨境电商中较为常见,其中国人卖家注册的外观专利也不少,销售相似商品的跨境卖家可能面临侵权投诉和临时禁令(TRO)的风险,注意规避。
Hat with an auxiliary strap带辅助带的帽子
专利编号:US D1106721
申请日期:2024-09-25
下证日期:2025-12-30
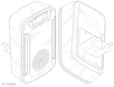
Intelligent watering timer智能浇水定时器
专利编号:US D1107566
申请日期:2024-05-28
下证日期:2025-12-30
Packaging 包装
专利编号:US D1107561
申请日期:2024-07-26
下证日期:2025-12-30
Electric rotating duck toy 电动旋转鸭子玩具
专利编号:US D1107823
申请日期:2024-09-25
下证日期:2025-12-30
Inflatable suit 充气服装
专利编号:US D1107824
申请日期:2024-02-01
下证日期:2025-12-30
Ultrasonic pest repeller 超声波电子驱虫器
专利编号:US D1107857
申请日期:2024-03-24
下证日期:2025-12-30
Pet waterer 宠物饮水机
专利编号:US D1108034
申请日期:2024-11-25
下证日期:2025-12-30
Speaker 扬声器
专利编号:US D1107680
申请日期:2024-10-15
下证日期:2025-12-30
Storage box 储物盒
专利编号:US D1107430
申请日期:2024-06-14
下证日期:2025-12-30
Card wallet with phone stand 带手机支架的卡包
专利编号:US D1107421
申请日期:2024-05-31
下证日期:2025-12-30
Boxing machine 拳击机
专利编号:US D1107846
申请日期:2024-05-20
下证日期:2025-12-30
Food tray 食物托盘
专利编号:US D1107548
申请日期:2024-05-13
下证日期:2025-12-30
Ceiling fan with light 带灯吊扇
专利编号:US D1106721
申请日期:2024-05-18
下证日期:2025-12-30
Multifunctional plier 多功能钳子
专利编号:US D1107524
申请日期:2024-05-08
下证日期:2025-12-30
Dumbbell stand 哑铃架
专利编号:US D1107832
申请日期:2024-12-06
下证日期:2025-12-30
Gamepad 游戏手柄
专利编号:US D1107800
申请日期:2024-03-01
下证日期:2025-12-30
Rocking chair stand 摇椅支架
专利编号:US D1107443
申请日期:2023-11-20
下证日期:2025-12-30
Barrel for a food processing machine 食品加工机用料筒
专利编号:US D1107497
申请日期:2023-04-27
下证日期:2025-12-30
Dish soap dispenser 肥皂分配器
专利编号:US D1107458
申请日期:2023-03-30
下证日期:2025-12-30
Robot toy 机器玩具
专利编号:US D1107822
申请日期:2024-01-14
下证日期:2025-12-30
Cleansing brush 清洁刷
专利编号:US D1107432
申请日期:2024-08-30
下证日期:2025-12-30
注意,用专利编号查询专利时,只需用【D+数字】,前面的US 代表专利生效国,查询的时候需要去掉。
推荐阅读:
提升 Listing 安全感:版权登记,跨境卖家的“反收割”利器!
以上就是今天的最新外观专利产品分享,更多最新专利产品,请持续关注每日发布的动态!
亚马逊精铺卖家上架前建议做产品侵权排查,检测产品是否有被钓鱼律所代理记录,是否涉侵权外观和发明专利,做好风排和定期专利动态跟踪,可规避95%的侵权风险:
👆️关注我👆️
⭐每天分享有侵权风险的跨境热卖品⭐

