网络安全等级保护是我国信息安全保障的一项基本制度,是国家通过制定统一的信息安全等级保护管理规范和技术标准,组织公民、法人和其他组织对信息系统分等级实行安全保护,对等级保护工作的实施进行监督、管理。
2018年11月9号,国家公安部发布条例,只要企业的系统有收集、储存用户信息的,都需要到当地的网安部门进行备案,一旦系统遭到破坏,信息泄露会对公众、国家造成危害。
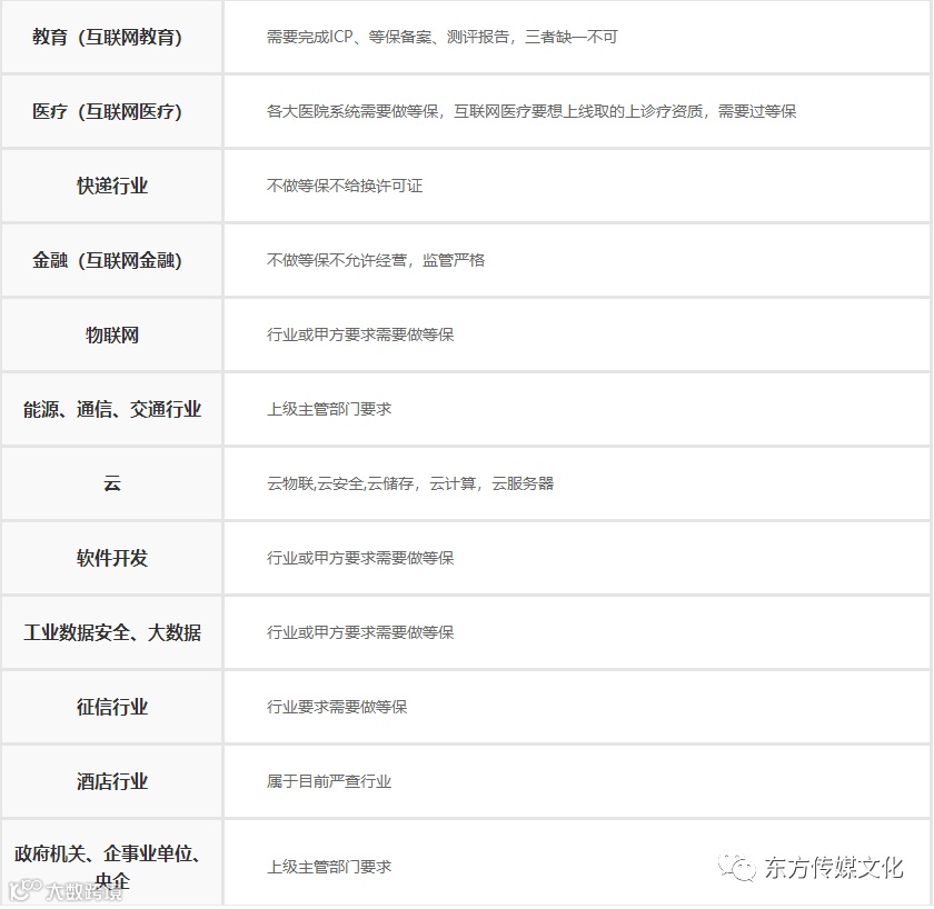
哪些行业涉及办理等级保护?

等级保护要求准则
技术要求
1、物理安全
2、网络安全
3、主机安全
4、应用安全
5、数据安全
管理要求
1、安全管理机构
2、安全管理制度
3、人员安全管理
4、系统建设管理
5、系统运维管理
01丨网络安全等级保护备案的依据
《中华人民共和国计算机信息系统安全保护条例》
《信息安全等级保护管理办法》(公通字[2007]43号)
《信息安全等级保护备案实施细则》(公信安[2007]1360号)

02丨备案材料准备
办理信息系统等级保护备案手续时,应当填写《信息系统安全等级保护备案表》和《信息系统安全等级保护定级报告》,第三级以上信息系统应当同时提供以下材料:
(1)系统拓扑结构及说明;
(2)系统安全组织机构和管理制度;
(3)系统安全保护设施设计实施方案或者改建实施方案;
(4)系统使用的信息安全产品清单及其认证、销售许可证明;
(5)测评后符合系统安全保护等级的技术检测评估报告;
(6)信息系统安全保护等级专家评审意见;
(7)主管部门审核批准信息系统安全保护等级意见。
03丨专家评审与主管部门审核
定级对象的运营、使用单位应组织信息安全专家和业务专家,对初步定级结果形成定级报告的合理性进行评审, 出具专家评审意见;
信息系统运营使用单位有上级行业主管部门的,所确定的信息系统安全保护等级应当报上级行业主管部门审批同意。

04丨备案材料提交及审核
1. 备案材料提交
公安机关网安部门收到备案单位提交的备案材料后,对属于本级公安机关受理范围且备案材料齐全的,应当向备案单位出具《信息系统安全等级保护备案材料接收回执》;备案材料不齐全的,应当场或者在5日内一次性告知其补正内容;对不属于本级公安机关受理范围的,应当书面告知备案单位到有管辖权的管安机关办理。
2. 备案材料审核
经审核符合等级保护要求的 ,公安机关应当自收到备案材料之日起的10个工作日内,将加盖本级公安机关印章(或等级保护专用章)的《备案表》一份反馈备案单位,一份存档,出具由公安部统一监制的《信息系统安全等级保护备案证明》;对不符合等级保护要求的,公安机关网安部门应当在10个工作日内通知备案单位进行整改,并出具《信息系统安全等级保护备案审核结果通知》。

业务介绍:
商务合作:16710818528(微信同号)


建筑资质链接
===========================

