导读:
加大太阳能的开发利用,减少能源领域碳排放,是实现“碳中和”的有效路径。然而太阳能面临着太阳能利用率低,受极端天气破坏等现实问题。因此为了提高太阳能的利用率,基于双轴追日原理,提出了兼顾抗风能力的光伏发电智能追日系统。本文结合流固耦合理论,对其关键部位进行受力分析,构建了兼顾发电量和抗风破坏的优化模型,通过调节电池板的姿态参数,达成卸载风载和发电量最大化间的折衷,减少风力等对电池板的破坏,有效延长机构的寿命。结果表明对比,相关方案通过开发视日姿态调整装置,面初始倾角为45˚放置时较为合理,且跟踪变化的最佳倾角基本集中于初始位置放置时的[0˚, 20˚]之间,所设计的智能追日系统达到发电量最大功率的目的,本研究结论为光伏结构的小型化、自动化发展提供了思路,为光伏功率最大化提供了理论依据。
01
基本信息:
光伏结构风载特性分析与最大功率跟踪优化研究
Research on Wind Load Characteristics of Photovoltaic Structures and Optimization of Maximum Power Tracking
作者:
许江涛, 朱凌轶*, 朱旭杰, 乔一轩, 周静妍:南京工程学院机械工程学院,江苏 南京
关键词:
光伏发电;电器控制;对日跟踪;仿真分析
项目基金:
国家自然基金面上项目(51775260)
江苏省大学生创新创业项目(202211276030Z)
原文链接:
https://doi.org/10.12677/MET.2023.125049
02
内容简介:
在汉斯出版社《机械工程与技术》期刊上,有论文基于双轴视日的基础上,针对太阳能装备受恶劣天气破坏严重的问题,开展了设计研究,基于流固耦合分析构建兼顾发电功率和装置使用寿命的优化模型,为小型光伏装备的开发设计提供新的思路,具有良好的市场前景与应用价值。
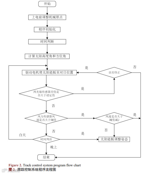
水平转动机械机构通过一对齿轮啮合的方式传动,使太阳能板能在水平方向 360˚的旋转。同时为实现高效传动时避免和减小因加工和装配带来的同轴度误差,电机通过弹性联轴器与转轴连接,而且转轴的轴向采用推力球轴承固定和辅助转动,以达到减小整体机构的摩擦的目的。如图 2 所示,垂直转动机械结构通过电机伸缩杆推拉一组四杆机构传动,使太阳能板能在垂直方向 90˚的旋转,同样为较少摩擦转轴部分采用与水平结构相似的方法利用轴承固定和辅助转动。同时电机的转动通过程序控制,防止转角超限损坏机械结构。

控制部分系统原理如图 2 所示,利用 PLC 控制,在太阳能板两侧同一水平线上放置两个光敏传感器,以减小视日轨迹跟踪时计算的误差,可根据各地情况手动设定传感器二者差值的阈值,当在阈值范围内时,程序根据视日轨迹自动跟踪。当超出阈值时,程序通过传感器修正太阳能板姿态使之回到阈值范围内,之后继续根据视日轨迹跟踪。
03
相关文章:
1.陈彦丰, 苏建徽, 刘鹏. 光伏水泵群控系统的最大功率跟踪及稳定控制[J]. 电气工程, 2017, 5(4): 314-319.
https://doi.org/10.12677/JEE.2017.54038
2.杨冲, 屈克庆. 基于改进爬山法的最大功率跟踪控制研究[J]. 可持续能源, 2013, 3(3): 65-70.
http://dx.doi.org/10.12677/SE.2013.33010
3.刘小荷, 居荣, 荣园园. 基于双向Cuk电路的光伏电池最大功率点追踪系统[J]. 电气工程, 2016, 4(2): 105-116.
http://dx.doi.org/10.12677/JEE.2016.42014
4.梁瑞勋, 周智帆, 陈一通, 曾万存. 应用模糊为基础的方法于太阳能光伏系统之最大功率追踪[J]. 可持续能源, 2013, 3(3): 45-53.
http://dx.doi.org/10.12677/SE.2013.33008
5.安鑫业. 基于寻优法的光伏直流发电功率控制研究[J]. 电力与能源进展, 2021, 9(2): 55-64.
https://doi.org/10.12677/AEPE.2021.92007
所属期刊
-Mechanical Engineering and Technology-
《机械工程与技术》是一本开放获取、关注现代机械工程与技术领域最新进展的国际中文期刊,主要刊登有关机械工程、机械学、机械设计等领域的论文,反映国内外该领域的最新研究动态。本刊支持思想创新、学术创新,倡导科学,繁荣学术,集学术性、思想性为一体,旨在给世界范围内的科学家、学者、科研人员提供一个传播、分享和讨论机械工程与技术领域内不同方向问题与发展的交流平台。
声明:本文转载仅仅是出于传播信息的需要,并不意味着代表本公众号观点或证实其内容的真实性;如其他媒体、网站或个人从本公众号转载使用,须保留本公众号注明的“来源”,并自负版权等法律责任。如本公众号内容不妥,或者有侵权之嫌,请先联系小编删除,万分感谢!


投稿联系:027-86758873
QQ:2194278918
投稿邮箱:2194278918@qq.com
合作联系:service@hanspub.org
点击“阅读原文”,免费下载论文

