喜报
近日,公司获《预应力混凝土箱梁短线匹配节段预制体系》实用新型专利授权,这是本年度公司获得授权的第十一个国家专利。
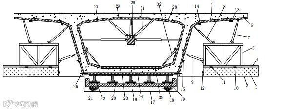
这项实用新型专利通过提供一种预应力混凝土箱梁短线匹配节段预制体系,改变了侧模定位与测量方式,集成了内模与端模系统,减少了作业空间占用,提高了预制作业精度与效率。

下一步,公司将继续深耕科技创新,强化知识产权保护与运用,推进专利成果应用向生产力转化,不断提高公司在工程项目建设领域的技术创新能力,为公司持续的高质量发展提供强有力的保障。
制作 | 殷耀
图片 | 翁明祥
出品 | 总师室

(如本信息所含图片、字体等涉及侵权,敬请联系我们及时删除)

