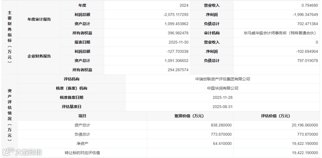
相关信息显示,华润建材科技有限公司转让华润水泥(五指山)有限公司100%股权及转让方对标的企业686万元债权,转让底价20108.19万元。
本项目转让底价为20108.19万元,由股权转让底价及债权转让底价两部分组成。其中标的企业100%股权转让底价为19422.19万元,债权转让底价为686万元。若本项目进入竞价程序并产生溢价,债权价格不变,溢价部分作为标的企业100%股权转让底价的溢价。
财务指标显示,截至2025年11月30日,华润水泥(五指山)有限公司资产总计1,091.306652万元,负债总计797.019078万元。

欢迎加入水泥头条通讯员队伍。详询:18613876628



震惊!中国建材旗下公司违法被曝光!报道称公司逼迫员工违法...


