品牌特色
在冰天雪地里彰显铁军风采
在高山峻岭间打造品质工程
在恶劣环境下寻求创新突破
品牌定位
专注研究“高原高海拔地区施工”关键技术
用创新式工艺,打破固有施工工艺
寻求更优益的施工工艺
品牌目标
用自己的智慧构筑了一条
创新、 绿色、 发展之路
创新突破、敢想敢做,就要有“闯” 的勇气、“抢” 的意识、“争”的劲头、“拼”的行动。青海同赛项目的这一支技术创新尖兵革故鼎新,创新前行。他们深知要把创新精神与青海同赛项目施工实际情况结合起来,谋实事,抓新事,干大事,努力消除束缚发展的障碍,让创新的思维和实践越来越成为项目生产工作的常态。除了桩基钢筋笼定位装置、高寒高海拔地区桥梁方墩一体化养生棚,这个创新团队还根据高原高海拔地区独有的施工条件发明了隧道光面爆破定位装置、桥梁墩柱一体化养生棚、圆墩三段式钢筋笼定位卡具,其中桥梁墩柱一体化养生棚获得了新型专利证书,且针对施工工序交底痛点大力推行可视化技术交底。
1、隧道光面爆破定位装置
创新团队针对传统直接在掌子面测量炮孔位置的方式,传统炮孔定位方式存在测量繁琐,定位不精准的情况。研发了光面爆破炮孔定位器装置,采用此装置原理是运用卡具及定位钢管固定在钢拱架上,通过定位钢管直接进行打孔,易于快速定位及精确定位,可覆盖控制开挖尺寸界线的整个炮孔,该光面爆破炮孔定位器装置可控制周边眼间距及周边眼角度,保证了施工质量、安全可靠、简单实用,适用于所有隧道光面爆破炮孔定位。
2、桥梁墩柱一体化养生棚
方墩和圆墩的养生措施一个都不能落下,面对不同结构的墩柱,这支技术创新尖兵队伍在关键核心技术领域实现密集突破,对圆墩养护采用伸缩装置、方墩养护主要依赖塔吊技术安装到位。
一体化养生棚以混凝土水化热及加热器为主要热量来源、设置聚氨酯泡沫满铺模板、棉被保温层、塑料薄膜隔热层、篷布保护层采取全封闭形式控制热量流失。能够有效保证白天棚内吸收热量且不需要加热器作为热量来源从而节约能耗,达到降本增效,夜晚能保证热量不流失,提高热量利用率。一体化养生棚安装方便、结构简单、易于操作,经济适用特别适合高寒高海拔地区桥梁墩柱施工。
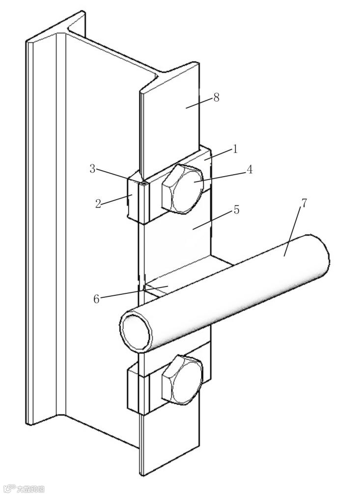
3、圆墩三段式钢筋笼定位卡具
举一反三是青海同赛项目每位创新技术尖兵在创新过程中善用的思维,在桩基钢筋笼定位装置之后,乐于创新的青年们寻求技术突破,研发了圆墩三段式钢筋笼定位卡具。该定位卡具采用Q235材质制作,材质厚=20mm钢板,卡具采用三块拼接式设计,分段间采用螺栓M16×50mm进行连接,钢筋加工时先将定位卡具置于钢筋笼内侧,按2米间距布设,然后将设计加强钢筋置于定位卡具一侧,待钢筋笼主筋与加强钢筋焊接完成后在把螺栓拆掉,分三段取出定位卡具,同时该定位卡具钢筋卡具定型保护层为55mm,设计保护层为52mm,满足JTG F80/1 2017评定标准,同时满足青海省技术服务中心0.9-1.3要求。
该定位卡具具有如下优点:定位保护层精确,满足要求;可重复使用,经济成本低,使用价值高;重量轻、易于操作。
4、可视化技术交底
青海同赛项目创新工作室针对随着项目管理团队的年轻化以及施工一线工人的老龄化,管理团队经验的不足、对相关规范的理解能力有限以及技术交底工作不能有效的落在工人层面等问题,积极开拓思维,采用图文并茂的交底形式,开展可视化技术交底和推广工地可视化技术交底管理制度,让新同事和一线工人更直观地了解到了施工质量和安全生产方面的知识。管理人员和作业人员理解起来通俗易懂,也愿意去看、去接受。
工作室通过隧道初支、桩基施工、墩柱施工三个方面的可视化交底从源头上解决了在交底无针对性、抽象性等现象,通俗易懂的方式传授给作业人员,效果显著,管理人员及工人更容易接受。简明直观、通俗易懂的可视化交底方式直接传递到一线作业人员的眼、耳、口、心,使其能真正看到、说到、做到。
身处高原高海拔地区,青海同赛的青年们在冰天雪地里彰显铁军风采,在高山峻岭间打造品质工程,在恶劣环境下寻求创新突破。发扬艰苦创新、不断探索精神保障建设工程施工顺利进行。在这条联系大西北和大西南,带动西部地区的经济发展,对生态建设、维护民族团结、实施向西开放战略和构建新丝绸之路等发展建设中起到至关重要的作用的重要通道上,四川路桥隧道公司的青年们用自己的智慧构筑了一条创新、绿色、发展之路。
图文| 宋彦磊
编辑| 邓芸
审核| 陈竺 徐晓琴

