
项目名称
中电科技德清华莹电子有限公司增资项目
项目编号
G62019BJ1000094
融资方所在地区
浙江省湖州市
融资方所属行业
软件和信息技术服务业
拟募集资金金额
择优确定
拟募集资金对应持股比例或股份数
不超过30%
拟征集投资方数量
1个
增资后企业股权结构
增资完成后,融资方原股东持股比例不低于70%,新增外部投资方持股比例不超过30%。
募集资金用途
投入融资方主营产品的批量生产能力建设,对现有芯片、器件生产线进行工艺升级和产能提升。
融资企业基本情况
名称:中电科技德清华莹电子有限公司
注册资本:21566.778158万元(人民币)
企业股权结构:
股东名称(前十位) |
出资比例 (%) |
中电国基南方集团有限公司 |
50.318% |
深圳市信维通信股份有限公司 |
19.5372% |
德清国华投资管理合伙企业(普通合伙) |
11.8387% |
浙江德远文化科技有限公司 |
8.0674% |
合肥中电科国元产业投资基金合伙企业(有限合伙) |
7.4596% |
朱怀烈 |
0.9554% |
中国电子科技集团公司第二十六研究所 |
0.9057% |
宋国强 |
0.2433% |
贝伟斌 |
0.2433% |
斯小良 |
0.1438% |
其他股东 |
0.2876% |
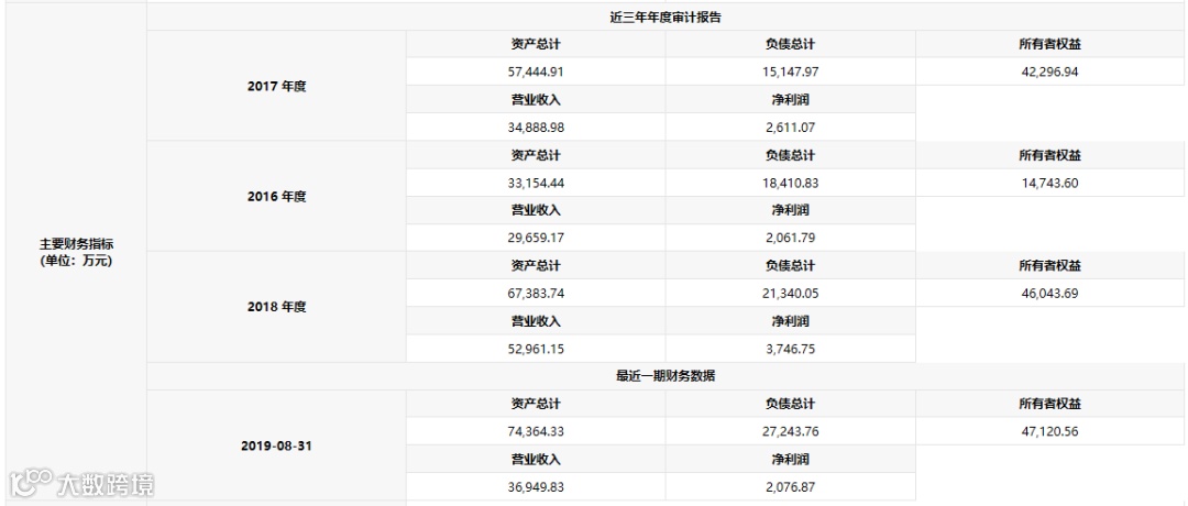
主要财务指标(单位:万元)

项目亮点
融资企业是国家重点扶持高新技术企业,位于国家级湖州莫干山高新技术产业开发区。也是行业内具有材料、器件和模块全产业链竞争优势的企业。融资企业属新材料制造业,其产品线较为丰富,目前其针对市场需求投产的产品具备较强的市场竞争力,应用场景较为广泛,可应用于关乎国计民生的重要领域和市场。且其环形器/隔离器产品已获得华为供货商资格,产品质量具有保障。公司盈利能力呈逐年匀速增长态势,在整体经济下行的压力下净利润增长率趋于稳定,在国家政策鼓励新材料、高端制造领域发展的背景下,融资企业具备较高的战略投资价值。
联系咨询
于经理 010-62679687
李经理 010-62679690
精彩回顾
股权转让 | 北京中天广电通信技术有限公司14%股权
股权转让 | 北京华电天仁电力控制技术有限公司10%股权
股权转让 | 赣州昭日稀土新材料有限公司5%股权


