
美国国务院签证办公室公布了2022年4月的签证公告(Visa Bulletin),关于职业移民和亲属移民排期表详情见以下表格。
1、除EB-3非技术劳工类前进31天外,其他均无变化。
1、除EB-3非技术劳工类前进31天外,其他类别均无变化。
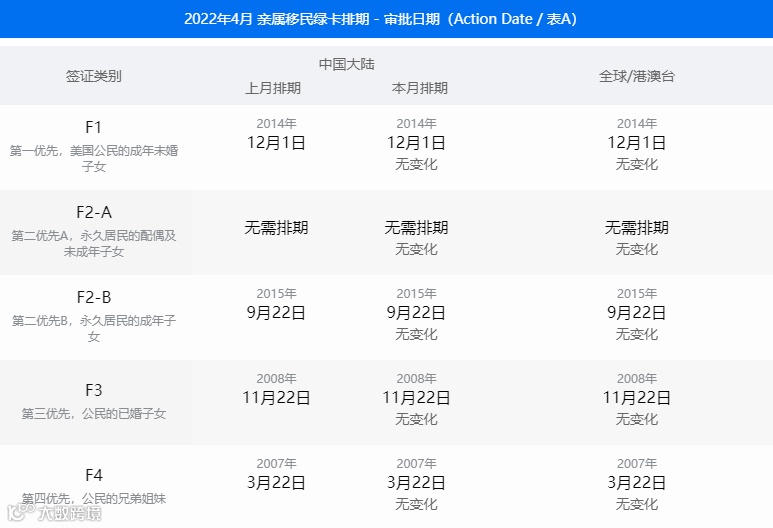
2022年3月亲属移民排期表A中,所有排期均较上月无变化。
2022年3月亲属移民排期表B中,除F2-A无排期外,其他类别均无变化。

免责申明:文章部分图片来源于百度等常用搜索引擎,所有转载的文章、图片、音频视频文件等资料知识产权归该权利人所有,但因技术能力有限无法查得知识产权来源而无法直接与版权人联系授权事宜,若转载图片可能存在引用不当或版权争议因素,请相关权利方及时通知我们,以便我方迅速删除相关图文内容,避免给双方造成不必要的损失。


