

0 引言
在船体分段制造中,结构焊缝多,空间分布复杂,焊接变形通常较大。当变形大于装配公差时,往往采用火工工艺矫形。像这样的焊接与火工连续加热对结构强度的影响,仅靠工程师知识和经验是难于详细分析的。
目前,钢制焊接结构的热弹塑性有限元分析方法已在学术界得到广泛验证,可用来预测焊接结构残余应力和焊接变形。火工加热矫形类似于焊接过程的热力学行为,也可用非线性热弹塑性力学分析。
1 焊接-火工工艺链连续模拟
以船体肋板加强筋T型构件为研究对象。当肋板上焊接多个加强筋时,由于多个T型焊接接头的角变形作用,会导致“瘦瘠”变形,如图1所示。

图1 瘦瘠变形
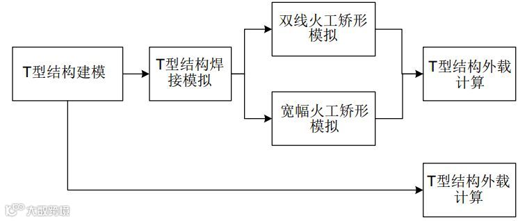
因此在焊后须进行火工矫形。针对该焊接-火工工艺链,开展如图2中流程所示的连续模拟,具体步骤为:
(1)建立T型结构的几何及网格模型,开展T型接头焊接热弹塑性有限元模拟;
(2)提取焊接模拟数据,将其传递至再造型的新网格模型,然后分别开展双线和宽幅两种火工工艺模拟;
(3)提取火工模拟计算数据,将其传递至外载荷强度计算模型,进行强度计算;
(4)为了对比工艺缺陷的影响,利用不含缺陷的理想T型结构模型开展外载强度计算。

图2 T型构件工艺链模拟流程
1.1 T型结构几何及网格模型
图3 所示为肋板上一个T型结构,采用粗细过渡的全六面体网格模型。

(a)几何模型

(b)过渡六面体网格模型

(c)T型接头网格局部放大
图3 T型结构几何及网格模型
1.2 焊接与火工热源模型
本研究焊接与火工热源采用双椭球热源模型,如图4所示。

图4 双椭球热源模型
1.3 火工工艺加热路径建模
图5为船厂常用火工加热方法示意图。针对T型构件角变形,火工加热载荷施加至底板背侧,称为背烧。典型角变形背烧加热路径分别为双线路径和宽幅路径,如局部视图B所示。采用正弦曲线建立宽幅加热模型,其曲线幅值为双线加热路径的两条平行线间离。

图5 火工工艺加热路径
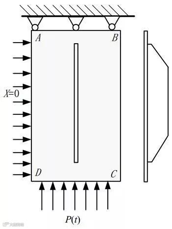
1.4 结构外载建模
在船舶服役过程,船底肋板承载直接的水压力和间接的货物压力。在周期性波浪作用下,其压力随波浪周期呈规律性变化。承载模型如图6所示。

(a)外载模型示意图

(b)载荷曲线P(t)
图6 T型结构外载模型
其中AD与BC边是肋板上提取局部T型结构的分割线,其水平位移为0。在竖直方向上,主要承受船体的各种压力载荷。将固定AB边,以保证计算收敛,而在CD边上施加图6(b)所示的压力P(t)。
2 计算结果讨论
2.1 火工工艺对焊接残余应力影响
“背烧”火工工艺热源直接施加在T型件底板背侧表面,加热温度在600~700℃。在该热载荷作用下,加热路径附近的区域在焊后再次经历热胀冷缩循环过程,必然会影响焊接残余应力分布状态。分别提取宽幅加热与双线火工加热作用下的底板背侧纵向残余应力数据,如图7和图8所示。

(a)纵向残余应力沿距离中心位置分布

(b)纵向残余应力随时间变化
图7 宽幅火工工艺过程纵向残余应力演变历程
由图8可知,双线火工的纵向残余应力演变历程在总体上与宽幅火工相似。但双线加热呈双直线路径,局部热胀冷缩的程度相对剧烈,尤其在火工热源中心附近。

(a)纵向残余应力沿距离中心位置分布

(b)纵向残余应力随时间变化
图8 双线火工工艺过程纵向残余应力演变历程
图9所示为宽幅与双线火工加热过程中底板背侧的米塞斯应力。可清晰地观察到火工加热载荷重绘了底板背侧的应力分布状态。

(a)宽幅加热

(b)双线加热
图9 焊接-火工模拟的米塞斯应力结果
2.2 焊接-火工对结构薄弱点强度影响
焊接-火工工艺链实施后,结构残余应力值较大,且分布集中,将影响结构强度。通过施加图6所示的外载边界条件,对比理想模型与考虑焊接-火工残余应力模型的计算结果。图10所示为15s时的米塞斯应力云纹图。

图10 结构外载应力云纹
如图11为米塞斯应力随载荷时间变化曲线,其中包括不同模型在P点处的米塞斯应力、焊接-双线火工模型米塞斯应力和焊接-宽幅火工模型米塞斯应力。

(a)不同模型在P点处的米塞斯应力

(b)焊接-双线火工模型米塞斯应力

(c)焊接-宽幅火工模型米塞斯应力
图11 米塞斯应力随载荷时间变化曲线
3 结论
基于后处理再造型和有限元数据传递方法,分析了焊接-火工工艺应力演变历程以及焊接-火工对结构薄弱点的影响,得到以下结论:
(1)焊后开展火工工艺时,随着火工热源移动过程,其对焊接纵向残余应力的影响可归结为软松弛-强松弛-挤压-再拉伸-稳定拉伸作用的过程;火工后底板纵向残余应力峰值主要取决于火工工艺加热冷却剧烈程度。
(2)在保证相同能量输入前提下,双线火工工艺后峰值较大,宽幅火工工艺的作用相对“舒缓”。
(3)由几何不连续导致的结构薄弱点区域,其循环应力幅值几乎不受焊接-火工残余应力影响。
(4)除几何不连续区域外,焊接-火工工艺还增加了结构薄弱区域范围,包括焊趾处、火工路径上、火工加热线两端。
(5)双线火工加热路径上的循环应力幅值更大。从结构疲劳性能方面考虑,在“瘦瘠”背烧矫形的工艺决策中,宽幅火工工艺方法更加适宜。
—END—


