![]()
热点资讯▕ 知识分享▕ 热门活动
☂ 订阅汽车部件与材料资讯 ☂
本 期 关 键 词
新能源补贴
如果有什么消息能轻易拨动新能源汽车行业的神经,补贴政策当仁不让排在首位。众所周知,新能源补贴金额连年退坡,2019年补贴将减多少、技术等指标如何调整成为年末热度话题。有消息指出,2019年新能源补贴仅围绕电池一项可能就有三大调整方向,同时业内也对补贴调整有诸多猜想。这些猜想都是确定的吗?汽车之家对此进行了一一求证。
新能源汽车补贴是中央财政安排专项资金,支持开展私人购买新能源汽车补贴试点的政策体系。作为战略性新兴产业,新能源汽车已在财政补贴的支持下经历了两个完整阶段的发展。
2016-2020年是新能源汽车发展的第三阶段,由于每年技术水平和市场发展等变化较大,且财政部预算收紧,新能源补贴政策已进行八次调整。不出意外的话,2019年将迎来第九次补贴调整。
猜想一:是否加强整车安全性的评价指标及放缓能量密度提升要求?
今年发生了多达39起的电动车起火事故,部分业内人士由此认为,补贴政策中的技术指标提升过快,为新能源汽车产业的发展留下了安全隐患,建议放缓对能量密度等技术指标的提升。“动力电池能量密度与补贴挂钩没有问题,但要符合发展规律,技术调整不宜过快过频。”在2018全球未来出行大会上,中科院院士、中国电动汽车百人会执行副理事长欧阳明高认为,中国新能源汽车技术发展长期受补贴政策牵引,对包含能量密度在内技术指标的引导和调整要稳一点。
但据汽车之家从多方求证获悉,新的补贴政策不会放缓对电池能量密度的提升要求,起火车辆多是几年前的产品,主要是产品质量问题,跟政策技术指标关联不大,而且提升能量密度是全球趋势。另一方面,补贴政策不太可能新增整车安全性指标,这属于另一套体系,但整车及动力电池企业应该担起以上责任,保证向市场投放安全、高品质的产品。
猜想二:是否会继续提升纯电动车型续航要求?
续航方面,历年补贴政策对车辆的续航里程的要求一直是逐年提高的,且对低续航车型的补贴逐年减少甚至零补贴,对高续航车型则呈现鼓励态势,这符合国家对新能源汽车扶优扶强的大方向。
猜想三:补贴下调多少?
部分业内从业者表示,明年国补将下调20%-30%,但汽车之家多方咨询后发现,下调幅度目前暂未明确,流传的各种调整比例多为猜测,但整体的退坡幅度会比往年都大。比如车和家创始人及CEO在微博回复网友时表示,明年其品牌车型可拿1.8万元国补,这意味着,李想猜想明年补贴下调22%左右。
猜想四:明年地补是否取消?
取消地补的传言从2017年底就在扩散,主要是为了解决地方保护的问题,清理出公平的竞争环境,促进优胜劣汰。北京在年初时曾一度传出今年就会取消地补,但最终仍然延续,可见市场还存在对地方补贴的依赖性。
但地方补贴取消的趋势愈演愈烈,“明年部分地区的地补很可能取消,但已发布多年规划的地区除外。”长安新能源相关负责人在接受采访时如是表示,业内多位人士也印证了这一观点。据了解,国家层面从去年就有取消地补的精神传达,虽然没有明文规定,但地方省市也会考虑尽量与中央整体决策保持一致。
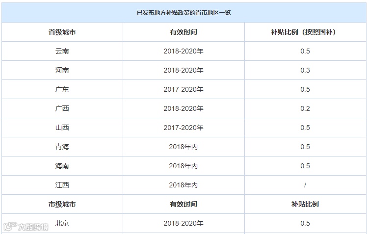
据汽车之家梳理统计,即便2019年部分地区将取消补贴,但明确保留地补的仍有多达15个省市地区。包括北汽新能源相关负责人也表示,由于北京具有示范作用,其明年地补也会大概率地存在。
猜想五:是否增加电池容量衰减度指标?
消费者的日常使用及经常使用快速充电等,都会使电池出现衰减。数据显示,当新能源车的电池容量衰减到70%以下时,需更换电池。有消息指出,工信部提出了新的核查手段,对跑满2万公里的车进行电池容量检测,如果抽检到电池衰减度超过20%,将暂停发放补贴。
但据知情人士介绍,电池容量衰减度检测主要针对运营车辆,很大可能不会列为补贴门槛要求,而是在实际核算和发放中考量进去。也就是说,新车理论上拿多少补贴不受这个检测影响,但最后申领补贴时如果容量不过关就拿不到补贴。
猜想六:是否增加对新能源汽车的监督审查?
新能源汽车推广应用方面的监督审查工作,在2018年已初步发挥作用。据了解,工信部今年9月公示了《2016及2017年新能源车补贴清算的补充结果》,超9000辆新能源汽车未通过核定,其中未接入国家监管平台的车型共4419辆。在工信部5月公布的2017年补贴核准中,因“未接入国家监管平台”被核减产品则达到46796台,占比达68%,上汽、广汽、吉利等主流车企均受到影响。
据了解,新能源汽车国家监管平台于2018年6月21日正式建设完成,并通过工信部等部门验收,不过该平台已于去年2月投入使用。就今年对2016及2017年补贴车辆核准看,新能源汽车国家监管平台正在承担越来越多的功能。“今年申请补贴的车辆有二十多万辆,经过平台两天的自动比对,发现20%的车辆不满足补贴要求,这为财政部直接省了好几亿。”孙逢春表示,新能源汽车国家监管平台未来将承担包含为政府服务等多种功能。
业内专家认为,政府财政补贴作为推动新能源汽车发展的源动力,加速了中国新能源市场发展的同时,也使原本该被淘汰的低端产能及竞争力不强、但拥有生产资质的传统车企通过切入新能源得到了复活,从而使中国新能源产业出现严重的产能过剩问题。
“中国在发展新能源汽车之前,产能过剩的问题已得到基本解决,但由于已倒闭或濒临破产的汽车企业纷纷出来搞新能源汽车,加之新造车势力进入,结构性产能过剩问题又重新出现了。”在中国首届新能源汽车产业峰会上,中国工程院院士、电动车辆国家工程实验室主任孙逢春表达了自己的隐忧。
孙逢春并不是担心新能源汽车产能过剩的个例,中汽协常务副会长董扬曾在2016年表示,“我们重视支持新能源汽车不假,但我们真的应该允许每个人都参与进来吗?”意指过多的生产资质审批不仅持续恶化产能过剩的问题,也增加了参与争夺补贴资金的企业数量,最终形成中国新能源市场大而不强的局面。
“对新能源汽车来说,大企业扩展产能非常容易,但小车企再兴起也没用,等补贴停掉,最后还是会倒闭。”孙逢春院士表示,实力弱小的企业在新能源产业竞争日趋激烈的环境下,难逃被淘汰的命运。此外,孙逢春表示,2018年的技术补贴门槛提高以后,截至目前约有30家整车厂倒闭。对于新能源补贴额度应提高还是降低的问题,多位业内人士表示,鉴于新能源汽车低端产能过剩但高端产能不足,不仅要降低新能源补贴的额度,还要提高技术补贴门槛。
从2009年到现在,中国对新能源汽车的补贴红利已持续十年,但从未来补贴走向看,靠补贴过日子的时代即将终结。未来两年,将是中国新能源汽车进入高技术门槛、高品质发展的关键期,补贴政策的实施将更为细化,事中及事后监管等审核和问责机制也将全面建立。而中国用真金白银培育起来的新能源市场,在股比开放、特斯拉中国建厂等外资品牌加速参与竞争的新环境下,需要中国新能源车企全副武装快速增强实力,防止中国市场被外资品牌收割。
来源:汽车之家

长按
关注我们
汽车部件与材料资讯
最前沿的学术知识分享
最新的行业热点资讯

