
源自 | 工程资源、中建四局
近年来,承插型盘扣式脚手架因承载能力强、外形美观、操作简单、材料损耗低等特点,在现浇法支架施工中得到了迅速的发展,盘扣式支架施工案例越来越多,今天小编给大家整理了新型盘扣式支架搭设施工技术要点,供大家参考。

1、盘扣式支架的优点
①搭建效率高。一人一锤也可快速完成搭建,节省工时和人工成本。
②工地形象“高大上“。盘扣脚手架搭起来,工地摆脱了“脏乱差”。
③材料用量省。不需使用扣件,比传统脚手架节省一半钢材,架体更牢固更稳定。
④施工人员的安全更有保障。盘扣架体的承载力和稳定性更好。
⑤使用寿命长,单次使用的成本比其他脚手架低。盘扣脚手架防水防火防锈,无需维护保养,省钱又省事。

2、盘扣式支架的类型
盘扣支架的型号主要分为:A型、B型两种。
立杆连接方式分为:外套筒连接和内连接棒连接两种形式。
A型:即60系列,立杆Φ60mm×3.2mm,水平杆、斜杆Φ48mm×2.5mm,托座底座Φ48mm,主要用于重型支撑,如桥梁工程中,一般采用内连接。
B型:即48系列,立杆Φ48mm×3.2mm,水平杆、水平斜杆Φ42mm×2.5mm,竖向斜杆Φ33mm×2.3mm,托座底座Φ38mm,主要用于房屋与装饰装修,舞台灯光架等领域, 一般采用外套筒连接,

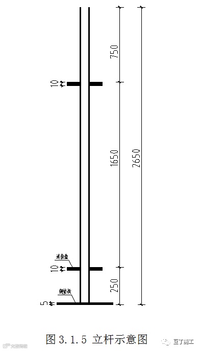
立杆的规格模数一般为500mm,水平杆的规格模数一般为300mm。


3、盘扣式支架的搭设施工
(1)盘扣式脚手架的搭设步骤

第一步:摆放可调底座

第二步:搭设基础架体

第三步:搭设斜杆、铺设平台钢跳板

第四步:搭设梯梁、铺设踏步

第五步:按使用需求接高、报安全验收后规范使用
(2)模板支撑架的施工步骤

第一步,编制专项技术方案,方案应主要包括:
1)高大支模架结构概况,应包含各区域范围、搭设高度、板厚度、梁截面(超跨时说明跨度)、下承层结构情况等。

2)根据选定的支模架形式,列搭设参数表(应按照梁大小、板厚度合理分类并列出搭设参数)。
3)计算书(取各类搭设参数的最大截面验算)。
4)材料进场检验及验收要求。包括:支模架的搭设、拆除施工工艺;支模架连接方式要求;支模架与柱、梁的拉结要求;架体基础做法或下部支模架的保留要求;支模架检查和验收要求;混凝土浇捣要求;支模架监测监控措施。


5)施工管理体系、主要作业班组、各自责任人。架子工等特种作业人员配备情况。
第二步,编制梁支模架搭设参数一览表


第三步,支架搭设,搭设工艺流程如下:

4、盘扣式脚手架搭设要求注意事项
(1)内支撑步距要求:当搭设高度不超过8米时步距不宜超过1.5m,当搭设高度超过8米时步距不得超过1.5m。
(2)独立高支模高度要求:对于长条状的独立高支模架,架体总高度与架体的宽度之比H/B不宜大于3。
(3)可调托座要求:可调托座的丝杆的外露长度严禁超过400mm,托座插入立杆或双槽钢托梁长度不得小于150mm。

(4)可调底座要求:可调底座调节丝杆外露长度不大于300mm,扫地杆最底层水平杆距离地面高度不应大于550mm。
(5)双排外脚手架的连续搭设高度要求:不宜大于24米。
(6)双排外脚手架的架体步距、跨距要求:步距宜取2m,立杆纵距宜取1.5m或1.8m,且不宜大于2.1m,立杆横距宜取0.9m或1.2m。
(7)斜拉杆布置要求:在规范要求的允许搭设高度的24米内,沿架体外侧纵向每5跨每层应设置一根竖向斜拉杆或每5跨间应设置扣件钢管剪刀撑。

(8)对于双排脚手架的每步水平杆层,当无挂钩钢脚手板加强水平层刚度时:应每5跨设置水平斜杆。
(9)关于连墙件要求:连墙件和架体的连接点,至盘扣节点距离不应大于300mm。
5、盘扣式脚手架施工人员规范

(1)盘扣式脚手架支架的搭设和拆除必须由经过培训的专业架子工担任,持证上岗;非特种作业人员不得从事搭设操作。
(2)架子工进入施工现场必须正确戴好安全帽、系好安全带,每个架上作业人员要配备防滑手套、防滑鞋和工具安全钩或袋,作业工具要挂在安全钩上或放入袋内。
(3)作业人员必须严格执行安全技术交底和上岗前的工作安排的规定。
(4)圆盘支架在搭设时,严禁在安全禁区内穿行和进行交叉作业。在圆盘支架使用期间需设置安全通道或进行交叉作业时,必须搭设盘扣式脚手架安全防护网,具体设置要求由有关方协商确定。

(5)严禁作业人员在圆盘支架上奔跑、退行、嬉闹和坐在杆件上,避免发生碰撞、闪失、脱手、滑跌、落物等不安全作业;严禁酒后作业。

(6)盘扣式脚手架必须随施工进度搭设,未搭设完的材料,操作人员在离开作业岗位时,不得留有待固定的杆件和不安全隐患,确保盘扣式脚手架支架的稳定性。不得将圆盘支架作为卸料平台,严禁在圆盘支架上堆放物料。
(7)严格按照施工方案及相应的安全技术规范、标准施工,施工时要控制好立杆的垂直度、横杆的水平度,并确保节点、卸载点位置符合要求。
(8)遇到大雨、雾、雪或6级以上大风时,禁止使用圆盘支架。雨雪停后,需将盘扣式脚手架支架清理干净,方可上架施工。

(9)圆盘支架施工过程中出现事故隐患时,必须立即停止施工,将作业人员撤离,并采取措施排除隐患,直到安全得到保证后方可恢复施工。
(10)做好成品的保护工作,施工人员在现场施工时一定要保护好现场的各种设施,如配电箱、模板、上下管线、钢结构、砌体等永久或临时结构或设施。
(11)下列人员不得从事圆盘支架施工工作:有高血压、心脏病、癫痫病和其他不适应高空作业的疾病人员。
附承插型盘扣式模板支撑架施工技术交底1则
一、工程概况

二、承插型盘扣式钢管支撑架构造
1.承插型盘扣件钢管支撑系统构造







三、承插型盘扣式钢管支架选型
1、立杆选型


2、立杆平面布置
3、承插型盘扣式钢管支架和普通扣件式钢管混用
4、工程质量实测实量影响






四、模板及盘扣支撑排架构造
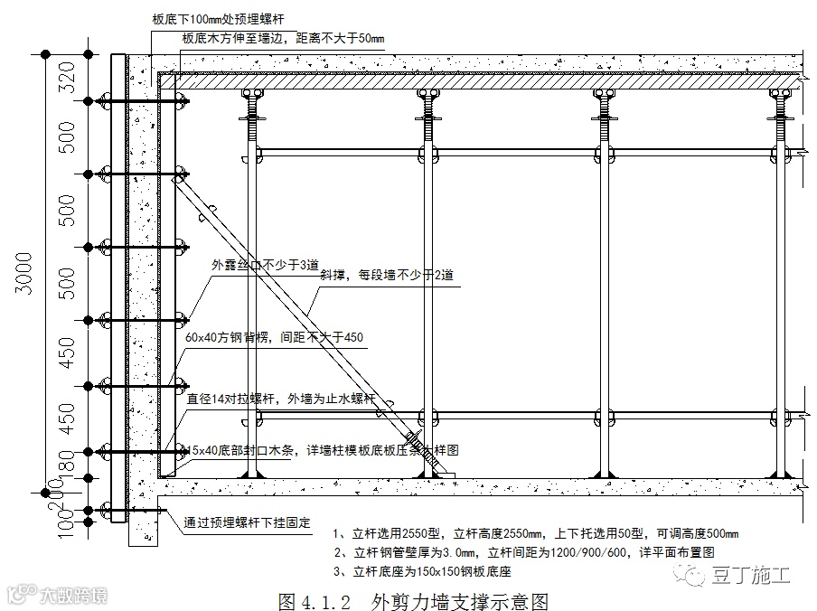
1、剪力墙模板及支撑排架构造





五、顶板模板及支撑排架系统



六、 结构梁模板及支撑系统
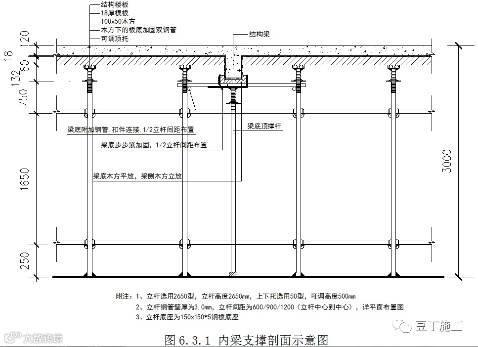
1内梁

2外边梁

七、盘扣式模板支架立杆及水平杆系统图

八、 盘扣式模板支架搭设及拆除流程
1、盘扣式模板支架安装流程

2、模板安装质量控制标准

3、盘扣式模板支架拆除流程

长按下方二维码→识别关注



