
研发人员:
钻井三公司 王德凯、李万友、杜海、赵世行、陈震

1.由于每口井底法兰高度不同,溢流管不能重复使用。
2.平台井施工时,每拖井架一次,由于循环罐位置不变,井口与振动筛之间角度会发生变化,不能调整到最佳角度。
3.泥浆伞承接泥浆的功能差;泥浆导流会造成二次污染;连接部位漏泥浆;拆装泥浆伞的过程繁琐。
4.每口井需要重新割焊导流管,工人劳动强度大,存在触电、着火、坠落等风险。
5.每口井需要割焊表层套管制作溢流管,增加成本。

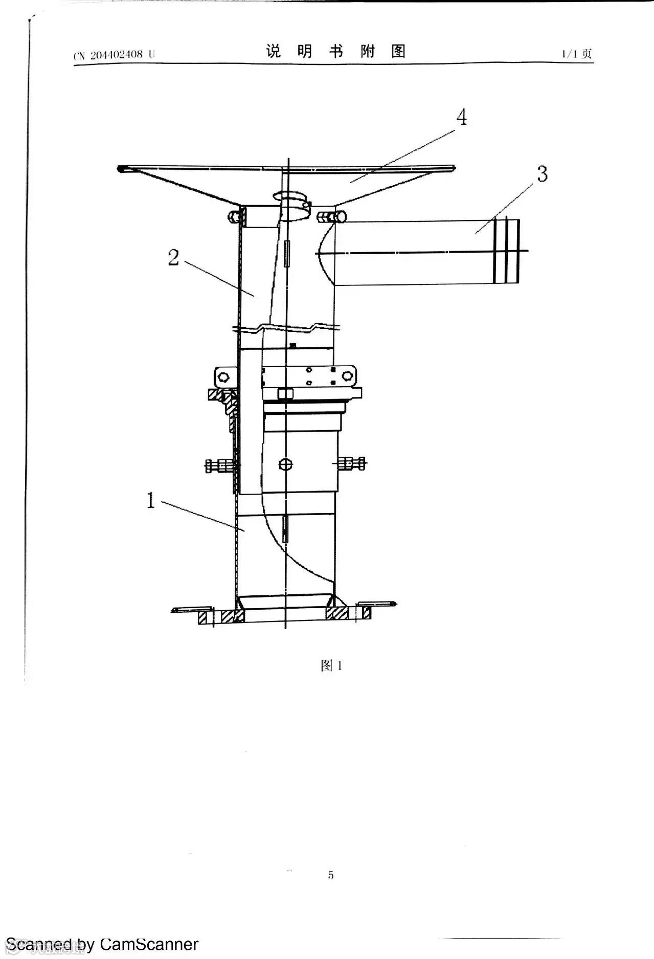
1.伸缩式溢流管装置可以上下伸缩距离为0.5-0.7米,解决因底法兰高度不同,溢流管不能重复使用的问题。
2.伸缩式溢流管装置中间部位采用旋转密封装置,解决了平台井施工时,导流管出液口全方位旋转的问题。
3.伸缩式溢流管装置的泥浆伞在溢流管顶端,与溢流管形成一体,与转盘下平面接触,承接的泥浆直接从导管流出,解决漏泥浆造成环境污染问题。
4.伸缩式溢流管装置由原来的焊接方式转化为分体安装方式,减轻了工人劳动强度,规避了触电、着火、坠落等风险。
5.伸缩式溢流管装置可以重复使用,降低生产成本。
伸缩式溢流管改造已获国家专利。







编辑 制作 ▌程玥玥


