点击蓝字
关注我们
点击蓝字
关注我们
点击蓝字
(1)FLASH芯片 W25Q16BV
芯片引脚图:

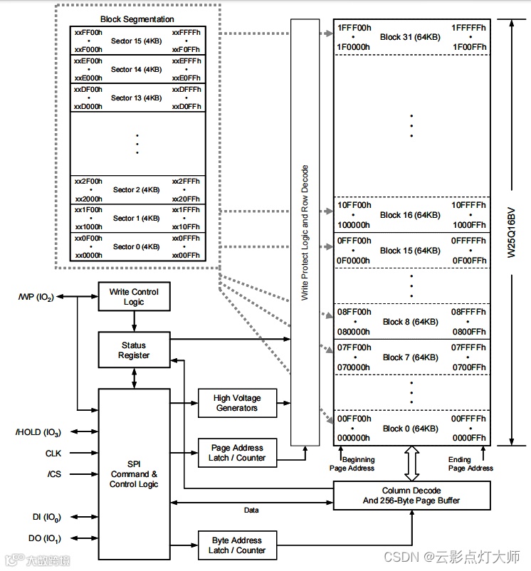
内部结构图:
存储区域总共分成了32块,每块64KB。每块又分成了16个部分,每个部分4KB。方便进行读取和局部操作。

电路设计

(2)SPI协议
SPI的四种模式

这里使用这个模式:
主机和从机在时钟上升沿放入要输出的数据,在时钟下降沿读取要输入的数据。
8个时钟后交换一个字节8位数据(高位在前)。

(3)芯片部分命令
有个输入时序的要求 开始时CS拉低等待(tSLCH要求最小5ns)再开始, 结束时CS拉高等待(tSHSL用100ns )再进行下一次操作。

这个寄存器的第一位数据可以判断操作是否完成(BUSY位)

1.Write Enable(06h)
写使能:开始时CS拉低等待(tSLCH要求最小5ns)再开始,结束时CS拉高等待(tSHSL取100ns )再进行下一次操作。

2.Chip Erase (C7h / 60h)
整片擦除,要判断操作是否完成

3.写指令(02h)
数据写多了会把之前的数据覆盖掉,要判断操作是否完成。

4.读指令(03h)
要判断操作是否完成

(4)代码
1. FPGA做主机的SPI协议

对信号进行同步和提前准备:
100m时钟和clk_cnt配合进行数据的读取和输出(clk_cnt有等于1和0的时候)
spi_clk基于100m时钟输出一个相当于clk_cnt的延时半个周期的时钟,确保输入输出数据稳定。
module spi_drive(
input clk_100m ,
input sys_rst_n ,
//user interface
input spi_start ,//spi开启使能。
input [7:0 ] spi_cmd ,//FLAH操作指令
input [23:0] spi_addr ,//FLASH地址
input [7:0 ] spi_data ,//FLASH写入的数据
input [3:0 ] cmd_cnt ,
output idel_flag_r ,//空闲状态标志的上升沿
output reg w_data_req ,//FLASH写数据请求
output reg [7:0] r_data ,//FLASH读出的数据
output reg erro_flag ,//读出的数据错误标志
//spi interface
output reg spi_cs ,//SPI从机的片选信号,低电平有效。
output reg spi_clk ,//主从机之间的数据同步时钟。
output reg spi_mosi ,//数据引脚,主机输出,从机输入。
input spi_miso //数据引脚,主机输入,从机输出。
);
//状态机
parameter IDLE =4'd0;//空闲状态
parameter WEL =4'd1;//写使能状态
parameter S_ERA =4'd2;//扇区擦除状态
parameter C_ERA =4'd3;//全局擦除
parameter READ =4'd4;//读状态
parameter WRITE =4'd5;//写状态
parameter R_STA_REG =4'd6;
//指令集
parameter WEL_CMD =8'h06;
parameter S_ERA_CMD =8'h20;
parameter C_ERA_CMD =8'hc7;
parameter READ_CMD =8'h03;
parameter WRITE_CMD =8'h02;
parameter R_STA_REG_CMD=8'h05;
//wire define
wire idel_flag;
//reg define
reg[3:0] current_state ;
reg[3:0] next_state ;
reg[7:0 ] data_buffer ;
reg[7:0 ] cmd_buffer ;
reg[7:0 ] sta_reg ;
reg[23:0] addr_buffer ;
reg[31:0] bit_cnt ;
reg clk_cnt ;
reg dely_cnt ;
reg[31:0] dely_state_cnt ;
reg[7:0 ] rd_data_buffer ;
reg spi_clk0 ;
reg stdone ;
reg[7:0 ] data_check ;
reg idel_flag0 ;
reg idel_flag1 ;
//*****************************************************
//** main code
//*****************************************************
//*抓取上升沿
assign idel_flag=(current_state==IDLE)?1:0;//空闲状态标志
assign idel_flag_r=idel_flag0&&(~idel_flag1);//空闲状态标志的上升沿
//*抓取上升沿要用的
always @(posedge clk_100m or negedge sys_rst_n )begin
if(!sys_rst_n)begin
idel_flag0<=1'b1;
idel_flag1<=1'b1;
end
else begin
idel_flag0<=idel_flag;
idel_flag1<=idel_flag0;
end
end
//请求数据 + 把数据放入buffer
always @(posedge clk_100m or negedge sys_rst_n )begin
if(!sys_rst_n)
w_data_req<=1'b0;
else if((bit_cnt+2)%8==0&&bit_cnt>=30&&clk_cnt==0&¤t_state==WRITE) //提前2个时钟周期
w_data_req<=1'b1;
else
w_data_req<=1'b0;
end
always @(posedge clk_100m or negedge sys_rst_n )begin//读出的数据移位寄存
if(!sys_rst_n)
rd_data_buffer<=8'd0;
else if(bit_cnt>=32&&bit_cnt<=2080&&clk_cnt==0&¤t_state==READ)
rd_data_buffer<={rd_data_buffer[6:0],spi_miso};
else
rd_data_buffer<=rd_data_buffer;
end
always @(posedge clk_100m or negedge sys_rst_n )begin//检查读出的数据是否正确
if(!sys_rst_n)
data_check<=8'd0;
else if(bit_cnt%8==0&&bit_cnt>=40&&clk_cnt==1&¤t_state==READ)
data_check<=data_check+1'd1;
else
data_check<=data_check;
end
always @(posedge clk_100m or negedge sys_rst_n )begin//读出的数据
if(!sys_rst_n)
r_data<=8'd0;
else if(bit_cnt%8==0&&bit_cnt>38&&clk_cnt==1&¤t_state==READ)
r_data<=rd_data_buffer;
else
r_data<=r_data;
end
always @(posedge clk_100m or negedge sys_rst_n )begin//读出的数据错误标志
if(!sys_rst_n)
erro_flag<=1'd0;
else if(bit_cnt>32&&bit_cnt<=2080&¤t_state==READ&&cmd_cnt==6)begin
if(data_check!=r_data)
erro_flag<=1'd1;
else
erro_flag<=erro_flag;
end
else
erro_flag<=erro_flag;
end
//*把数据放入buffer 提前一个周期
always @(posedge clk_100m or negedge sys_rst_n )begin
if(!sys_rst_n)
data_buffer<=8'd0;
else if((bit_cnt+1)%8==0&&bit_cnt>30&&clk_cnt==1)//*把数据放入buffer 提前一个周期
data_buffer<=spi_data;
else if(clk_cnt==1&¤t_state==WRITE&&bit_cnt>=32)
data_buffer<={data_buffer[6:0],data_buffer[7]};
else
data_buffer<=data_buffer;
end
//*----位移cmd指令存储器 开始:cs选中且dely未生效,提前了100mhz的周期------------
//使50mhz时数据提前半个周期获得
always @(posedge clk_100m or negedge sys_rst_n )begin
if(!sys_rst_n)
cmd_buffer<=8'd0;
else if(spi_cs==0&&dely_cnt==0)
cmd_buffer<=spi_cmd;
else if(clk_cnt==1&&(current_state==WEL||current_state==S_ERA||current_state==C_ERA
||current_state==READ||current_state==WRITE||current_state==R_STA_REG)&&bit_cnt<8)
cmd_buffer<={cmd_buffer[6:0],1'b1};
else
cmd_buffer<=cmd_buffer;
end
//取出地址每一位
always @(posedge clk_100m or negedge sys_rst_n )begin
if(!sys_rst_n)
addr_buffer<=8'd0;
else if(spi_cs==0&&dely_cnt==0)
addr_buffer<=spi_addr;
else if(clk_cnt==1&&(current_state==READ||current_state==WRITE)&&bit_cnt>=8&&bit_cnt<32)
addr_buffer<={addr_buffer[22:0],addr_buffer[23]};
else
addr_buffer<=addr_buffer;
end
//------------使能后clk_cnt输出50M时钟用于操作信号--------------
always @(posedge clk_100m or negedge sys_rst_n )begin
if(!sys_rst_n)
clk_cnt<=1'd0;
else if(dely_cnt==1)
clk_cnt<=clk_cnt+1'd1;
else
clk_cnt<=1'd0;
end
//*---------cs选中器件后的信号输出的 dely_cnt 可以认为是使能操作------------
always @(posedge clk_100m or negedge sys_rst_n )begin
if(!sys_rst_n)
dely_cnt<=1'd0;
else if(spi_cs==0)begin
if(dely_cnt<1)
dely_cnt<=dely_cnt+1'd1;
else
dely_cnt<=dely_cnt;
end
else
dely_cnt<=1'd0;
end
//*-----------------结束的延时计时器------------------------------------
always @(posedge clk_100m or negedge sys_rst_n )begin
if(!sys_rst_n)
dely_state_cnt<=1'd0;
else if(spi_cs)begin
if(dely_state_cnt<400000000)
dely_state_cnt<=dely_state_cnt+1'd1;
else
dely_state_cnt<=dely_state_cnt;
end
else
dely_state_cnt<=1'd0;
end
//*-------------------------bit读写计数---------------------
always @(posedge clk_100m or negedge sys_rst_n )begin
if(!sys_rst_n)
bit_cnt<=11'd0;
else if(dely_cnt==1)begin
if(clk_cnt==1'b1)
bit_cnt<=bit_cnt+1'd1;
else
bit_cnt<=bit_cnt;
end
else
bit_cnt<=11'd0;
end
状态机 :每个状态该干什么,怎么转移
修改里面的命令和转态就可以移植到其他的地方了。
//三段式状态机
always @(posedge clk_100m or negedge sys_rst_n )begin
if(!sys_rst_n)
current_state<=IDLE;
else
current_state<=next_state;
end
always @(*)begin
case(current_state)
IDLE: begin
if(spi_start&&spi_cmd==WEL_CMD)
next_state=WEL;
else if(spi_start&&spi_cmd==C_ERA_CMD)
next_state=C_ERA;
else if(spi_start&&spi_cmd==S_ERA_CMD)
next_state=S_ERA;
else if(spi_start&&spi_cmd==READ_CMD)
next_state=READ;
else if(spi_start&&spi_cmd==WRITE_CMD)
next_state=WRITE;
else if(spi_start&&spi_cmd==R_STA_REG_CMD)
next_state=R_STA_REG;
else
next_state=IDLE;
end
WEL: begin
if(stdone&&bit_cnt>=8)
next_state=IDLE;
else
next_state=WEL;
end
S_ERA: begin
if(stdone)
next_state=IDLE;
else
next_state=S_ERA;
end
C_ERA: begin
if(stdone)
next_state=IDLE;
else
next_state=C_ERA;
end
READ: begin
if(stdone&&bit_cnt>=8)
next_state=IDLE;
else
next_state=READ;
end
WRITE: begin
if(stdone&&bit_cnt>=8)
next_state=IDLE;
else
next_state=WRITE;
end
R_STA_REG: begin
if(stdone)
next_state=IDLE;
else
next_state=R_STA_REG;
end
default: next_state=IDLE;
endcase
end
always @(posedge clk_100m or negedge sys_rst_n )begin
if(!sys_rst_n) begin
spi_cs<=1'b1;
spi_clk<=1'b0;
spi_clk0<=1'b0;
spi_mosi<=1'b0;
stdone<=1'b0;
end
else begin
case(current_state)
IDLE: begin
spi_cs<=1'b1;
spi_clk<=1'b0;
spi_mosi<=1'b0;
end
WEL: begin
stdone<=1'b0;
spi_cs<=1'b0;
if(dely_cnt==1&&bit_cnt<8) begin
spi_clk0<=~spi_clk0;
spi_clk<=spi_clk0;
spi_mosi<=cmd_buffer[7];
end
else if(bit_cnt==8&&clk_cnt==0)begin
stdone<=1'b1;
spi_clk<=1'b0;
spi_mosi<=1'b0;
end
else if(bit_cnt==8&&clk_cnt==1)begin
spi_cs<=1'b1;
end
end
C_ERA: begin
stdone<=1'b0;
if(dely_state_cnt==10)
spi_cs<=1'b0;
else if(dely_cnt==1&&bit_cnt<8) begin
spi_clk0<=~spi_clk0;
spi_clk<=spi_clk0;
spi_mosi<=cmd_buffer[7];
end
else if(bit_cnt==8&&clk_cnt==0)begin
stdone<=1'b1;
spi_clk<=1'b0;
spi_mosi<=1'b0;
end
else if(bit_cnt==8&&clk_cnt==1)begin
spi_cs<=1'b1;
end
end
S_ERA: begin
stdone<=1'b0;
if(dely_state_cnt==10)
spi_cs<=1'b0;
else if(dely_cnt==1&&bit_cnt<8) begin
spi_clk0<=~spi_clk0;
spi_clk<=spi_clk0;
spi_mosi<=cmd_buffer[7];
end
else if(bit_cnt>=8&&bit_cnt<32&&spi_cs==0)begin
spi_cs<=1'b0;
spi_clk0<=~spi_clk0;
spi_clk<=spi_clk0;
spi_mosi<=addr_buffer[23];
end
else if(bit_cnt==32&&clk_cnt==0) begin
spi_cs<=1'b1;
spi_clk<=1'b0;
spi_mosi<=1'b0;
stdone<=1'b1;
end
end
READ: begin
stdone<=1'b0;
if(dely_state_cnt==10)
spi_cs<=1'b0;
else if(dely_cnt==1&&bit_cnt<8) begin
spi_clk0<=~spi_clk0;
spi_clk<=spi_clk0;
spi_mosi<=cmd_buffer[7];
end
else if(bit_cnt>=8&&bit_cnt<32&&spi_cs==0)begin
spi_clk0<=~spi_clk0;
spi_clk<=spi_clk0;
spi_mosi<=addr_buffer[23];
end
else if(bit_cnt>=32&&bit_cnt<2080)begin
spi_clk0<=~spi_clk0;
spi_clk<=spi_clk0;
spi_mosi<=1'b0;
end
else if(bit_cnt==2080&&clk_cnt==0) begin
spi_clk<=1'b0;
spi_mosi<=1'b0;
stdone<=1'b1;
end
else if(bit_cnt==2080&&clk_cnt==1) begin
spi_cs<=1'b1;
end
end
WRITE: begin
stdone<=1'b0;
if(dely_state_cnt==10)
spi_cs<=1'b0;
else if(dely_cnt==1&&bit_cnt<8) begin
spi_clk0<=~spi_clk0;
spi_clk<=spi_clk0;
spi_mosi<=cmd_buffer[7];
end
else if(bit_cnt>=8&&bit_cnt<32&&spi_cs==0)begin
spi_clk0<=~spi_clk0;
spi_clk<=spi_clk0;
spi_mosi<=addr_buffer[23];
end
else if(bit_cnt>=32&&bit_cnt<2080)begin
spi_clk0<=~spi_clk0;
spi_clk<=spi_clk0;
spi_mosi<=data_buffer[7];
end
else if(bit_cnt==2080&&clk_cnt==0) begin
spi_clk<=1'b0;
spi_mosi<=1'b0;
stdone<=1'b1;
end
else if(bit_cnt==2080&&clk_cnt==1) begin
spi_cs<=1'b1;
end
end
R_STA_REG:begin
stdone<=1'b0;
if(dely_state_cnt==10)
spi_cs<=1'b0;
else if(dely_cnt==1&&bit_cnt<8)begin
spi_clk0<=~spi_clk0;
spi_clk<=spi_clk0;
spi_mosi<=cmd_buffer[7];
end
else if(bit_cnt==8)begin
spi_clk0<=~spi_clk0;
spi_clk<=spi_clk0;
spi_mosi<=1'b0;
end
else if(~spi_miso&&bit_cnt%8==0)begin
spi_clk<=1'b0;
spi_cs<=1'b1;
stdone<=1'b1;
end
else if(~spi_cs&&dely_cnt==1)begin
spi_clk0<=~spi_clk0;
spi_clk<=spi_clk0;
end
end
default: begin
stdone<=1'b0;
spi_cs<=1'b1;
spi_clk<=1'b0;
spi_clk0<=1'b0;
spi_mosi<=1'b0;
end
endcase
end
end
endmodule
2. SPI协议的使用
首先系统开始运行,来几个周期延伸。
spi_start信号只是一个周期脉冲。
idel_flag_r是进入空闲状态的标志位也就是意味着上一步操作完成。
cmd计数指令不断加来切换不同的命令。
spi_cmd 输出命令
module flash_rw(
input sys_clk ,
input sys_rst_n ,
input idel_flag_r ,
input w_data_req ,
output reg[3:0 ] cmd_cnt ,
output reg spi_start ,//spi开启使能。
output reg[7:0 ] spi_cmd ,
output reg[7:0 ] spi_data
);
//指令集
parameter WEL_CMD =16'h06;
parameter S_ERA_CMD =16'h20;
parameter C_ERA_CMD =16'hc7;
parameter READ_CMD =16'h03;
parameter WRITE_CMD =16'h02;
parameter R_STA_REG_CMD=8'h05 ;
//reg define
reg[3:0] flash_start;
//SPI 要写入的数据
always @(posedge sys_clk or negedge sys_rst_n )begin
if(!sys_rst_n)
flash_start<=0;
else if(flash_start<=5)
flash_start<=flash_start+1;
else
flash_start<=flash_start;
end
always @(posedge sys_clk or negedge sys_rst_n )begin
if(!sys_rst_n)
cmd_cnt<=0;
else if(flash_start==4)
spi_start<=1'b1;
else if(idel_flag_r&&cmd_cnt<10)begin
cmd_cnt<=cmd_cnt+1;
spi_start<=1'b1;
end
else begin
cmd_cnt<=cmd_cnt;
spi_start<=1'b0;
end
end
always @(posedge sys_clk or negedge sys_rst_n )begin
if(!sys_rst_n)
spi_data<=8'd0;
else if(w_data_req)
spi_data<=spi_data+1'b1;
else
spi_data<=spi_data;
end
always @(*)begin
case(cmd_cnt)
0:spi_cmd=WEL_CMD;
1:spi_cmd=C_ERA_CMD;
2:spi_cmd=R_STA_REG_CMD;
3:spi_cmd=WEL_CMD;
4:spi_cmd=WRITE_CMD;
5:spi_cmd=R_STA_REG_CMD;
6:spi_cmd=READ_CMD;
7:spi_cmd=WEL_CMD;
8:spi_cmd=S_ERA_CMD;
9:spi_cmd=R_STA_REG_CMD;
10:spi_cmd=READ_CMD;
default:;
endcase
end
endmodule


*免责声明:本文由作者原创或转发。如无意中侵犯了某方的知识产权,告之即删。以上图文来源于网络,如有侵权,请及时联系我们,我们将在24小时内删除。文章内容系作者个人观点,汽车以太网技术研究实验室转载仅为了传达一种不同的观点,不代表汽车以太网技术研究实验室对该观点赞同或支持,如果有任何异议,欢迎联系汽车以太网技术研究实验室。
原文链接:
https://blog.csdn.net/Treasureljc/article/details/134564121

