这是一篇测试你是否达到60分水平的科普贴,请自测,或者转出去黑朋友。里面有个彩蛋,不用谢,应该的!
一、热辐射光源

1、 白炽灯
发光原理:打过铁吗?烤过串吗?烧过电磁炉吗?用过浴霸吗?烧热了也都发光。没错,这哥们发的光,就是靠电流“烧”出来的。

2、反射型白炽灯泡
小知识:
反射型灯泡分为R型和PAR型,R(Reflector)型通常采用内壁涂层,PAR的全称是Parabolic Aluminised Reflector(抛物型铝反射器型)。此外,反射型灯泡常见的还有AR和MR,分别是Aluminium Reflector(铝反射器型)和Multiface Reflector(多面反射器型)。

3、 卤钨灯
发光原理:卤钨循环,一目了然,无须再谈。你再不懂,麻烦自己去买块豆腐,谢谢。


4、反射型卤钨灯
小知识:
我们通常看到的MR11、MR16,PAR20、PAR30、PAR38、PAR56等,后面的数字表征的是光源的直径,以1/8英寸为单位。所以MR16的直径是16*1/8=2英寸≈51mm,所以也有厂家这么表示MR16光源:QR-CBC51。其它类推。

二、气体放电灯

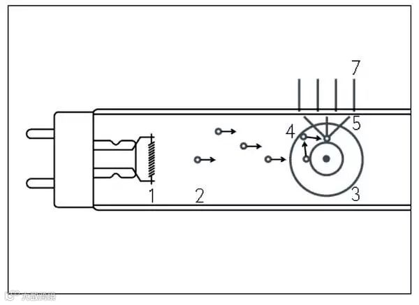
1、直管荧光灯
发光原理(如下图所示):电极(1);释放出电子(2);进入到管中,碰撞到汞原子(3);使得汞原子的电子(4);受到刺激后发生跃迁,释放出紫外辐射(5);经过管壁的荧光粉涂层(6);紫外辐射转化为可见光(7)。

小知识:
跟上面的MR16一样,我们平时说的T5、T8,以前还有T12,后面的数字表征的也是灯管的直径,以1/8英寸为单位。所以T5的直径差不多是16mm,T8的直径是26mm。


2、紧凑型荧光灯
小知识:
紧凑型荧光灯通常用它的U形管的数量或长度来加以标示和区分。
无:singleU(1U)
D:double U(2U)
T:triple U(3U)
L:long U筷子管

3、金卤灯
发光原理:该懂的自然懂,不愿懂的写了你也不懂,想懂的,出门左拐,度娘懂。

4、高压钠灯
发光原理:扔个彩蛋在这里吧,如果实在厌倦度娘,又找不到谷哥,其实有一个搜索引擎超级好用:www.baigoogledu.com,据说这两个网站搜出来的东西80%不一样。一般人我不告诉他。

三、LED

图:LED发光原理(图片来源网络)


【版权信息】本文属于照明微课堂原创文章,除特别注明外,图片资料来自ERCO。转载请严格按照如下格式,违必追责:
作者:eLicht
来源:照明微课堂(微信ID:eLicht)


