搜索
首页
大数快讯
大数活动
服务超市
文章专题
出海平台
流量密码
出海蓝图
产业赛道
物流仓储
跨境支付
选品策略
实操手册
报告
跨企查
百科
导航
知识体系
工具箱
更多
找货源
跨境招聘
DeepSeek
首页
>
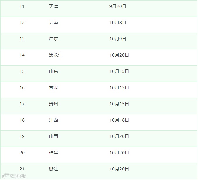
21省啦!第五批国采执标时间已确定
>
0
0
21省啦!第五批国采执标时间已确定
医疗科技创新者
2021-10-12
0
导读:全国公布执标日期的至此已达 21 个省市,汇总如下:福建省9月28日,福建省医保局联合福建省卫健委发布《关于
全国公布执标日期的至此已达 21 个省市,汇总如下:
福建省
9月28日,福建省医保局联合福建省卫健委发布《关于落实第五批国家组织药品集中采购和使用有关工作的通知》,宣布第五批国采61个中
选品
种将于2021年10月20日起执行。
《通知》要求,采购周期内中选药品采购比例原则上应不低于同通用名非中选药品。在确保完成中选药品约定采购量的前提下,对于同通用名非竞争组非中选药品挂网价已调整至对应福建省同通用名中选药品
(含)
以下的,可不受采购比例限制,约定采购量以外的剩余用量,医疗机构可采购其他价格适宜的药品。
中选药品实行零差率销售,在医保目录范围内的以销售价格作为医保支付标准。
同通用名非竞争组除中选药品以外产品实际采购价格低于或等于原最高销售限价的,按实际采购价格实行零差率销售;实际采购价格高于原最高销售限价的,按原最高销售限价销售。
对销售价格高于中选价格的,首年以销售价格下调30%确定医保支付标准,下调后医保支付标准低于中选价格的,以中选价格为医保支付标准;对销售价格不高于中选价格的,以销售价格为医保支付标准。
同通用名竞争组药品,按不超过中选价格确定最高销售限价,并以最高销售限价为医保支付标准。
浙江省
9月28日,浙江省医保局发布《关于执行第五批国家组织药品集中采购中选结果的公告》,宣布自 2021 年 10 月 20 日起开始执行第五批国采中选结果。
药品范围包括第五批国采中选药品,以及根据《关于开展第五批国家组织药品集中采购残缺规格价格联动的通知》要求询价成功的注射用艾司奥美拉唑钠20mg、单硝酸异山梨酯缓释片30mg和50mg、碘克沙醇注射液50ml:16g(I)。
上海
市
9月23日,上海市医保局联合上海市卫健委、药监局发布《关于本市做好第五批国家组织药品集中采购和使用有关工作的通知》中,也明确了执标
时间
是10月20日。
《通知》要求,优先采购和使用中选药品,鼓励非中选药品主动降价。
与中选药品相同通用名
(含剂型)
的原本市中标药品
(或挂网药品)
,如未获中选资格,但
质量
和疗效有保证,且价格适宜的,医疗机构可以在优先采购中选药品的前提下继续采购,原则上数量不得超过中选药品。如出现中选产品供配不及时的情况,酌情阶段性放开对未中选药品的采购数量限制。如未中选的原研药及通过一致性评价仿制药企业主动降价至本市中选价以下的
(含中选价)
,则对应中选药品完成约定采购量后,该未中选药品不受优先采购限制和相关考核影响。医疗机构采购符合上述条件的未中选药品的,视作符合“一品两规”要求。
医疗机构要充分发挥临床药师的作用,加强医疗机构处方审核和处方点评,进一步强化合理用药考核。严格落实按通用名开具处方的要求,在同等条件下优先选择中选药品;相比于与中选药品具有相同或相当活性成分
(特别是化学结构类似)
、同等治疗效果
(包括复方制剂)
、临床可替代的同类药品,在合理用药的基础上,应当优先使用中选药品。对使用中选药品可能导致患者用药调整的情况,医疗机构要强化临床风险评估、预案制定和物资准备,注重加强医师和药师宣传培训,对患者做好解释说明。要兼顾稳定药品供应、稳定临床用药,对中选药品不搞集中扎堆采购,对未中选药品不采取断药停药的“一刀切”做法,原则上同通用名
(含剂型)
未中选药品的配备比例保持在20%左右。
点分享
点收藏
点点赞
点在看
【声明】内容源于网络
0
0
医疗科技创新者
致力于互联网医疗科技开发,发布最新医疗技术和互联网技术信息,基于多年互联网医疗技术开发经验,为全国有志于从事互联网医疗的机构、医院提供全方位技术解决方案。
内容
21
粉丝
0
关注
在线咨询
医疗科技创新者
致力于互联网医疗科技开发,发布最新医疗技术和互联网技术信息,基于多年互联网医疗技术开发经验,为全国有志于从事互联网医疗的机构、医院提供全方位技术解决方案。
总阅读
2
粉丝
0
内容
21
在线咨询
关注