Home键,从初代iPhone诞生之初就沿用至今,它也是iOS设备里最标志性的设计之一。我们每天按下Home键不下数百次,曾经有一段时间频频传出Home键被用户按坏的新闻,这也从另一个侧面反映出Home键的常用性以及重要性。手机厂商在不断改进Home键,那么苹果的(物理)Home键在没有被淘汰的情况下又会怎样发展?今天我们就根据苹果储备的技术,无节操猜想一下。
整合3D Touch的Home键
3D Touch 是苹果在 iPhone 6s 上推出的技术,近日美国专利商标局曝光了关于苹果 Home 键的最新技术专利-压敏指纹输入系统,苹果在专利文件中描述道,通过在 Home 键中加入可检测按压力度的电容传感器,可在 Touch ID 的基础上增加类似 3D Touch 的功能,这意味着在 Home 键上按压力度不同将可实现不同的操作。

3D Touch 最大的特色在于可以分辨用户按压的力度,并将力度分为浅按和深按两个层级,这将为 Home 键增加有别于平面操作的维度。目前针对 Home 键的操作主要有几种,分别是唤醒设备/回到主屏、长按唤醒 Siri、呼出多任务界面、指纹解锁、Apple Pay 以及 Reachability,似乎缺少针对常用应用的操作。三星的 Galaxy S6 就能够为苹果的 Home 键提供很好的参考,用户只需快速双击就能够打开相机应用。
基于 3D Touch 技术的 Home 键,也可以在能够识别按压力度的 Home 键上按下后继续重压将可以实现像启动相机、开启手电筒、打开指定应用这样的快捷功能,这不会与现有的 Home 键单击和多击功能冲突,甚至还有可能与 Touch ID 组合形成其它新的功能。这样做还有一个好处,就是增加 3D Touch 的用户感知度。
手指操作更复杂的Home键
去年 5 月,有一个专利还显示了苹果申请了一项非常有意思的 Home 键技术。该专利技术显示,用户可以通过 iPhone 的指纹传感器来对手机进行导航。苹果在相关文件中指出,他们希望通过丰富 Touch ID 的使用场景来增加 Home 键的功能,这或许是物理 Home 键不会在短期内被苹果淘汰的又一证据。

举例来说,按下或长按 Home 键可以在主屏上打开搜索功能。与此同时,Home 键上的指纹传感器也能够帮助你进入游戏。想象下当你正在玩游戏,需要瞄准目标时,你不必在屏幕上用力压下或拖动,而是可以在 Home 键上转动拇指调整目标,这还可以防止你的手指遮挡住屏幕内容。另外,苹果在专利中还提到了根据指纹朝向来确定 iPhone 锁屏(竖屏或横屏)方向的创意。
通过检测手指的不同朝向又或者是动作,可以为 Home 键带来新的体验。原来 Home 键的作用非常单一,而很显然,苹果一直在尝试让 Home 键进行更多的交互。
自带游戏摇杆的Home键
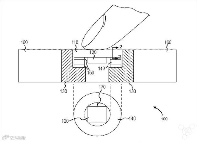
这可能是最酷炫,但又可能是最难以实现的 Home 键了。因为这项技术需要对 Home 键的结构进行比较大的改动,在去年 1 月,专利局曝光了苹果一项名为“多功能输入设备”的专利,简单来说就是在 iOS 设备上的 Home 键轻轻一按,Home 键就会向上稍微凸起,并弹出一个游戏摇杆。

该专利可以让 Home 键分成两个模式,在第一个模式中,Home 键将会保持标准功能。而在第二个模式中,Home 键就会变成一个游戏摇杆,两个模式的切换需要通过压力传感器来完成,在苹果看来,这将会增强游戏玩家的操作乐趣。复原的方法也十分简单,玩家在使用完毕后将摇杆按回原位即可。和功能完备的游戏摇杆比起来,这个操作杆就显得十分简陋了,只允许简单的物理控制操作。但是由于其小而轻的设计,十分适合在越来越薄的 iPad 以及 iPhone 上使用。
结语
尽管目前尚不清楚未来的 Home 键会如何变化,但可以确定的是不甘寂寞的苹果肯定会根据软件(iOS)的功能来对 Home 键作出适当的功能(加减)调整。我们无疑希望苹果能够在机身设计上带给用户更多的惊喜,多年未作出大幅度更改的 Home 键,或者早已在苹果的“动刀”名单上。
从苹果储备的这些专利技术至少可以看出,似乎苹果还没有作出将 Home 键淘汰的决定,毕竟作为 iPhone 的“老臣子”,Home 键也算立下过不少汗马功劳。一旦这些技术变得更加成熟且适合大范围量产,苹果就有可能在未来的设备上采用。或许在未来的某一代 iPhone 上,大家就可能看到今天我们所提到的这些黑科技。用户对于新事物总是非常好奇,功能变得丰富且不复杂的 Home 键,很有可能已经出现在苹果实验室的某部 iPhone 测试样机上。
对于 iOS 设备上的 Home 键,不知道你有什么想说的呢?欢迎各位在下方评论区写出你对于未来 Home 键的看法以及猜想。

