甲方客户说之
指标网如此好用,你不得安排上吗
李工
听说广联达又出新产品了?
哎哟喂,又是个啥玩意,说来听听。
程工
李工
指标网啊,听说过吧!
听说过,但是不知道具体怎么用哈
程工
李工
来来来,我给你掰扯掰扯,就是可以查各类行业项目不同维度指标的网站啊,比如我们现在要做的这个市政公路的项目,指标网上就有类似的项目,可以参考。
李工
图-指标网单项工程指标
李工
你看,他是一个全国性的网站,我们可以先定位云南,再筛选建筑类型,这样就能快速找到我们想要的类似项目了。
他还是真实的项目数据啊!打开来看看详细的数据
程工
李工
对啊!上次广联达的服务老师和我说都是19年以后的项目,工程信息和项目特征描述也很详细,大大的增加了参考的可信度和参考程度
李工
图-指标网单项工程指标
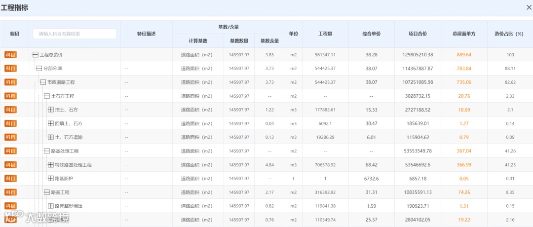
再往下看看说不定我们现在手上的这个项目就能用
程工
李工
工程项目成本指标,包含项目所有的科目及清单,那些新入职的小年轻或者不常见的施工工艺, 就可以参考,能避免漏项等问题造成编制控制价或成本测算时偏差太大
李工
图-指标网单项工程指标
嗯嗯嗯,这个综合单价也是很靠谱的嘛,有没有组价啊!
程工
李工
有的嘛!这个可以看到具体的清单的项目特征描述,下面挂了哪些定额以及工料机,当时的市场价是多少,现在替换一下市场价,也就能得到最新的报价了,指标动态查看,大大的提高了编制控制价的效率和精准度
李工
图-指标网综合单价
这个好,这个好 我得给我那个新徒弟说哈,让他多打开指标网学习哈,不要动不动就张嘴问,自己先通过这种好的平台学习提升哈,老李你快再讲讲还有些啥好用的地方
程工
李工
这个劳务分包也是很拽的啦!我们项目不是正在找劳务分包来报价嘛,他们的报价也不晓得是不是最优惠的了
en~~ 上次那个图书馆的项目就因为劳务分包亏了,这次得注意
程工
李工
你看看人家这个劳务分包价格,所有的专业基本都涵盖了,还有工作内容和计算规则,这个可比我们找的分包报价细致多了,你看这价格也是和当地的差不多啊,难得有这么好的网站,要好好使用
李工
图-指标网劳务分包价
劳务分包的备注也是很实用了,这些说明了就不会扯皮;这个指标网那么好用的产品,我们也得赶紧用起来啊!
程工
李工
安排安排~~~,快把广联达的那个销售给我叫来
指标网咨询热线
叶工:18687426246
文末彩蛋
扫码申请指标网试用,开启新的缘分之旅
来源:国标成本产品线
文案:魏云雪、叶荣樱




