搜索
首页
大数快讯
大数活动
服务超市
文章专题
出海平台
流量密码
出海蓝图
产业赛道
物流仓储
跨境支付
选品策略
实操手册
报告
跨企查
百科
导航
知识体系
工具箱
更多
找货源
跨境招聘
DeepSeek
首页
>
无惧折痕?苹果正开发具有「自愈」显示功能的可折叠iPhone
>
0
0
无惧折痕?苹果正开发具有「自愈」显示功能的可折叠iPhone
威锋网
2020-10-02
1
导读:可折叠iPhone的耐用性是苹果必须考虑的主要因素之一。
点击上方蓝色字体,关注我们
三星已经发布了第二代的可折叠智能手机,即 Galaxy Z Fold 2 和 Galaxy Z Flip。不少人都在等待苹果发布其可折叠 iPhone,但该产品目前离发布还很遥远。不过根据一项新的
专利申请
显示,苹果正在开发一款具有「自愈」显示功能的可折叠 iPhone。
三星首次推出 Galaxy Fold 时,由于铰链的设计缺陷使灰尘进入显示屏下方而被召回。今后,可折叠 iPhone 的耐用性是苹果必须考虑的主要因素之一。
美国
专利
商标
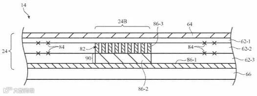
局申请的一项新专利描述了可折叠 iPhone 如何从日常磨损中「自我修复」。苹果可能正在努力提高其耐用性,以防止因折叠周期的加长而损坏显示屏。苹果的新专利描述了如何最大程度地减少潜在损害。该专利标题为「具有柔性显示器覆盖层的电子设备」,描述了「显示器可以包括具有柔性部分的显示器覆盖层」的方式。
除此之外,可折叠 iPhone 显示器的自我修复过程可以通过外部因素(例如施加热量,光线,电流或其它刺激因素)来增强。据说该显示器具有三个部分,包括两个常规面板,一个固定屏幕和一个旋转结构。
如果苹果可折叠手机能用上这个技术的话,相信可以解决铰链折叠过多后留下的折痕问题。
—— 推荐阅读 ——
(商务合作请联系:lin.chen@office.feng.com)
你有
「在看」
吗 ?
【声明】内容源于网络
0
0
威锋网
有趣前沿的科技数码资讯&苹果用户交流社区
内容
2671
粉丝
0
关注
在线咨询
威锋网
有趣前沿的科技数码资讯&苹果用户交流社区
总阅读
707
粉丝
0
内容
2.7k
在线咨询
关注