企业网银黄金积存业务操作指南
开通、交易及查询全流程详解
1. 开通黄金积存业务
主管登录企业网银,依次进入“服务管理—业务管理—开通”,选择“投资理财”项下的“黄金积存”功能进行开通。成功后页面将提示:“您已开通了黄金积存业务网银渠道!”


2. 设置投资理财审批流程
主管进入“服务管理—流程管理”,选择业务类型为“投资理财”,点击“增加流程”。

将操作员从左侧备选框中“添加”至右侧“选定制单员”栏位。

同理完成“选定复核员”设置,最后点击“结束订制”完成流程配置。



3. 黄金积存交易操作
3.1 实时买入
制单员登录企业网银,依次选择“投资理财—贵金属—黄金积存—黄金积存交易—实时买入”,输入购买份额后点击“下一步”。

确认交易信息,选择复核员并输入交易密码,提交后系统显示“制单成功”。

复核员登录后进入“投资理财—贵金属—黄金积存—黄金积存复核”页面。

选择待复核记录,核对买入信息,点击“复核通过”并确认,选择证书后系统提示交易成功。

3.2 实时卖出
制单员进入“投资理财—贵金属—黄金积存—黄金积存交易—实时卖出”,输入卖出份额并点击“下一步”。

确认卖出信息,选择复核员并输入交易密码,提交后系统显示制单成功。

复核员登录后进入“黄金积存复核”页面。

选择对应记录进行复核,确认信息无误后选择“复核通过”,完成交易。

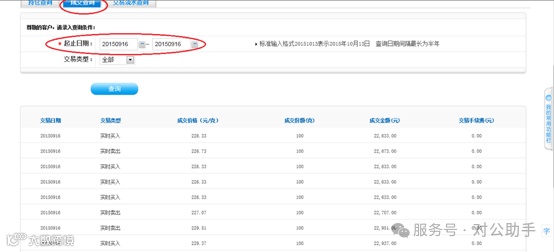
4. 查询功能
持仓查询:可查看当前黄金积存持有份额及市值。

成交查询:查看已完成的买入/卖出交易记录。

交易流水查询:查询全部交易流水明细。


免责声明:本文仅作为知识分享,不构成任何投资建议,对内容的准确性与完整性不做承诺与保障。如涉及侵权,请联系删除。

