重要更新
1、异形编辑优化
工具栏
左侧: 编辑操作按钮(撤销、重做、还原、隐藏点位、隐藏边长、保存数据、删除点)
右侧: 默认封边值输入(始终显示)、封边显示切换按钮
点击”封边”按钮: 切换画布上显示边长或封边值,激活时按钮变绿色,边也会显示封边值
属性栏(点):
①左侧白色面板,当选中控制点时显示。
②X坐标、Y坐标(点击可修改)
属性栏(边):
①左侧白色面板当选中边时显示,替换点属性栏。
②边长显示(只读)
③弧度调节(数值输入框 + 滑块)
④封边值显示(只读)
单击控制点(蓝色圆点): 选中该控制点,控制点变为橙色并放大,左侧显示点属性面板
拖拽控制点: 移动控制点位置,形状实时更新
对齐线显示: 红色虚线对齐辅助线,帮助用户确认对齐状态
单击边线: 选中该边,边线高亮为蓝色,左侧显示边属性面板
双击边线: 在点击位置添加一个新的控制点
拖拽半径,控制边线弧度: 调整边的弧度值,向外拖拽为外凸,向内拖拽为内凹
双击边长数值: 进入编辑模式,可以直接输入边长数值来调整边长
滚轮向上滚动: 放大画布(缩放范围:50%-300%)
滚轮向下滚动: 缩小画布
右键按住拖拽: 拖拽整个画布视图,方便查看大型形状
点击画布空白区域: 取消选中状态
点击保存订单后,即可将异形进行保存

再次查看异形,显示自己设置的异形数据
2、易达装备铰链孔钻
用户故事:【柜门生产工程师】希望有【易达装备对接码】,解决打孔设备扫标签码,就可以识别到铰链孔位置及加工数据的问题
开了铰链钻的参数后,才能选择使用;
1、柜门优化-设置-备注信息新增一个系统选项,易达装备对接码(#取下单格式)为蓝色标识,主要实现我们生成的订单备注信息,直接可以传到云排版,生成二维码;
这个码,我们处理的板件的场景,只有孔的位置取的下单格式;
板件码#订单编号+合同总板件数+当前板件在合同内的id排序+开向对应+成品高+成品宽+铰链孔的位置#
示例(当铰链孔正常):
板件码:我们传过去排版的码,假设为200202-1
当月的第99个订单,合同总板件数为30,当前板件在合同内的id排序为2,
开向是右开(取的算料区的值,当有开向的时候,必须填左开00、右开01、上翻10、下翻11,其他的情况都视为无开向09)
成品高1000.33,成品宽300(截取掉后边的小数点)
铰链孔取的是下单格式映射:(最多只允许7个,空的时候就略过中间的值,有小数点也是截取到后边的小数点)
孔1:300;孔2:400;孔4:200;孔7:500;—-超过4位截断
那么生成的对接码为:
200202-1# 00099 030 002 01 1000 0300 0300 0400 0200 0500 #
示例(当开向为空,但是还是填了铰链孔):
正常拼接孔的位置
200202-1# 00099 030 002 09 1000 0300 0300 0400 0200 0500 #
2、云排版
云排版标签编辑增加 易达装备对接码(#取下单格式)
云排版标签效果
3、分拣/打包
生成的对接码可在分拣打包页面进行搜索板件
2025120300089#0000100300100200005000300040002000500#


3、生产报表添加大板面积和背板面积的数据显示
用户故事:【家具拆单工程师】希望有【排版实际面积】,解决工厂统计实际使用板材面积的问题
云排版后,老板良生产报表增加排版优化面积显示

生产报表-生产单、送货单的小麻雀二维码替换为微信二维码,下面的文字为【微信扫码跟进度,算计件】
、
生产报表-五金送货单,备注输入内容,打印时会换行显示全部内容

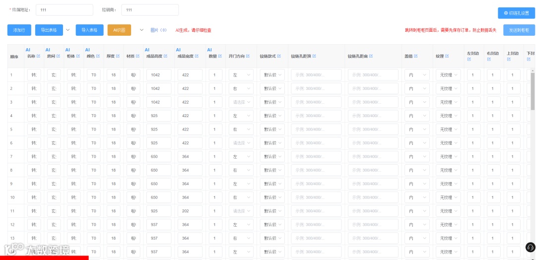
4、 门板下单新增纹理选项
纹理选项分为 无纹理、横纹、竖纹
默认为无纹理,未填写也是无纹理;

下载样表在对应的位置也增加上纹理,并支持导入
5、门板下单发送订单到柜柜的之后,当前页面数据不清空,还可以继续发送
用户故事:【柜门生产工程师】希望门板下单可以连续下单,减少不必要的步骤,提高下单速度


问题优化
1、优化了从材料用料发起的采购单,收款状态为已结清问题
从材料用量发起采购单,将不用再进行二次编辑才能将收款状态变为未付款

2、新增合同码打印的表头
1、报表打印改成报价打印
2、新增一个【流程卡】排头,点击后跳到浏览器打印,跟随系统-打印设置里的纸张自适应大小;
打印内容:只有一个二维码,二维码的信息是小程序扫合同码的一样的信息,小程序二维码;
3、全屋版本所有订单页面增加 总应收金额、子单数量、成品数量 三项统计
4001567080

