“双碳”战略下, 各地近零能耗建筑、零碳建筑、零碳园区等如雨后春笋般破土而出,建筑低碳转型似乎已与 “节能”、“降耗”画上了等号。随着国家对清洁能源的大力推广,建筑节能标准一再提高,建筑运行阶段的碳排放量将迅速减少,隐含碳的比重会日益增加。现在开始对建筑隐含碳进行数据摸底变得尤为重要,势在必行。
然而,做过建筑碳计算的小伙伴,都了解摸清一个建筑的隐含碳到底有多繁复(变态)。无论是手工计算还是软件模拟,都不可避免多到令!人!发!指!的资料整理筛选工作。难道我们只能无奈地接受这种“干到头秃”的现实吗?!
别担心,禾筑“建筑碳排放计算”工具来拯救你的发际线啦!
● 2021年10月禾筑碳排放工具1.0版正式上线,实现了建筑全生命周期碳排放的线上协同填报、自动关联碳排放因子、自动导出报告等基础功能,彻底革新了传统的碳计算工作模式。基础功能实现后,我们发现用户仍需手动录入项目的“建材清单”、“运输清单”等信息,这些工作的技术含量不高且繁琐,占用了大量的宝贵时间和精力。面对实际项目的各种复杂情况,小伙伴们仍时常感到束手无策。
为了进一步提升工具的适用性和同行小伙伴们的体验,我们开启了迭代升级工作……
● 2022年9月碳排放工具完成第一次升级。上线包括扩容碳排放因子库,增加自定义建材管理,生产与运输阶段数据同步,优化结果等功能。

△禾筑建筑碳排放计算工具@AiArch
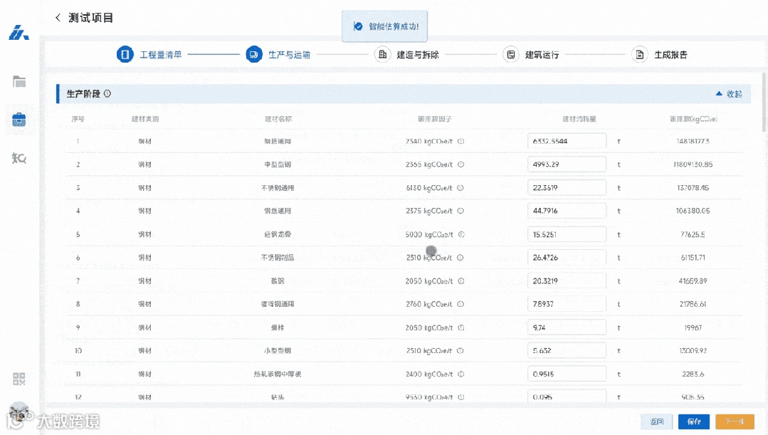
● 2023年1月推出“基于工程量清单的碳计算”模块。作为碳排放计算工具的核心模块之一,它内置了国家工程量定额标准,用户只需上传项目的工程量清单,工具便能自动进行读取、筛选、匹配等一系列解析,一键生成建筑生产、运输、建造和拆除四大阶段的碳排放量。
这次升级显著降低了建筑隐含碳的计算难度,减少了大量低效重复性工作,大幅提升了数据录入效率,上线后受到了业内同行的一致好评!
△砖头般的国家定额《房屋建筑与装饰工程消耗量定额》(TY01-31-2021)
然而,这次迭代升级也并非完美无缺。在导入工程量清单时,数据抓取和匹配方面仍有提升空间。正当我们寻求进一步优化之际,AI大语言模型技术的全面爆发,带来了新的机遇。
● 2024年6月,禾筑建筑“碳排放”工具成功集成了LLM、RAG等前沿技术,通过优化提示词,进一步辅助识别工程量名称,实现了在项目资料读取、筛选、识别方面的突破性进展。

△AI智能识别
● 2024年8月,这项AI技术也被应用于“基于材料清单的碳排放计算”模块,有效解决了“人材机”清单上传和识别的难题。
△人材机清单录入
经过多轮迭代,我们的建筑碳排放工具现已适应了更多的用户使用场景,促进了更多项目深入探究建筑全生命周期的减碳潜力,为建筑行业的低碳转型和实现“双碳”目标提供了强有力的支持。让我们一起迎接建筑行业的绿色未来吧!
欢迎使用禾筑绿建数字平台并留下您的使用感受和建议,同我们一起打造更好用的绿建数字工具吧。
平台网址:https://aiarch.cn/
· THE END ·
官方网址 | https://aiarch.cn/
业务覆盖 | 绿建评价 · 建筑碳排放 · 近零能耗 · 绿建方案快手
联系方式 | AI-ARCH@outlook(邮件)13122326108(微信)
长按二维码,关注禾筑数字微信公众号,欢迎后台留言互动

