在文娱生活愈加丰富的现时今日,在行驶途中,打开车载音响听听喜爱的音乐,或是直接打开收音机收听不同频段的电台节目,都是行车途中不可或缺的部分。如此看来,汽车是否搭载优秀的音响系统,成为了消费者选购车辆时的重要指标。
而如何让汽车拥有出色的音响主机呢?那就得请出本篇文章的主人公——TAS6424-Q1 D类音频放大器来大显神通了。
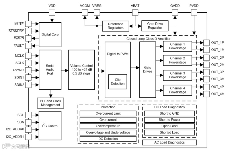
TAS6424-Q1功能介绍
(图源:芯片规格书)

芯片的多晶层概貌图(图源:IPBrain集成电路大数据平台)
这是一款工艺节点为220nm的芯片,而且还有DMOS器件,得选BCD工艺来做,国内对应的生产线基本很少。要做对标的产品,通常可以选择180nm的BCD工艺线。
从上图可以看出,4个通道基本占据了芯片快三分之二的面积,左下角是一块数字电路,对应规格书中的Digital Core模块,通常是某些算法和协议。
主要技术特点
高级负载诊断:无输入时钟运行,AC诊断功能,通过阻抗和相位响应实现高频扬声器检测
轻松满足CISPR 25-L5 EMC规范
符合汽车应用标准
四通道音频输入/输出
电路保护,夹紧测试和过热警告
-
负载诊断:输出开路和短路负载,输出至电池或接地短路,线路输出检测高达6kΩ, 主机独立操作,灵活生产线测试的可编程性
TAS6424-Q1具有内置负载诊断功能,用于检测和诊断误接的输出, 以及检测交流耦合的高频扬声器,以帮助缩短制造过程中的测试时间。该器件提供四个通道,在14.4V电源电压条件下,能够以10% THD+N为4Ω负载提供27W功率,以及以10% THD+N为2Ω负载提供45W功率。
分析细节展示
关于DMOS的原理,平台君从《模拟电路版图的艺术》为大家截取了一段解释,有兴趣的读者可以来围观一下。
环形DMOS的砷和硼注入确定了器件的源区和背栅,封闭的N阱作为其漂移区。与背栅接触的塞状P+区由PSD注入构成,它的外边缘是DMOS注入的内边缘。非本征漏区由包围晶体管的NSD环组成。NMoat和DMOS图形之间的距离决定了漂移区的宽度。在漂移区的上方,多晶硅栅与厚场氧化层交叠形成场释放结构,使得晶体管可以承受大的漏栅压降而无须厚的栅氧化层。
应用速览

