
前一阵特斯拉Cybercab在“WE,ROBOT”发布会上正式亮相,自动驾驶技术再一次映入了大众的视野。据网络宣称:Cybercab已经达到 L5 级别自动驾驶(等级划分标准,见文中)。
据平台君了解,Cybercab的自动驾驶方案是纯视觉的FSD(完全自动驾驶)方案。Cybercab采用摄像头和机器学习技术实现自动驾驶,不依赖雷达或激光雷达等传感器。早期国内采用纯视觉实现自动驾驶的汽车有小鹏汽车、奇瑞、吉利等等,后期采用毫米波雷达、激光雷达、超声波雷达以及摄像头综合方案实现自动驾驶技术的车企越来越多,大家最熟知的小米汽车、问界M9,都是采用这个方案。
从物理特性上考虑,相比于纯视觉方案,激光雷达和毫米波雷达具有较高的分辨率和抗干扰能力,在恶劣天气中,毫米波雷达具有更高的分辨率和强大的穿透能力。纯视觉实现的自动驾驶的方案,对于机器学习技术和人工智能算法要求非常高,敢于采用纯视觉方案实现的车企,对于自己的技术还是比较自信的。俗话说,武功不行,装备来凑。更多的车企用堆叠各种传感器来弥补算法和技术上的不足。
平台君今日推荐的一款芯片为集成式单芯片FMCW收发器AWR1243,是毫米波雷达模组上的一款芯片。
根据国际自动机工程学会(SAE)的标准,自动驾驶级别分类如下表:

AWR1243简介
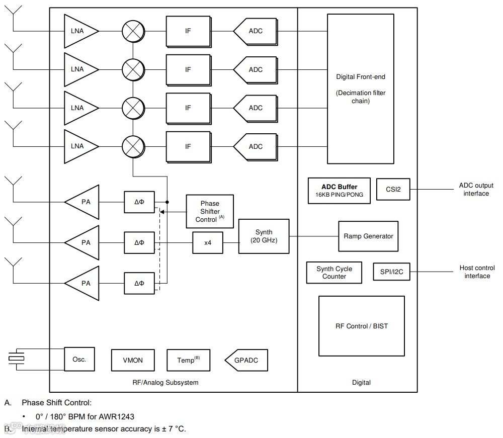
AWR1243器件是一款能够在76至81GHz 频带内运行的集成式单芯片FMCW 收发器。该器件在极小的封装中实现了出色的集成度。AWR1243适用于汽车领域中的低功耗、自监控、超精确雷达系统的理想解决方案。
AWR1243器件是一种自包含FMCW收发器单芯片解决方案,能够简化 76 至 81GHz 频带中的汽车雷达传感器实施。它基于 TI 的低功耗 45nm RFCMOS 工艺构建,从而实现了一个具有内置 PLL 和 ADC 转换器的单片实施3TX、4RX 系统。简单编程模型更改可支持各种传感器实施(近距离、中距离和远距离),并且能够进行动态重新配置,从而实现多模式传感器。

汽车毫米波雷达方案(图源:AWR1243数据手册)

AWR1243芯片封装(图源:AWR1243芯片规格书)

AWR1243芯片概貌图(图源:IPBrain平台)

AWR1243芯片管芯标识(图源:IPBrain平台)

图源:AWR1243数据手册
行业玩家盘点
在毫米波雷达芯片制造领域,部分企业已经建立了显著的市场地位。国际上知名的毫米波雷达芯片制造商包括:
1. 英飞凌(Infineon) :提供多种毫米波雷达芯片解决方案,其产品广泛应用于汽车领域。
2. 恩智浦(NXP) :全球最大的汽车半导体供应商之一,提供包括毫米波雷达在内的多种汽车电子解决方案。
3. 德州仪器(TI) :提供包括毫米波雷达在内的广泛电子产品解决方案,其毫米波雷达芯片集成度高,性能出色。
4. 加特兰微电子(Calterah) :专注于毫米波雷达芯片开发与设计,产品应用于汽车辅助驾驶及自动驾驶领域,以及智能家居、养老监护、安防监控等多个领域。
国内方面,随着技术的发展和市场需求的增长,国产毫米波雷达芯片制造商也在迅速崛起,包括但不限于:
1. 森思泰克 :国内最早量产国产77GHz毫米波雷达的厂商之一,产品已在多个汽车品牌中得到应用。
2. 德赛西威 :在智能驾驶领域积极布局毫米波雷达业务,是国内第一批布局毫米波雷达的企业。
3. 楚航科技 :致力于研发和生产基于77/79GHz毫米波雷达的高级辅助驾驶(ADAS)和自动驾驶系统。
这些公司在毫米波雷达芯片领域具有较强的技术实力和市场影响力,推动着毫米波雷达技术的进步和应用扩展。
此外,平台君也查询到部分厂商毫米波雷达的相关芯片,给各位分享如下:

IPBrain平台已经对上述芯片中的部分型号进行了分析,如果想要了解细节,感兴趣的伙伴们可以与我们联系哦。
如果小伙伴儿们对更多市场上热门的芯片资讯感兴趣,也可以点击“阅读原文”访问IPBrain网站进行查询。
THE END
往期精彩推荐
1.机器人关节精准导航芯片:亚德诺AD2S1210解码器的卓越表现
2.几十元芯片就能守护爱车价值10万元的电池?揭秘亚德诺LTC4364浪涌抑制器芯片
3.上汽荣威都在用的汽车级DC-DC转换器英飞凌TLF35584
4.智能手表核心芯片~手表心率监测芯片AFE4900浅析(附一篇智能手表专利推荐)
5.能否从处理器的大市场分一杯羹,TI电流监控芯片INA233的入局之道

