搜索
首页
大数快讯
大数活动
服务超市
文章专题
出海平台
流量密码
出海蓝图
产业赛道
物流仓储
跨境支付
选品策略
实操手册
报告
跨企查
百科
导航
知识体系
工具箱
更多
找货源
跨境招聘
DeepSeek
首页
>
兴盛优选败局已定
>
0
0
兴盛优选败局已定
新经销
2023-12-02
2
导读:不断撤城自救,兴盛优选偃旗息鼓。
来源
丨零售商业财经
ID
丨
Retail-Finance
作者
丨RBF编辑部
“卷”不动的兴盛优选碍于行业同质化竞争的严峻压力,于近日撤离广东市场,这也是继今年4月关停福建市场业务后的又一无奈之举。
社区电商“老大哥”未老先衰,其业务版图也从巅峰时期的18省份覆盖范围缩减至最新的湖南、湖北、江西3省(官网数据暂未更新),这亦是兴盛优选及芙蓉兴盛便利店最早深耕的区域市场。
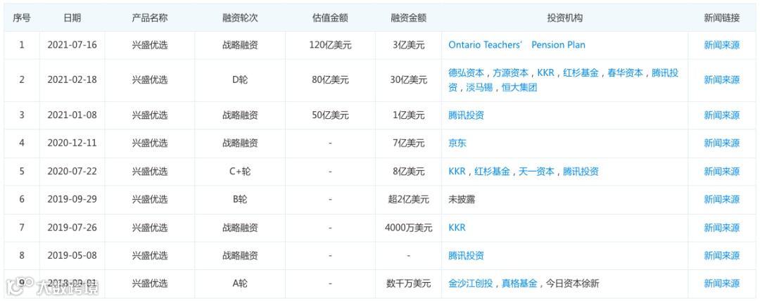
作为入局社区电商较早的玩家之一,兴盛优选在前期吃到了风口红利,此前握有8轮共计超120亿美元的巨额
融资
,也曾风头无两,甚至一度被
美团
、拼多多等大厂视为调研样本。
如今,兴盛优选一再收缩哑火,只能退守湖南“大本营”。在没有流量平台的“高贵”出身与资源加持的情况下,进入折扣时代后,自然也无法与走低价路线的实体零售相抗衡,孤军奋战的兴盛优选颇有偃旗息鼓之势。
相较之下,美团优选重新发力、多多买菜力争全面盈利,
阿里
将“淘菜菜”与“淘鲜达”合并升级成为“淘宝买菜”,而作为兴盛优选投资方的
京东
也重启了“京东拼拼”……
对兴盛优选而言,这场战争从一开始便注定了其“输家”的命运,随着市场份额逐渐被蚕食,其大本营能否固若金汤,还得另说。
零和游戏
残酷的社区电商竞争,其本质就是零和游戏,退出赛道的平台以及频频撤城的玩家也验证了这个道理。
“关城不突然,主要是这些关停城市的日单量太低了,竞争力也不强,所以我们早早就撤了出来。”一位兴盛优选的供应商此前向媒体坦言,“只是省会城市竟然也关停了,有些让人意外。”
不可否认,兴盛优选是社区电商的先行者。在赛道尚不拥挤之际,兴盛优选曾凭借“预售+自提”模式和下沉市场策略脱颖而出,发展势头迅猛。
但优先起步并不直接等于胜利,互联网电商平台孵化下的社区电商后来者居上,用短短不到1年的
时间
完了兴盛优选4年的发展路程。
反观兴盛优选,自身不仅存在数据难以导流、不能变现等问题,进军其他城市后也依旧无法重现其在大本营湖南的成功,如今还得面对日单量大多滑落到美团或多多之后的残酷现实。
笔者认为,社区团购即使作为一种新的零售模式,但依旧无法摆脱基础的零售逻辑。
在下图的三大体系环节中缺一不可,而社区团购中大多数玩家基本前两个体系都无法满足,从而走向了烧光融资、无法继续的大溃败结局。
其中,稳定的消费者体系也是社区团购最为“头疼”的一个环节。
正如人民日报所评的“几捆白菜、几斤水果的流量”,社区团购正是在与线下菜贩抢夺客源。而互联网大厂的运营逻辑仍是以互联网的打法来进行,一上来先高额补贴吸纳流量,烧钱换增长。
然而被低价吸引过来的消费者,远远构不成一个稳定的消费者体系。
但是大厂的烧钱玩法一旦开了个头,接下去就是零和博弈,其他玩家除了跟着补贴别无他法,否则就面临客源被争夺的惨淡现实。
不得不承认,互联网巨头在社区团购赛道的力量,超乎想象得强大。因此,资本实力不够雄厚的玩家便被逐渐淘汰出局。即使是比拼中的幸存者,付出了真金
白银
的代价,也很难得到对等的回报。
作为高频刚需的买菜业务,再扣除平台补贴之后,实际成交的客单价低的可怜。
根据社区团购某内部从业者透露:“虽然平台公布的订单量数据多,但是由于客单价太低,再减去退款部分,实际成交GMV没多少。”
此外,由于互联网过度追求数据至上,导致出现了种种刷单、恶性竞争事件,这些最终公布的GMV数据结果还暗含不少水分。
标准化程度低、时效要求相当高的生鲜品类,仓储配送费的成本也居高不下。重重盘剥之下利润所剩无几,还有一部分被团长抽佣瓜分,因此“亏损”成为平台常态。
细究兴盛优选融资历程不难发现,为其注资的投资机构中,近70%为外资和美元基金。受外部环境不利影响,这些机构近年来都自顾不暇,更无力关注被投企业的生存现状。
如此境况,兴盛优选又有多少资金能源源不断地烧下去呢?
“新三团”的围猎时刻
资本开路,美团优选、多多买菜、淘宝买菜进入“新三团”3.0时代,而他们快速发展的背后遵循着相似的“通关密码”。
首先,“新三团”除了自身平台的导流外,都有品牌的盈余价值作为增流利器。再者,“新三团”都非常重视团长、用户、员工的激励与管理。更重要的是,“新三团”残酷竞争的背后也手持不同的“武功秘籍”。
拼多多旗下“多多买菜”沿袭了拼多多的一贯打法,“一低抵万般!”
多多买菜利用拼多多成熟的商品合作渠道,拉低团长提成佣金,降低终端顾客客单价,加之拼多多本身8.5亿的导流,让多多买菜的单量保持稳定增长。至于陈磊上任后推出的“百亿农研专项”,战略性将拼多多引上“助农之路”。在农业领域的投资和规划,势必增强了多多买菜在社区电商上的竞争筹码。
美团优选(明日达超市),“年轻化”优势渐显,聚焦“送得更快、商品更多、价格更低”的
服务
体验。
美团的客户群体以城镇年轻的职场人群为主体,因此美团优选的用户更偏年轻化,对商品有一定的要求;进入社区团购赛道下沉市场后,一年时间用户量增加1.9亿,这对美团市值和体量都是极其重要的。
背靠美团6.8亿的用户流量,美团优选依赖主体进行客户导流,借助团长和团长的群营销进行促单。截至今年6月底,美团优选累计交易用户数量达4.7亿。
淘宝买菜由“淘菜菜”与“淘鲜达”合并升级而来,这背后支撑着阿里在本地生活、淘宝、农业领域等大手笔规划。
每个平台都有自己的优势和对社区电商的理解和定位,“新三团”3.0时代的竞争,当然也更加精准、更有策略。
淘宝买菜、多多买菜都是对农业进行深远布局的企业,这在长期的竞争中的优势会慢慢体现,兴盛优选和美团优选次之。
淘菜菜、多多买菜和美团优选,其社区电商的定位只是主体战略的一个支点。反观兴盛优选,社区电商可以与企业划等号,在与巨头们的竞争中,迫切希望进入股市成为兴盛优选与之抗衡的“保命之举”,但不断撤城自救,上市恐遥不可及。
兴盛优选吃尽了先行者红利,无奈后来者居上。在兴盛优选眼中,这是个可以做大的生意,可以上市。而在拼美淘眼中,上不上市似乎并不那么重要,这一高频、且能源源不断生产出数据、夯实自身业务壁垒的生意,其本身的价值是生态之争,而非一城一池。
资本游离,兴盛“萎缩”
在社区电商的发展历程中,兴盛优选无疑是开创了社区电商先河的企业,它奠定了社区电商“预售+自提”的模式,击穿破局点打造了第二曲线高速成长,这是兴盛优选带给市场的重要价值。
不同于互联网巨头入场后“流量+变现”模型,兴盛优选的社区电商模式以“精准消费者+精准商品”为组合,在打磨好了与供应商、
物流
商的合作等所有环节后,才在湖南大本营实现了微微盈利。
然而,市场环境风云变幻,在赛道趋冷、资本游离的情况下,社区电商平台发展降速,大部分平台单量开始陷入停滞,在资金、组织、人员等方面,与巨头的拉锯战也让兴盛优选优势殆尽。
从第一名滑至第四名,从“准上市公司”到“能否上市”,兴盛优选已经丢了社区电商的“头把交椅”,并逐步从社区电商“先行者”变成了“追赶者”。
疯狂竞争之下,“资金”成为了关乎兴盛优选生死存亡的最关键一环。
按照公开的媒体报道,2018年至今,兴盛优选累计融资额50亿+美金(不考虑未到账的),约350亿人民币。2021年年中,兴盛优选的市值曾高达120亿美金。
面对竞争日趋激烈的社区电商赛道,无论是美团优选、多多买菜、淘宝买菜、京喜拼拼还是兴盛优选,每个平台都有自己的优势和对社区电商的理解和定位,但各平台都在刀尖上跳舞,负利润的运营策略意味着只有存活下来才拥有进入万亿蓝海市场持续发展的可能,甚至是互联网世界里的“话语权”。
互联网巨头经历了一轮“瘦身期”后,社区电商业务板块也将抛弃传统意义上以规模和效率为主导的粗放式发展模式,转而迈向“高筑墙,广积粮”的集约型发展阶段。
反观兴盛优选,作为社区电商的先行者,在面对消费者投诉售卖多芬沭浴露港版假货等产品
质量
问题,以及鸭爪里吃出苍蝇仅回复退款二个字的冷漠服务时,能否在消费者心目中持续树立“一家有
温度
的社区电商”品牌形象,任重而道远。
值得注意的是,兴盛优选、多多买菜和美团优选背后都能看到腾讯的身影;而淘宝买菜、京喜拼拼的背后则是阿里、京东。换句话说,社区电商赛道的终局很大程度上取决于互联网平台的较量。
兴盛优选现在能做的只有稳住基本盘,守好盈利区域,采用末位淘汰制尽快关停非盈利站点,同时裁撤总部非必要部门及员工,但究竟能否度过行业周期?最终的命运如何?答案已经呼之欲出。
【声明】内容源于网络
0
0
新经销
专注于中国消费品领域新媒体,对通路营销、渠道数字化及新零售领域进行专业研究及媒体报道。
内容
6141
粉丝
0
关注
在线咨询
新经销
专注于中国消费品领域新媒体,对通路营销、渠道数字化及新零售领域进行专业研究及媒体报道。
总阅读
1.9k
粉丝
0
内容
6.1k
在线咨询
关注