
5月26日,“澳门赌王”、港澳知名爱国企业家何鸿燊病逝,享年98岁。在结束其商业生涯近两年后,一代“赌王”谢幕,但他背后的商业帝国仍在继续。
01
说起何鸿燊,很多人首先想到的是他“澳门赌王”的标签,纵横博彩业近50年,是名噪东南亚的传奇企业家,也是澳门举足轻重的人物,曾任第9-11届全国政协常委。央视新闻在报道何鸿燊逝世消息时,评价其为“港澳知名爱国企业家”。
02
何鸿燊生前拥有澳博控股、新濠国际、信德集团、澳门国际机场专营公司、王牌国际、澳门诚兴银行等等多家企业,商业版图涉及地产、运输、酒店、投资、博彩、旅游等,其控制资产最高达5000亿。
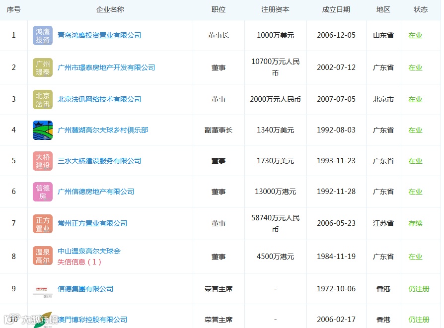
根据企查查显示的数据,何鸿燊名下共有12家企业。
其中,房地产企业数量最多,占12家企业中的一半,注册资本均在5000万元人民币以上。
就在何鸿燊去世的消息传出后,何氏家族股票都有不同程度的涨幅,截至今日下午3点,信德(00242)大涨20%;澳博(00880)涨了7.51%;美高梅(02282)涨了5.5%;新濠(00200)涨了4.5%。
值得一提的是,澳博控股、信德集团和新濠国际可以说是其商业帝国的三大核心企业。
信德集团
信德集团成立于1972年,主营港澳间的客运,兼营饮食及房地产,何鸿燊通过这家公司将港澳间的客运几乎全控制在手。除此之外,信德经营的业务还包括交通运输、酒店休闲、旅游设施管理、投资等业务。目前,该公司的市值为97.72亿港元。
除了澳门和香港的一系列物业,信德集团近年在北京通州和东直门、上海前滩、珠海横琴、广州也有项目。其中,已开业项目包括:信德京汇中心、广州信德商务大厦等商业项目。
新濠国际
耸立于新濠影汇墙外的摩天轮,130米高、8字形,是亚洲最高的摩天轮;
首次推出“蝙蝠侠夜神飞驰”数码动感游戏,游客可亲历蝙蝠侠黑夜冒险之旅;
占地4,000平方米的「Warner Bros. Fun Zone」家庭娱乐中心,可与众多家喻户晓的华纳兄弟及DC漫画中的角色人物一起畅玩;
设有5,000个座位的「新濠影汇综艺馆」,可举行演唱会、舞台剧、体育活动、颁奖典礼及其他活动等。
03
何鸿燊在内地的投资也颇为广泛,除了房地产开发,还涉及车辆配件、高尔夫俱乐部、基础设施建设、物业服务等,而旗下公司大多数都是由其四太太梁安琪担任的法人。这些房地产公司注册资本基本上都上亿,最多的达到了15亿人民币。
在商业项目方面,除了2009年接盘LVMH集团的上海尚嘉中心外,2018年,信德联合郭鹤年家族计划投资12亿美元在内地医疗项目,进军大健康。未来,更有多个商业综合体在内地面市。
✦ “赌王”四太太全盘接手上海尚嘉中心
自2009年以后,何鸿燊旗下澳娱中国集团有限公司拥有尚嘉中心50%的股权就已经全部归入其四太太梁安琪女士名下,LVMH集团提出出售50%股权后,梁安琪女士将LVMH集团拥有的50%股权全部收购,这也意味着目前尚嘉中心归梁安琪女士全资所有。
2019年,尚嘉中心在经营业绩上取得了25%的增速,部分品牌甚至取得业绩翻倍的佳绩。今年4月份销售额已与去年同期持平,商场除餐饮、运动等体验类复苏暂缓外,国际品牌的销售已大幅度赶超去年。其中,LOUIS VUITTON增长25%,DIOR增长强劲高达112%,珠宝品牌以Van Cleef & Arpels为例增长57%,另外,CELINE、FENDI、CHAUMET、BVLGARI、PRADA、Loro Piana等品牌的销售额均大幅超过去年同期水平。
✦ 未来内地多个项目开业
昆明南高铁站综合发展项目:
-
毗邻昆明南高铁站; -
打造成区内医疗及商业中心; -
打造成集酒店、医疗保健、长者护理、会展以及零售商铺于一身的综合发展项目。

图片来源:企业官网
天津南高铁站综合发展项目:
-
毗邻天津南高铁站; -
冀为京津冀地区发展一个总建 筑面积达29.1万平方米的一站式医疗商业中心; -
打造成一个涵盖医疗设施及相关零 售和消闲元素的「康健城」; 提供包括普通科、老年病科、妇科和儿科等医院,并设有安老设施和院舍等。
图片来源:企业官网
上海前滩31:
前滩31位于前滩东南角的31号地块,用地面积2.7万平方米,总建筑面积为21.3万平方米;
项目包括一栋26层写字楼、一处2万平米的商业购物中心、一座200间客房的五星级精品酒店,以及一座大型综合文化演艺中心;
项目已于2018年6月开工,预计2023年整体竣工
图片来源:企业官网
横琴综合发展项目:
-
发展项目位于澳门及横琴边境口岸; -
地盘面积为23834平方米,将兴建面积约42300平方米的办公大楼、45500平方米的零售设施、16700平方米的酒店物业及32800平方米的服务式住宅,以及1311个泊车位; 项目暂定于2020落成。

图片来源:企业官网
-
结合办公室、零售、服务式公寓及酒店的地标性综合项目; -
座落于六幅面向京杭大运河的黄金地块,发展项目将直接与地铁交汇站及公共巴士交汇站相连; -
总楼面面积近900万平方呎; -
预计将于2022年及2023年分期落成。
来源:赢商网综合整理(ID:winshang),如有侵权请联系删除
参考文章:
南方人物周刊《别矣,“赌王”何鸿燊》
网贷天眼《赌王何鸿燊逝世:旗下上市公司股价暴涨 控制资产最高达5000亿》
END

投稿、广告及商务合作,请联系
- 热文推荐 -
中央定调!涉及1.4亿人!住房公积金制度将迎改革!“是否取消”引热议


