导读
不多说,直接看图涨知识。
倒挡锁 👇

定钳盘式制动器工作原理 👇

浮钳盘式制动器动画 👇

行星齿轮机构(低速挡)👇

互锁装置 👇

离合器液压操纵机构的结构及工作原理 👇

领从蹄制动器 👇

摩擦离合器的结构及工作原理 👇
汽车直行时转阀的工作情况 👇

汽车制动系的组成及工作原理 👇

双腔串联式制动主缸工作原理(制动过程) 👇

驻车制动器 👇

转阀的阀芯与阀体的相对位置 👇

自锁装置 👇

前置前驱 👇

前置后驱 👇

前置四驱 👇

鼓刹 👇

碟刹 👇

阿克曼转向设计 👇

缸内直喷发动机做功过程 👇

缸径、冲程、排气量与压缩比 👇

SOHC单凸轮轴引擎 👇

直压式气门 👇

摇臂式气门 👇

爆震 👇

扭力转换器 👇

差速器 👇

离合器 👇

避震器对于抑制弹簧谈跳的效果 👇

阻尼 👇

发动机 👇

进气系统 👇

火花塞 👇

正时系统 👇

燃油 👇

冷却系统 👇

排气系统 👇

直列式发动机——它的汽缸肩并肩地排成一排,L4发动机 👇

水平对置式发动机——汽缸排列在发动机相对的两个平面上 👇

涡轮增压发动机 👇

变压缩比发动机 👇

V型发动机——汽缸排列在成一定角度的两个平面上,V6发动机 👇

汽车换挡 👇

差速锁 👇

转子发动机 👇

涡轮式发动机工作原理图解 👇

缸内直喷发动机做功过程 👇

四冲程发动机做功过程 👇

复杂版 👇



二程发动机--奎西发动机 👇

二冲程发动机 👇

四冲程发动机 👇

CVT无级变速器 👇

双离合变速器 👇

离合器


曲柄连杆机构发动机 👇

变速箱工作原理 👇

阿克曼转向设计 👇

差速器工作原理 👇

行星齿轮系统 👇

轮对检修就是这样子 👇

电导体和磁场的相对运动会产生电流,发电机 👇

直流电动机 👇

曲轴运动 👇

发动机机油冲洗机 👇

单相感应电动机 👇

量子磁电机 👇

单相感应电动机 👇

步进电机的工作原理 👇

平衡电机 👇

永磁电机 👇

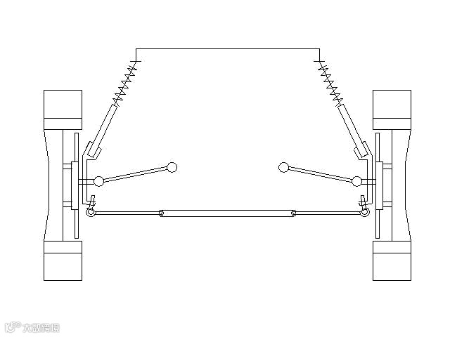
汽车悬挂的工作图 👇

-End-
更多精彩内容推荐阅读:
来源:技成培训




