温州浩瑞科技有限公司诚招web前端开发工程师、产品经理、测试工程师、JAVA开发工程师、云供应链运营专员、市场营销专员。待遇从优,公司社保福利健全,有意者联系万先生:17767372238(微信同号)、0577-61318188。
钻头大家经常用,但是你全面解析过它吗?它每个部位都叫什么名字?有什么特点?坏了怎么办?有毛刺怎么办?现在我全给你整理好了,拿走吧~
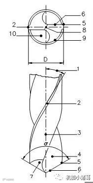
全方位解剖钻头
①螺旋角γ:不同型号角度不同,一般10-40°。
②刃带:主要起导向和挤压的作用。
③刀背:介于刃带与槽之间的部位,但比刃带低,减小且切削力(摩擦力)。
④排屑槽表面:有时是前刀面,切屑流经的面。
⑤钻尖角:刃带与切削刃的交点。
⑥主切削刃:两个主切削刃的夹角为顶角б,真正的切削部位。
⑦后刀面:形成后角α的面。
⑧横刃:连接两个切削楔的部分,它承担50%的切削力(轴向)。
⑨刀背间隙:减少钻头和工件之间的摩擦力。
⑩排屑槽:较大空间,利于排屑。
通过减小钻尖角使钻尖顶住工件的宽度和高度进行改善.
较小的钻尖角118°
1、径向分力,径向稳定性差。
2、轴向力小。
3、非延展性材料,减小崩碎。
较大的钻尖角135°-140°
1、轴向分离大,径向稳定性好。
2、更大的进给能力。
3、软粘性材料,减小飞边。
4、孔的圆度,直径公差和直线度更好。
周边倒角式钻尖
1、减小崩碎。
2、具有大钻尖角钻头的优点。
钻尖磨损
原因:
1.工件在钻头钻入力作用下工件会向下移动,钻头钻通后弹回.
2.机床刚性不足.
3.钻头材料不够结实.
4.钻头跳动太大.
5.夹持刚性不够,钻头滑动.
措施:
1.降低切削速度.
2.增加进给量
3.调整冷却方向(内冷)
4.增加一倒角
5.检查并调整好钻头的同轴度.
6.检查后角是否合理.
崩刃、破损
原因:
1.钻头的安装振摆,在一个切削刃上的冲击过大造成的。
2.工件的夹紧刚性低,在钻孔切出时发生。
3.进给量过大。
4.切削速度过高。
措施:
1.安装振摆调整为0.02mm以下,使钻头的两个刃在平衡的条件下进行钻削加工。
2.降低进给量,减小钻头切出时的冲击。
3.如果是可转位钻头,更换刀片材质。
积削瘤
原因:
1.切削材料与工件材料之间的化学反应引起的(含碳量较高的低碳钢)
措施:
1.改善润滑剂,增加油或添加剂含量.
2.提高切削速度,降低进给率减少接触时间.
3.如果钻削铝材,可使用表面抛光无涂层的钻头.
断刀
原因:
1.钻头螺旋槽被切屑堵住,没有及时将切削排出.
2.孔快钻透 (钻穿)时,没有减小进给量或变机动为手动进给.
3.钻黄铜一类软金属时,钻头后角太大,前角又没修磨,至使钻头自动旋进.
4.钻刃修磨过于锋利,产生崩刃现象,而没能迅速退刀.
措施:
1.缩短更换刀具的周期.
2.完善安装固定,比如增加支撑面积,增大夹持力.
3.检查主轴轴承和滑动槽.
4.使用高精度刀柄,如液压刀柄.
5.使用韧性更强的材料.
其他钻头常见问题,排屑不好……钻尖磨损快……孔偏……折断……大家多多留言发表看法。
End
来源:机加小诸葛





