快消品企业的数字化转型绝非简单的技术堆砌,而是一场从底层商业逻辑到前端用户触达的全链路重构,旨在动态捕捉消费升级与市场需求的新机遇。
秦皇岛市悦欣商贸有限公司,于2011年在河北省注册成立,主营行业为批发和零售业,服务领域为许可经营项目:预包装食品、散装食品批发,主营品牌:好丽友、双汇、豪士等共100多个品牌产品。
1、物流配送效率慢
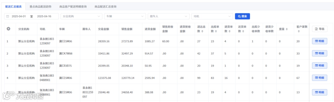
因信息不同步导致错配货物,需要二次调货或紧急更换配送方案,致使配送错误率高、配送效率慢。
2、财务收款不方便
业务员线下汇总纸质订单、发货单与客户签收单,财务需3-5天人工核对后才能发起收款,流程繁琐、效率低下。
3、生产日期无法启用
由于库存数据不准确,记录的效期信息与实际货架商品存在显著差异,导致生产日期管理功能无法投入使用。
4、业务员日报管理差
业务员通过微信发送碎片化日报,管理层需汇总后才能进行分析,信息滞后。访店记录存在“虚假打卡”(定位签到后未实际进店)。
管家婆分销ERP V3+管家婆简为快消,打通数据孤岛,实现从孤立运营到全链路协同的质变,让数据流驱动商流、物流、资金流的高效整合。
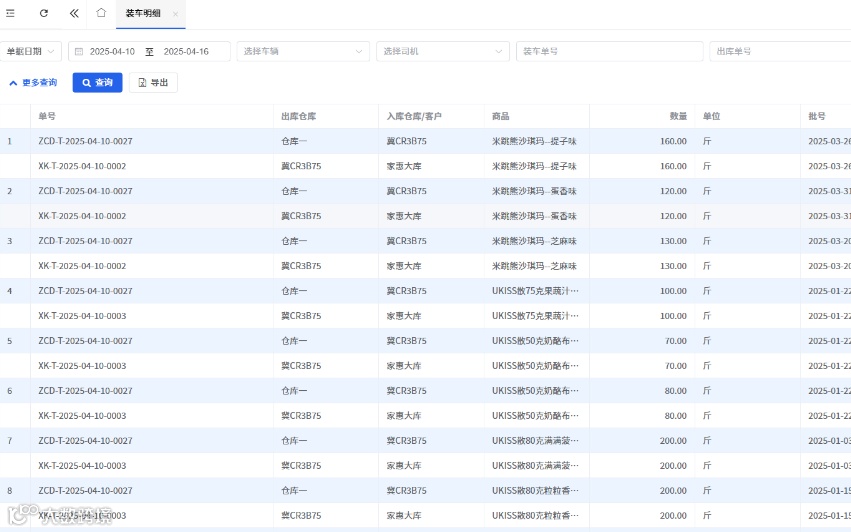
司机移动终端与系统实时数据同步,确保库存信息实时更新,司机扫描商品条码自动比对系统数据,完成装车检验;库管人员通过移动端复核装车清单,装车准确率提升,并且单次核对时间缩短。
财务人员核对银行流水与应收单据,在后台勾选确认单据,批量完成电子收款指令,实现一键高效收款,并实时更新应收账款台账,不仅单笔收款处理时间缩短,而且人工核对工作量减少。
通过简为快消系统中的效期管理功能,实现从入库扫描、库内管理到出库核验的全流程生产日期数字化追踪,杜绝记录误差导致的日期管理失效,确保库存数据实时准确。
构建“计划-执行-记录-分析”的拜访闭环管理体系,实时掌握一线业务人员的每日客户触点与工作成果。
转载仅作信息分享之用,如有侵权,请联系删除
END

