由广西泰之星信息科技有限公司(以下简称泰之星)提出并主导编制的《实验室废物处理信息化管理规范》(T/GXSES 0001—2023)、《危险废物全流程监控与信息化管理规范》(T/GXSES 0002—2023)和《中小微企业危险废物收集转运及信息化管理规范》(T/GXSES 581—2023)三项团体标准通过前期调研、立项、起草、广泛征求行业意见,请专家组进行评审论证,2023年8月21日已全部正式发布并实施。
△ 团体标准调研、立项、评审相关照片
这三项团体标准的发布实施,对于规范实验室废物处理、危险废物全流程监控与信息化管理以及中小微企业危险废物收集转运及信息化管理具有重要意义。它们将有助于提高相关行业的环保水平,保障生态环境安全。
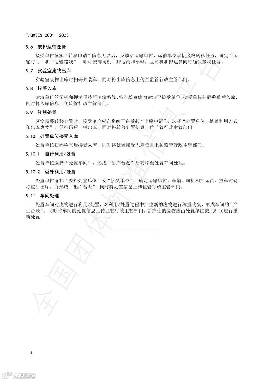
《实验室废物处理信息化管理规范》主要针对实验室废物的分类、收集、储存、运输和处置等环节,提出了信息化管理的要求和方法。通过建立实验室废物处理信息管理系统,实现对实验室废物全过程的实时监控,提高实验室废物处理的安全性和效率。
△ 左右滑动可查看更多图片
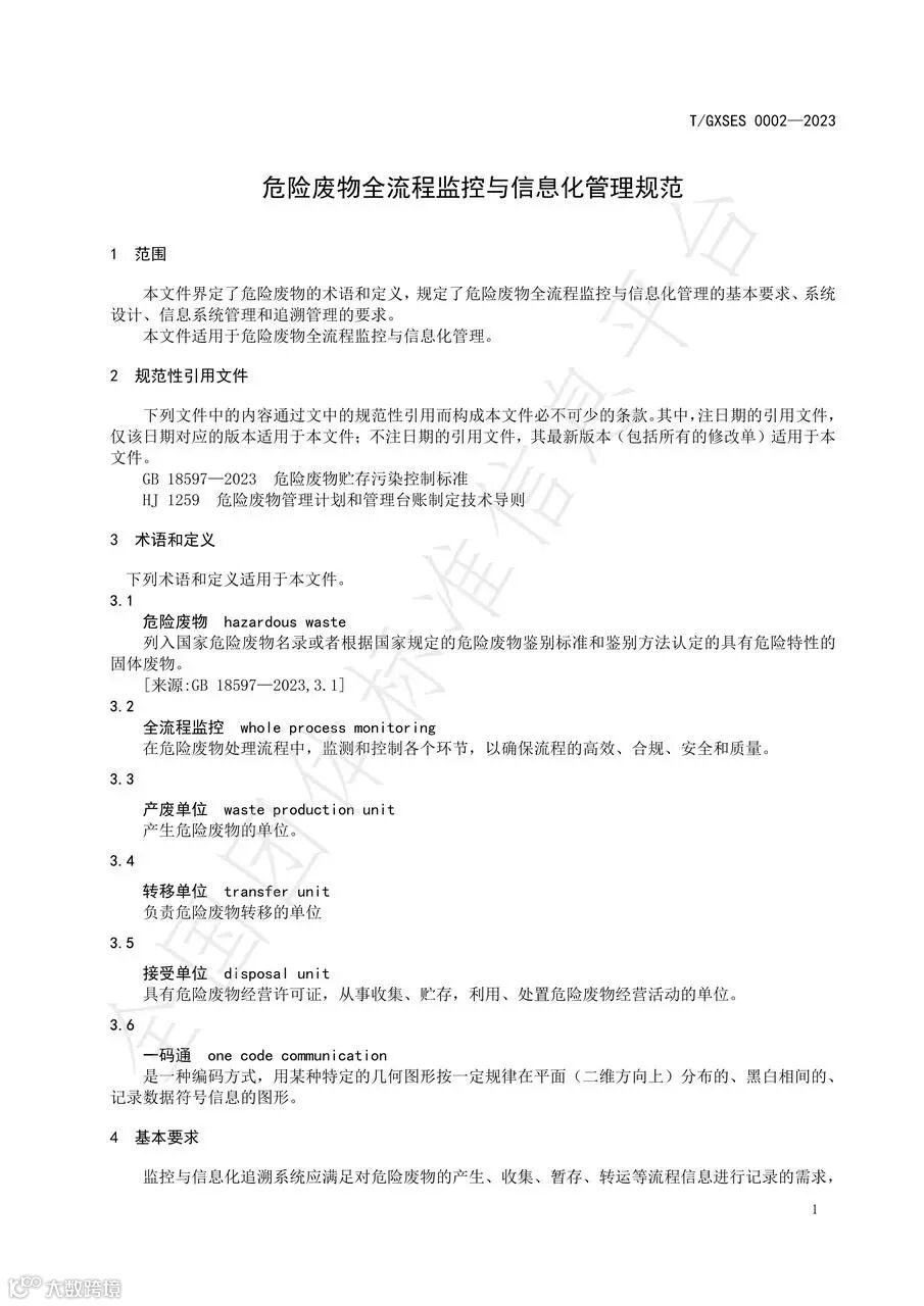
《危险废物全流程监控与信息化管理规范》则涵盖了危险废物从识别、分类、收集、储存、运输到处置的全过程。该标准提出了利用物联网、大数据和人工智能等技术手段,实现对危险废物全流程的实时监控和管理,确保危险废物环境安全。
△ 左右滑动可查看更多图片
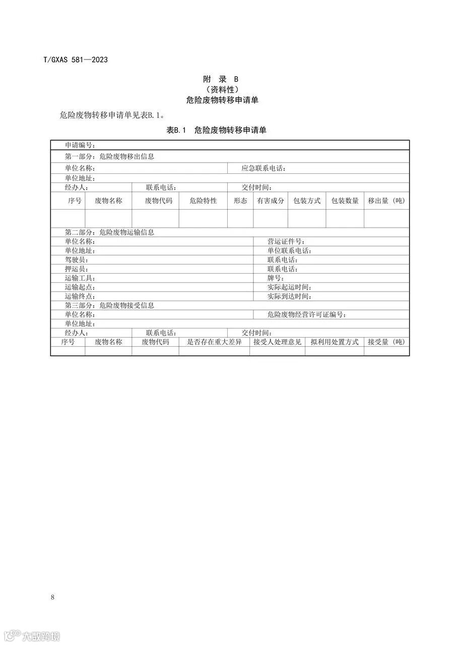
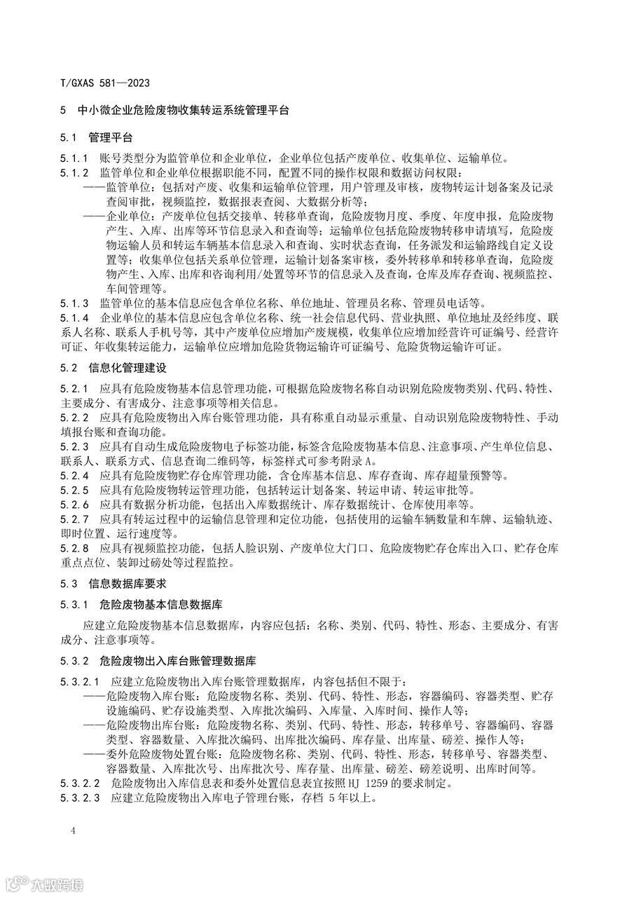
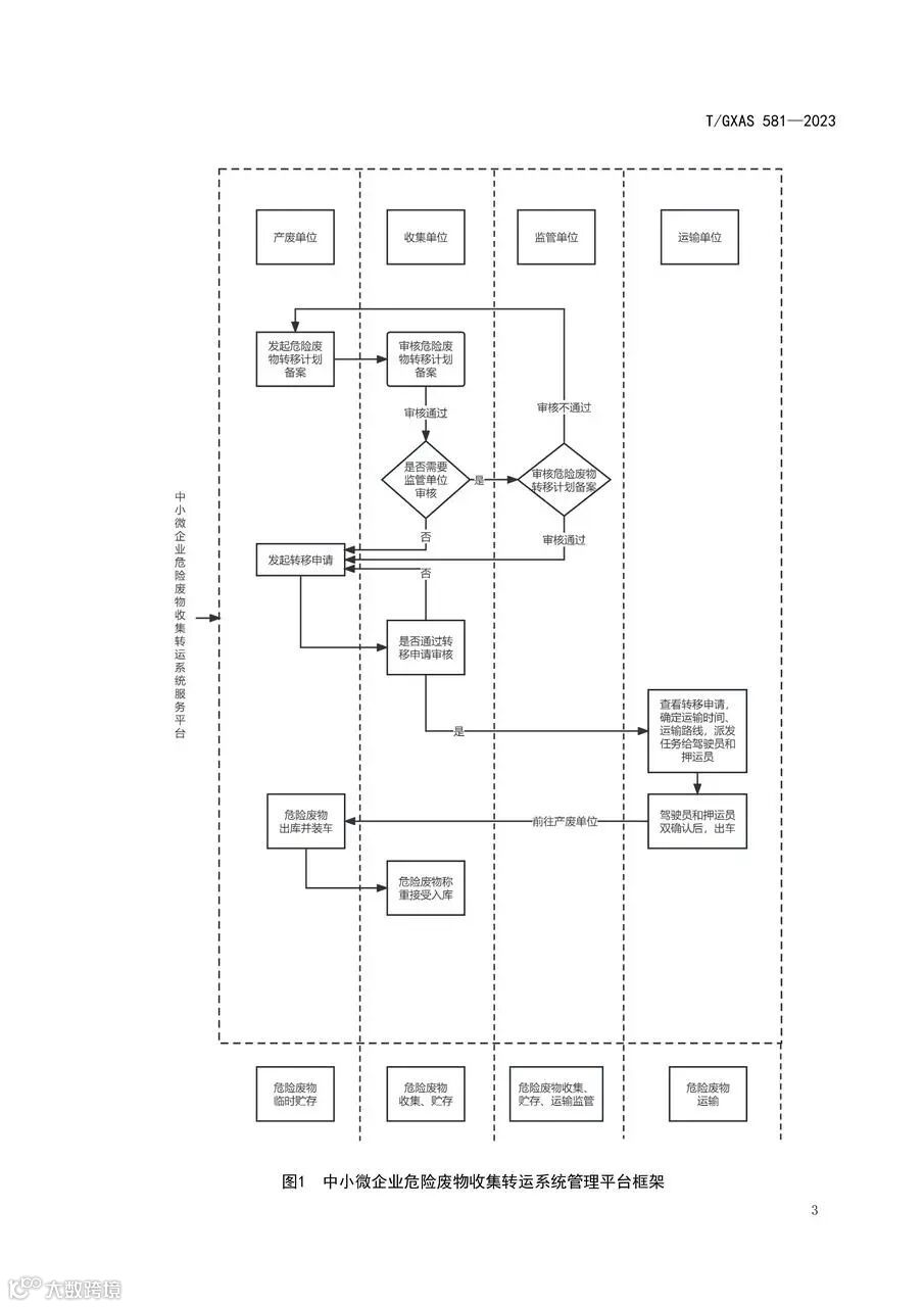
《中小微企业危险废物收集转运及信息化管理规范》主要针对中小微企业的危险废物收集、转运和信息化管理进行了规范。该标准提出了建立中小微企业危险废物收集转运信息管理系统,实现对危险废物全过程的实时监控和管理,降低中小微企业危险废物环境风险。
△ 左右滑动可查看更多图片
泰之星作为这三项团体标准的主导编制单位,将继续积极参与行业标准的制定和完善,填补广西自治区内危险废物规范化、信息化管理相关标准规范的空白,对危废行业发展具有一定积极作用,特别是对于中小微涉废企业,点多面广、量小分散、类别多样的难点,提高对环境管控治理的难度,这三项标准对于解决这些问题具有积极作用。


