直播间数据断崖式下滑?三大核心问题深度拆解
从转化漏斗、流量质量到运营节奏,全面诊断直播带货瓶颈
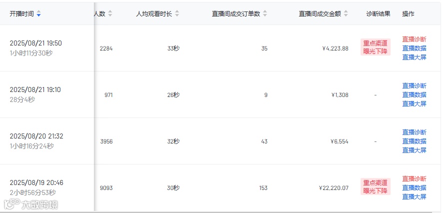
近期,一位水友的直播间在首场表现亮眼后,后续两天数据却出现断崖式下滑。本文结合真实案例,深入拆解其背后三大核心问题,并提供可落地的优化策略。
首场数据表现强劲,但第二、第三天成交与观看数据急剧下滑。问题究竟出在哪里?
1. 转化漏斗分析:优势与短板并存
从成交转化链路看:
优势环节:
- 商品点击-成交转化率达51.65%,用户购买意愿强烈
- 观看-商品曝光率达55.44%,内容引导效果良好
致命短板:
- 商品曝光-点击率仅2.30%,严重低于行业平均水平
- 曝光-观看率19.27%,低于同行中位数(14.87%)
2. 流量质量问题凸显
- GPM为¥1,931,仅高于同行中位数6%,未达赛马机制基本要求(需高出1.2-1.5倍)
- 总观看人次7.85万,实际成交仅118人,流量精度不足,泛流量占比高
- 人群画像虽集中于30+女性,但看播与购买行为不匹配,标签精准度存疑
3. 实时数据反映的运营问题
- 直播前期(20:46-22:00)成交平淡,未有效激活用户
- 22:00-23:00出现短暂高峰,但未能持续转化
- 在线人数峰值约70人,平均仅40人,波动大,留人能力弱
1. 立即优化:提升商品点击率
问题: 商品曝光-点击率仅2.30%
解决方案:
- 优化商品主图设计,增强视觉吸引力
- 优化讲解话术,前3秒突出核心卖点
- 提高重点商品展示频次,每20-30分钟重复讲解
- 使用道具辅助展示,提升产品呈现效果
2. 中期调整:提升流量精准度
问题: 流量泛而不精
解决方案:
- 强化直播间标签:通过话术明确产品定位
- 制作精准引流短视频,吸引高意向用户
- 调整投流策略,聚焦高转化人群,减少泛流量投放
3. 长期优化:提升整体运营效率
问题: 成交波动大,持续性不足
解决方案:
- 优化直播节奏,均匀分布爆款讲解时段
- 加强主播话术培训,提升整体转化能力
- 建立数据监控体系,实时跟踪GPM与转化率变化

