▲法院发布的民事裁定书
▲中智行创始人王劲(图源网络)
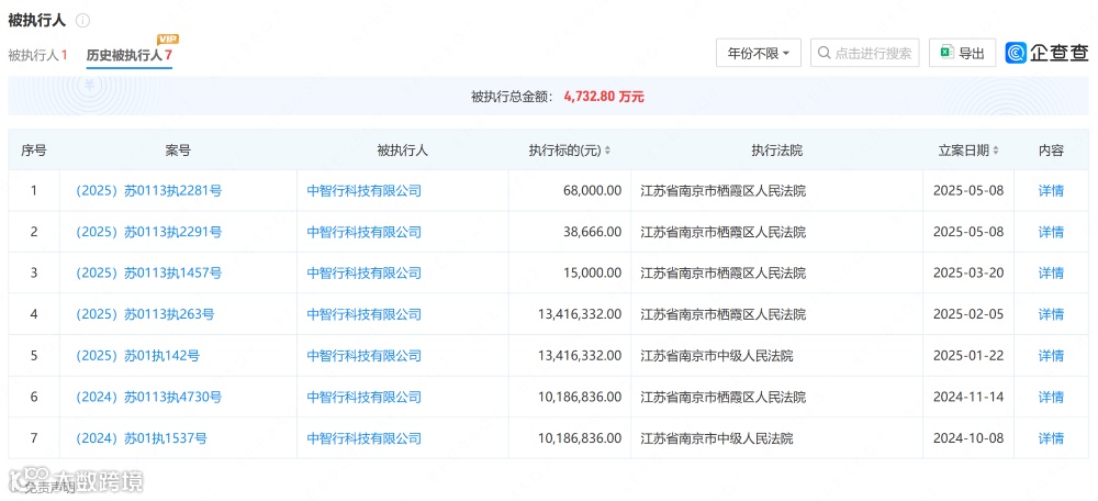
▲企查查上公开的中智行历史被执行总金额
▲法院发布的民事裁定书
▲中智行被申请破产清算
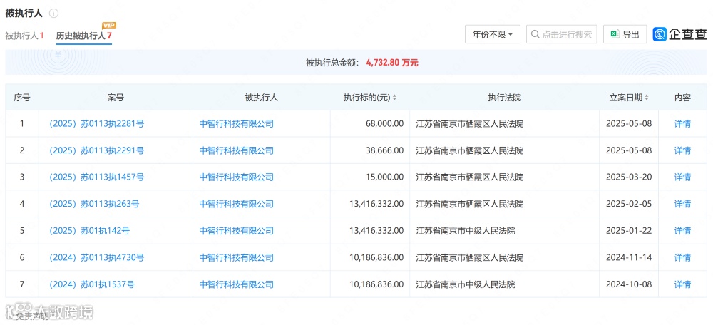
▲企查查上公开的中智行历史被执行总金额
▲中智行法人变更
▲中智行法人已被限制高消费
▲中智行官网无法打开
根据百科上的介绍,王劲创立和领导了百度自动驾驶事业部后,正式宣布大力发展自动驾驶业务,推动百度大脑进入汽车领域,带领团队打造百度无人驾驶汽车。
百度自动驾驶汽车于2015年12月初成功路测,实现国内首次城市、环路及高速公路混合路况下的全自动驾驶。
▲王劲于百度时期(图源网络)
▲文远知行的Robotaxi产品

