搜索
首页
大数快讯
大数活动
服务超市
文章专题
出海平台
流量密码
出海蓝图
产业赛道
物流仓储
跨境支付
选品策略
实操手册
报告
跨企查
百科
导航
知识体系
工具箱
更多
找货源
跨境招聘
DeepSeek
首页
>
说个确定性强的BUG
>
0
0
说个确定性强的BUG
开心的小石头
2025-12-15
2
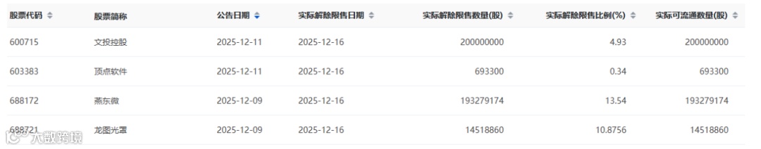
明天解禁的限售股如下:
-------------分割线
-------------
今天盘面的走势犹如上周五的翻版,只不过整体重心较上周五都向下了一个台阶,都是盘中富贵了一把,中小票走势强于大票,但最后尾盘都回落了不少,三大指数都是绿的,缩量回到了1.79万亿,包含北交所在内的个股涨幅中位数为-0.28%,所以今天指数普跌,但大多数人并没有什么痛感,我的持仓也是早盘经历了较大的富贵,最终收盘回撤了不少。整体来说盘面依旧是正常震荡的状态,不用过于担心。
由于目前分时图的下跌惯性,明天沪指如果继续下跌,不远处的3850.60点一旦盘中跌破,将会同时触发15分钟和30分钟级别的底背离,迎来持续1-2个交易日的反弹。
其实包含之前的个人观点,也是看好本月的指数维持在3850-3950之间震荡,因此明天盘中如果跌破3850.60点,我计划把仓位加回到6成,届时我会发文提醒技术
角度
的触发。
还有半个月,今年就收关了,我真的敢大胆的说,这半个月绝对绝对不会出现大幅度回撤使得大A恐慌跨年,所以一旦有机会出现黄金坑,一定要无脑加仓做T。(我把这几句话标红标粗标大,这是确定性强的BUG)
-------------分割线
-------------
1、昂瑞微明天上市;
解析:这是继摩尔线程后半导体板块的又一大牛股,后天紧跟着沐曦股份上市,看看是否能像摩尔线程拯救科技股的流动性。
2、首批L3自动驾驶获准入许可。
解析:贴个图
我看了下同花顺概念热度,无人驾驶并没有燃起来,又仔细看了下新闻内容,离完全市场化还很远,目前只是指定车企(长安汽车和北汽)在指定路段试点。市场目前反响并不强烈。
3、
保险
板块、食品饮料板块和白酒板块领涨。
解析:保险板块自不必说,前几个月我一直说保险板块是非常适合中线投资的标的,因为银行降息的大周期下,更多存款通过保险来到了不同级别的投资市场,中长期肯定利好保险板块,今天中国平安暴涨5%,离历史前高不远了。
食品饮料和白酒板块尚需关注政策力度,今天盘后又提到了夯实“统一大市场”刺激内需的新闻。
4、离岸人民币升到7.04.
解析:我们的离岸人民币长期在6.8-7.3之间,目前属于较强位置,再强下去不利出口,感觉降息降准真的不远了。
【声明】内容源于网络
0
0
开心的小石头
提供每日最新盘面新闻及解析,周末分享技术干货文章。
内容
169
粉丝
0
关注
在线咨询
开心的小石头
提供每日最新盘面新闻及解析,周末分享技术干货文章。
总阅读
19
粉丝
0
内容
169
在线咨询
关注