
金属切削过程常常伴随着毛刺的生成。毛刺的存在不仅降低了工件的加工精度和表面质量,影响到产品的使用性能,有时甚至会引发事故。去毛刺是一个非生产性过程,它不仅增加产品成本,延长产品生产周期 ,而且毛刺去除不当还会导致整个产品报废,造成经济损失。
既然去毛刺这么费力,不如想办法从源头控制,今天我们来了解一下端铣加工中如何减少毛刺的产生。
01 端铣加工中毛刺的主要形式
按照切削运动——刀具切削刃毛刺分类体系,端铣过程中产生的毛刺主要有主刃两侧方向毛刺、侧边切出切削方向毛刺、底边切出切削方向毛刺及切入和切出进给方向毛刺五种形式(见图1)。

图1 端铣加工形成的毛刺
一般而言,底边切出切削方向毛刺与其它毛刺相比具有尺寸大、去除困难的特点。为此,本文以底边切出切削方向毛刺作为主要研究对象开展研究。根据端铣中底边切出切削方向毛刺尺寸和形态的不同,又可将其分为如下三种:I型毛刺(尺寸较大,去除困难,去除费用较高),II型毛刺(尺寸较小,可以不去除或去除容易)和III型毛刺即负毛刺(如图2所示)。

图2 铣削时底边切出切削方向毛刺种类
02 影响端铣毛刺形成的主要因素
毛刺的形成是一个非常复杂的材料变形过程。工件材料特性、几何形状、表面处理、刀具几何形状、刀具切削轨迹、刀具磨损、切削参数及冷却液的使用等多种因素都直接影响毛刺的形成。图3为端铣毛刺影响因素框图。在具体的铣削条件下,端铣毛刺的形态和尺寸取决于各影响因素的综合作用,但不同的因素对毛刺的形成具有不同的影响。

图3 铣削毛刺形成因果控制图
1)刀具进入/退出
一般情况下,刀具旋出工件时所产生的毛刺比刀具旋入工件时所产生的毛刺大。如图4所示, 图4a为刀具旋出工件的终端面,易产生尺寸较大的I型毛刺,而图4b中刀具旋入工件,所产生的毛刺通常为II型毛刺。

图4 铣削方式对毛刺形成的影响
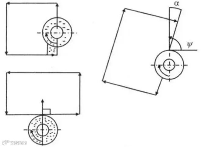
2)平面切出角
平面切出角对底边切出切削方向毛刺的形成有很大的影响。平面切出角的定义为当切削刃旋出工件终端面时,在过切削刃上一点垂直铣刀轴线的平面内,该点的切削速度(刀具转速与进给速度的矢量合成)的方向与工件终端面方向之间的夹角。工件终端面的方向为从刀具旋入点指向刀具旋出点。如图5所示,Ψ为平面切出角,其范围0°<Ψ≤180°。

图5 平面切出角
试验结果表明:毛刺高度随着切削深度的变化而发生形式转变,即随着切削深度的增加毛刺由I型毛刺向II型毛刺转变。通常将产生II型毛刺的最小铣削深度称为界限切削深度,用dcr表示。图6显示了加工一种铝合金时平面切出角和切削深度对毛刺高度的影响。

图6 毛刺形式与平面切出角和切削深度
由图6可以看出:平面切出角越大,界限切削深度越大;当平面切出角大于120°时,I型毛刺尺寸较大,向II型毛刺转变的界限切削深度也大。因此,小的平面切出角利于II型毛刺产生,这是因为Ψ越小,终端面支承刚度相对提高,毛刺越不易形成。
由图5可知:进给速度的大小和方向对合成速度v的大小和方向均会产生一定的影响,进而对平面切出角和毛刺形成产生影响。因此,进给速度与退出边偏移角α越大,Ψ越小,越利于抑制较大毛刺的形成(如图7所示)。

图7 进给方向对毛刺形成的影响
3)刀尖退出顺序EOS
在端铣过程中,毛刺尺寸在很大程度上取决于刀尖的退出顺序 。如图8所示:A点为副切削刃上的点,C点为主切削刃上的点,B点为刀尖顶点。假设刀尖是锋利的,即不考虑刀尖圆弧半径。如果B-C边先退出工件,A-B边后退出工件,则切屑铰接在已加工表面上,随着铣削的进行,切屑被推出工件,形成尺寸较大的底边切出切削方向毛刺。如果A-B边先退出工件,B-C 边后退出工件,切屑铰接在过渡表面上,被切出工件,形成尺寸较小的底边切出切削方向毛刺。
试验表明:①使毛刺尺寸依次增大的刀尖退出顺序为:ABC/BAC/ACB/BCA/CAB/CBA。②EOS所产生的结果是一样的,只是在相同的退出顺序下,塑性材料比脆性材料所产生的毛刺尺寸要大。
刀尖退出顺序不仅与刀具几何形状有关,还与进给量、铣削深度、工件几何尺寸及切削条件等因素有关,是通过多种因素综合起来对毛刺的形成施加影响。

图8 刀尖退出顺序与毛刺的形成
4)其他因素
①铣削参数、铣削温度、切削环境等对毛刺的形成也会产生一定的影响,部分主要因素如进给速度,铣削深度等的影响通过平面切出角理论和刀尖退出顺序EOS理论体现出来,此不赘述。
②工件材料塑性越好,越易形成I型毛刺。在端铣脆性材料的加工过程中,如进给量或平面切出角较大,则有利于III型毛刺(亏缺)形成。
③当工件的终端面与已加工平面之间的角度大于直角时,因终端面支承刚度增强,能抑制毛刺的形成。
④铣削液的使用有利于刀具寿命的延长,减小刀具磨损,润滑铣削过程,进而减小毛刺尺寸。
⑤刀具磨损对毛刺的形成有很大的影响,当刀具磨损到一定程度,刀尖圆弧增大,不仅刀具退出方向毛刺尺寸加大,刀具切入方向也会有型毛刺生成,其机理有待进一步深入研究。
⑥其它因素如刀具材料等对毛刺的形成也有一定的影响。在相同的切削条件下,金刚石刀具较其它刀具更有利于抑制毛刺形成。
03 控制端铣毛刺形成的基本途径
端铣毛刺的形成受多种因素的影响,它不仅与具体的铣削过程有关,而且与工件结构,刀具几何形状等因素有关。要减小端铣毛刺,必须从多方面出发控制和减小毛刺的生成。
1)合理的结构设计
毛刺的形成在很大程度上受工件结构的影响,工件结构不同,加工后棱边处的毛刺形状和尺寸也有很大的差别。如果工件材料和表面处理是事先定好的,那么工件几何形态和棱边则是决定毛刺形成的一个重要因素,图9为在工件终端面增加倒角来减小毛刺。

图9 增加退出边倒角法
2)适当的加工顺序
加工顺序对端铣毛刺的形状、大小也有一定的影响。毛刺形状和尺寸不同,去毛刺的工作量和相关费用也不相同,因此,选取适当的加工顺序是减少去毛刺费用的一种有效途径。图10为采用适当的加工顺序控制较大毛刺的生成。

图10 选择加工顺序控制法
在图10a中如果先钻孔再铣平面,则孔圆周上容易生成较大切出铣削毛刺;如果先铣平面再钻孔,则孔圆周上只有较小的钻削切入毛刺。同理,在图10b中,先铣削上表面再铣凹轮廓所形成的毛刺比先加工凹轮廓再铣平面所形成的毛刺尺寸要小。
3)避免刀具退出
避免刀具退出是避免毛刺形成的有效方法,因为刀具退出是切出方向毛刺形成的主要因素。通常情况下,铣刀旋出工件所产生的毛刺较大,旋入工件时产生的毛刺较小。因此,在加工过程中应尽量避免铣刀旋出。如图4中,采用图4b产生的毛刺小于图4a中所产生的毛刺。
4)选取适当的走刀路线
由前面的分析可知:当平面切出角小于一定值时,所产生的毛刺尺寸较小。平面切出角可以通过改变铣削宽度、进给速度(大小和方向)和旋转速度(大小和方向)来改变。因此,可以通过选取适当的走刀路线来避免I型毛刺的生成(见图11)。

图11 控制走刀路线法
图11a为传统的之字型走刀路线,图中阴影部分表示可能产生尺寸较大的切出切削方向毛刺的部位。图11b采用了改进的走刀路线,它可以避免切出毛刺的生成。虽然图11b中的走刀路线比图11a中的走刀路线略长,花费铣削时间略多,但由于不需要附加去毛刺工序,而采用图11a需要大量的去毛刺时间(虽然图中阴影部分即毛刺产生的部位并不是很多,但是实际去毛刺时必须走完毛刺所在的所有棱边),因此综合起来看,在控制毛刺方面,图11b所示走刀路线优于图11a所示路线。
5)选取适当的铣削加工参数
端铣参数(如每齿进给量、端铣宽度、端铣深度及刀具的几何角度等)对毛刺的形成有一定的影响。表1列出了为减小毛刺尺寸而选取端铣参数的几条原则。
表1 毛刺类型及处理方法

04 五项特种去除毛刺的方法
1)电解去毛刺
所谓电解去毛刺就是一种化学去毛刺方法, 它可去除机械加工,磨削加工及冲压加工后的毛刺,并使金属零件尖边倒圆或倒棱。

利用电解作用去除金属零件毛刺的一种电解加工方法,英文简称 ECD 。将工具阴极(一般用黄铜)固定放置在工件有毛刺的部位附近,两者相距一定的间隙(一般为 0.3~1mm)。工具阴极的导电部分对准毛刺棱边,其他表面用绝缘层覆盖起来,使电解作用集中在毛刺部分。
加工时工具阴极接直流电源负极,工件接直流电源正极。压力为 0.1~0.3兆帕的低压电解液( 一般用硝酸钠或氯酸钠水溶液 ) 流过工件与阴极之间。当接通直流电源后,毛刺便产生阳极溶解而被去除,被电解液带走。

电解去毛刺原理图
电解液有一定腐蚀性,工件去毛刺后应经过清洗和防锈处理。电解去毛刺适用于去除零件中隐蔽部位交叉孔或形状复杂零件的毛刺,生产效率高,去毛刺时间一般只需几秒至几十秒。
这种方法常用于齿轮、花键、连杆、阀体和曲轴油路孔口等去毛刺,以及尖角倒圆等。缺点是零件毛刺的附近也受到电解作用,表面会失去原有光泽,甚至影响尺寸精度。
2)磨粒流去毛刺
磨料流加工技术(AFM)是国外70年代末发展起来的一项精饰去毛刺新工艺,此工艺特别适合于刚刚进入精加工阶段的毛刺,但是对于小而长的孔以及底部不通的金属模等均不宜加工。

3)磁力研磨去毛刺
磁力研磨时将工件放入两磁极形成的磁场中,在工件和磁极的间隙中放入磁性磨料,磨料在磁场力的作用下沿磁力线方向整齐排列,形成一只柔软且具有一定刚性的磁研磨刷,当工件在磁场中旋转井作轴向振动时,工件与磨料发生相对运动,磨料刷就对工件表面进行研磨加工;磁力研磨法能够高效、快速的对零件进行研磨和去毛刺,适用于各种材料、多种尺寸、多种结构的零件,是一种投资少、效率高、用途广、质量好的精加工方法。
目前国外已可对旋转体内外表面、平板类零件、齿轮轮齿、复杂型面等进行研磨和去毛刺,去除导线线材上的氧化皮,清理印制电路板等。
4)热能去毛刺
热力去毛刺(TED)是用氢氧气体或氧与天然气形成时混合气爆燃后产生的高温将毛刺烧掉。是将氧气和氧气或天燃气和氧气通入一个密闭的容器内,经火花塞点火, 使混合气在瞬时内爆燃放出大量的热能而去除毛刺。但工件经过燃爆燃烧后, 其氧化粉末会附着工件表面上, 必须加以清洗或酸洗。
5)超声波去毛刺
超声波去毛刺技术是近几年开始流行的一种去毛刺方法,仅仅就附属的清洗效率是普通超声波清洗机的10~20倍,空穴在水槽内均匀密布,使超声波无需借助清洗剂就可以在5~15分钟内同时完成。

沈阳市特种加工学会
诚邀您的加入
沈阳市特种加工学会是沈阳市特种加工学科的群众性学术团体。本会接受沈阳市机械工程学会的领导。接受全国特种加工学会的指导。本会的宗旨是:维护道德风尚,崇尚实事求是;促进技术进步,坚持民主办会;强调以人为本、谋求社会福祉。以学术交流为中心,大力促进沈阳市特种加工领域新技术、新工艺、新装备的开发和应用,加快科技成果转化为生产力的进程,提高学术水平,发展产业市场,为沈阳市的经济建设做出贡献。现有遍布全国各地会员单位560家,个人会员1050人。学会为服务会员、助力行业腾飞,推出五大特色服务:特技服务、科技服务、资源服务、智力服务、智数服务。


