宫保鸡丁之外还有烧鸡腿、雪菜兔肉
给宇航员送“太空外卖”背后的公司是什么来头?
在神舟十二号发射之前,不少网友还认为航天食品是压缩饼干一类的牙膏状食物,但事实上,现在的航天员可以享用品种繁多的美味航天食品。
据央视新闻报道,天舟二号货运飞船已于5月底提前与中国空间站天和核心舱顺利实现快速交会对接。目前已知的天舟二号携带货物中,不仅包括空间站推进剂等包裹,还包括鱼香肉丝、宫保鸡丁等“外卖”。
数据显示,此次出征,中国空间站为航天员准备120多种航天食品,例如粳米粥、椰蓉面包、炒饭、炒面等主食,还有各式菜品,就连调味品也是酸辣咸甜样样齐备。多样化的食物保障了航天员营养均衡、身体健康。

记者了解到,此次负责提供“太空外卖”的一家公司名为永达食品,本次120余种航天食品中有近50个品种由该公司提供。
在一篇名为《永达食品五次飘香“天宫”》的推文中,该公司介绍称,本次任务根据航天中心意见,对深受航天员喜爱的烧鸡腿、雪菜兔肉等菜品进行了保留,同时新增了鸽子肉、纯蔬菜等新副食,力求做到口感丰富、营养搭配均衡。这些食品将确保3名航天员在为期3个月的太空之旅中吃得安全、健康、营养和美味。

从官方晒出的海报来看,这已经是永达食品第五次成为航天食品的供应商,先后承担了从“神八”、“神九”、“神十”、“神十一”再到“神十二”,五个批次100多种航天食品的研发、生产工作。
据官网介绍称,河南永达食业集团创建于1988年,是一家集“肉种鸡繁育、饲料生产、商品鸡养殖、屠宰加工、调理品生产、熟制品生产、鸡骨素调味品生产、冷藏配送、商业连锁、国际贸易”为一体的大型产业化集团公司。
产品主要有冷冻、冰鲜、速冻调理、面食、鸡肉熟食、方便菜肴、生物骨素、出口熟食等八大系列730多个品种。
在国内市场,永达食品销往国内30个省、市,拥有1000多家分销商、20多万个终端售点。在国际市场,产品出口到日本、韩国、南非、蒙古、利比里亚、马来西亚、新加坡等十多个国家。

子公司年营收18亿元
曾位居河南民营企业100强第89位
据天眼查app显示,鹤壁市永达食品有限公司成立于2001年9月,法定代表人为郭保平,注册资本3.5亿元。

旗下拥有河南永达美基食品股份有限公司、安阳市永达畜禽育种有限公司、鹤壁市永达养殖有限公司、滑县永达饲料有限公司、洛宁竹园畜禽科技养殖有限公司、鹤壁市通达物流有限公司等9家公司。

从业务覆盖范围来看,“太空外卖”背后的供应商除了提供食品加工外,还涉及养殖、饲料、物流等一系列业务,已然形成一条完整的产业链。
记者查询发现,永达食业集团旗下的河南永达美基食品股份有限公司(下称美基食品)曾于2014年11月10日在新三板挂牌上市,公司主营业务为以鸡骨为主、禽骨为辅的骨汤、香精等调味品的生产和销售以及为客户提供定制调味产品的规划、研发与生产解决方案。
公司第一大股东为鹤壁市永达食品有限公司,持股比例60%,实际控制人为冯永山。
据美基食品财报显示,2016年公司营业收入16.88亿元,净利润5120.14万元,分别同比增长16.83%、17.77%,2017年公司实现营业收入18.76亿元,净利润6515万元,分别同比增长11.16%、27.24%。

根据美基食品2017年年报披露,截至2017年末,公司控股子公司8家,经营范围涵盖屠宰、食品加工、副品加工以及产品销售全产业链。

在2018河南民营企业100强榜单上,河南永达美基食品股份有限公司以18.7671亿元营业收入总额位居河南民营企业100强第89位。

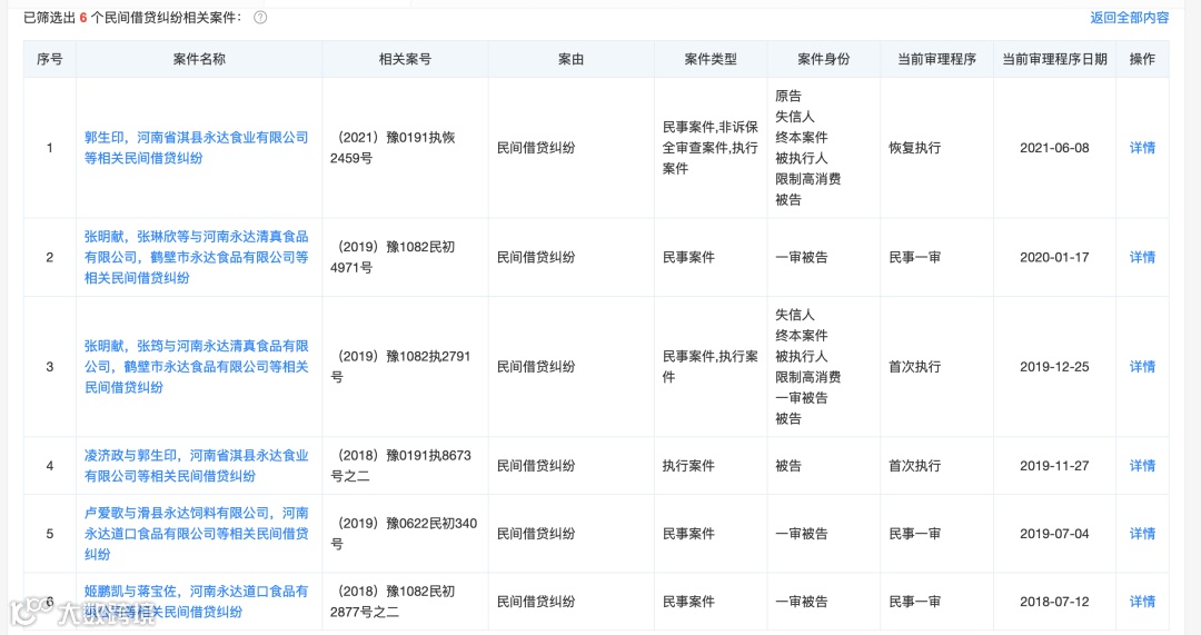
从过去几年已公布的业绩来看,美基食品在新三板企业中表现相当亮眼。然而据天眼查资料显示,在过去几年中,美基食品被卷入多起民间借贷纠纷,并多次被法院判决强制执行。作为在新三板挂牌的上市公司,频频出现民间借贷纠纷,公司的经营及资金问题堪忧。


现金流紧缺的问题在财报上也有所显示,2017年全年,美基食品经营产生的现金流量净额为-9032.27万元,较上年同期降低了157.33%。

2018年12月18日,美基食品董事会发布《关于公司股票可能被终止挂牌和存在资金被非经营性占用情形的风险提示性公告》,公告称美基食品因未能按期披露2018年半年度报告,其股票已于2018年9月3日开市起暂停转让,根据《全国中小企业股票转让系统业务规则(试行)》的相关规定,公司的股票存在停止挂牌的风险。
2019年5月30日,由于迟迟未能披露年报,美基食品董事会正式发布公司股票终止挂牌的公告,美基食品的股票正式退市。

从挂牌到退市这5年间,美基食品所处的鸡肉深加工行业企业众多,竞争激烈。随着市场需求的不断增长,众多深加工鸡肉制品涌现,在满足消费市场的同时,如何实现全产业链发展变得尤为重要,虽然美基食品已于两年前退市,但从母公司近年产业链的布局来看,永达食品在行业内仍有一定的竞争力。

