大数跨境
0
0

B站同食品公司诉争“哔哩哔哩”商标失败

B站同食品公司诉争“哔哩哔哩”商标失败 蓝鲸新闻
2022-09-15
0
导读:一家食品公司用了B站广为人知的商标,是否合理?

来源 | 界面新闻

作者 | 佘晓晨


尽管“哔哩哔哩”在年轻人中的知名度已经很高,但B站在诉争商标上输了一局。
近日,据天眼查App显示,上海幻电信息科技有限公司与国家知识产权局相关案件一审文书公开。文书显示,上海幻电信息科技有限公司(以下简称幻电公司)对晋江健德食品有限公司(以下简称健德公司)所持诉争商标“哔哩哔哩BILIBILI”提出无效宣告请求,并向国家知识产权局提交相关证据材料。由于国家知识产权局裁定诉争商标予以维持,幻电公司不服该裁定,遂提起行政诉讼。最终,法院驳回原告幻电公司的诉讼请求。
上述裁定认为,健德公司所持诉争商标“哔哩哔哩BILIBILI”申请注册未违反《中华人民共和国商标法》(简称《商标法》)第十三条第三款的规定。而幻电公司在提起的行政诉讼中称,国家知识产权局忽视了相关事实及互联网领域的行业特点,机械、错误的认定幻电公司提供的证据不足以证明引证商标在诉争商标申请日前构成驰名商标。
幻电公司提出,引证商标核定使用的服务属于日常娱乐范畴,其知名度与影响力能够及于饮食等日常生活领域,引证商标与诉争商标核定使用的商品/服务的相关公众具有极高的重合度,二者关系密切,足以使相关公众认为诉争商标与驰名商标具有相当程度的联系。幻电公司请求法院撤销被诉裁定,并判令被告重新作出裁定。
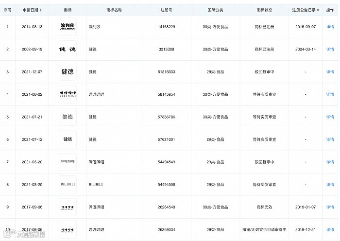
本案的另一个主角健德公司是一家食品公司。文书显示,健德公司在2017年9月6日申请了“哔哩哔哩BILIBILI”商标,注册号为26264549,专用权期限至2029年1月6日,核定使用商品(第30类)包括天然增甜剂;烹饪用葡萄糖;白糖;冰糖;烹饪用低聚糖。
健德公司的商标。图片来源:天眼查
针对上述事件,B站也在今日晚间回应界面新闻称,过去一段时间里接到用户投诉,反映在电商平台上购买了“猫村长”与“哔哩哔哩bilibili”商标的联名食品,从椰子冻到吸吸果冻,品类众多,但品质不佳。

B站方面表示,其相关商标“哔哩哔哩bilibili”的食品类别在2017年曾被四季自造文化有限公司抢注,后又将商标转让至晋江建德食品有限公司生产果冻等糖类产品,并在各大电商平台销售,导致消费者误认为是B站官方联名或授权产品。
一家食品公司用了B站广为人知的商标,是否合理?北京知识产权法院认为,本案的焦点问题是,诉争商标的申请注册是否构成《商标法》第十三条第三款所指情形。
《商标法》第十三条第三款规定,就不相同或者不相类似商品申请注册的商标是复制、摹仿或者翻译他人已经在中国注册的驰名商标,误导公众,致使该驰名商标注册人的利益可能受到损害的,不予注册并禁止使用。 
于是,问题的关键就变成,诉争商标是否构成“驰名商标”。上海申伦律师事务所律师夏海龙告诉界面新闻,商标法的保护是不能在相同或相似的商品或服务上使用与他人注册商标相同或相似的标识,如果想实现跨类保护,前提就是要认定驰名商标。
具体在认定中,《商标法》第十四条规定,驰名商标应当根据当事人的请求,作为处理涉及商标案件需要认定的事实进行认定。认定驰名商标应当考虑相关公众对该商标的知晓程度;该商标使用的持续时间;该商标的任何宣传工作的持续时间、程度和地理范围;该商标作为驰名商标受保护的记录等。
根据上述规定,判断一商标是否构成驰名商标,需判断在案证据是否足以证明该商标在其核定使用的商品或服务中从时间或空间的角度上,进行了较为广泛宣传推广,并使该商标获得较高的知名度。
文书内容显示,本案中,引证商标核定使用的服务包括培训;安排和组织培训班;为娱乐组织时装展览;文字出版(广告宣传材料除外);在线电子书籍和杂志的出版;提供在线电子出版物(非下载);广播和电视节目制作;除广告片外的影片制作;在计算机网络上提供在线游戏;俱乐部服务(娱乐或教育)。
而法院认为,幻电公司向国家知识产权局提交的幻电公司、关联公司、B站、诉争商标、引证商标等的基本信息,哔哩哔哩上市招股说明书公司股权架构图等证据与判断引证商标是否构成驰名商标并无关联。 
最终,法院驳回原告幻电公司的诉讼请求。
在实际情况中,公司商标被认定为驰名商标的难度较高,但一旦被法院认定为属于驰名商标,对其的保护范围和力度也非常大。夏海龙称,“对一般的社会公众来讲,提到驰名商标就基本上能知道该品牌,知道它大概提供什么商品或服务。”
例如,关于“奥妙”的一个诉讼案同样属于跨类保护商标案例,就获得了不一样的判决结果。 在该案件中,第12156179号“奥妙”商标(也就是该案件中的“诉争商标”)于2013年2月5日由无锡联华日用科技有限公司申请,2014年9月6日注册,核定使用范围包括电加热装置、加热元件等。“奥妙”所属公司联合利华对诉争商标提出无效宣告申请,主张诉争商标构成对原告核定在第3类“奥妙”商标的复制、摹仿或翻译,违反《商标法》第十三条第三款的规定。
几经周折后,北京高院最终认定诉争商标的注册违反了《商标法》第十三条第三款。原因在于,联合利华公司提交的在案证据可以证明,在争议商标申请日前,对其“奥妙 OMO”品牌洗衣剂、洗衣粉商品进行了长期持续的推广和销售,宣传范围和销售范围广、商品销售量大,已为公众广为知晓,构成2014年商标法第十三条第三款规定的驰名商标。
而争议商标核定的“电加热装置、加热板”等商品与“洗衣剂”虽不属于类似商品,但在销售渠道、消费群体等方面存在较大范围的重叠和交叉,易使相关公众误认为争议商标与引证商标具有相当程度的联系,减弱联合利华驰名商标的显著性。 
夏海龙强调,在公众的认知中,很多年之前驰名商标类似于“荣誉称号”,有关部门评选出来可以直接授予企业使用,但现在已经不允许企业在日常宣传中使用驰名商标,这一概念只能在商标侵权的诉讼中个案认定。



▲向上滑动


蓝鲸财经记者工作平台

lanjingcj




专为记者打造的平台

行业热点丨传媒大咖丨传媒动态






微信勾搭小助理

lanjingzhuli
商务合作

18511171696


     






长按右方二维码

关注我们►





【声明】内容源于网络
0
0
蓝鲸新闻
上海报业集团主管主办,解析财经要闻,记录时代变局,影响有影响力的人。
内容 10186
粉丝 0
蓝鲸新闻 上海报业集团主管主办,解析财经要闻,记录时代变局,影响有影响力的人。
总阅读6.1k
粉丝0
内容10.2k