蓝鲸新闻6月9日讯(记者 汤诗韵)你还记得曾在电视上进行地毯式广告投放的足力健老人鞋吗?那些年,国民女星张凯丽将“专业老人鞋,认准足力健”的口号植入了海量老年消费者的心坎里,足力健成为一代营销神话和赛道顶流。
近日,有大V爆料足力健拖欠内容供应商900万,引发围观。实际上,过去很长一段时间里,足力健都面临着较为严峻的债务压力。就在本月,足力健关联公司睢县足力健鞋业有限公司被公布欠税15万元。从年销40亿元到欠税15万,老人鞋足力健为什么“不那么受宠”了呢?
曾经一年卖出40亿,足力健欠税15万债务承压
近日,知名广告策划人金枪大叔在近期作品中透露,某老人鞋品牌拖欠一内容供应商900万元。蓝鲸记者核实到,涉事供应商为业内知名短视频策略咨询方,欠款的老人鞋品牌系足力健。
该供应商表示,所涉款项是2023年开始产生的短视频/直播咨询、代运营费用,在此之前双方合作并无欠款。两年时间里足力健还了约1/20,并多次更改还款方案,目前还款周期已排到了2026年。2024年9月以后,他再也没收到过足力健的还款。受此影响,该公司解散相关业务团队100多人,老板卖了一套房给员工发工资。“像我这样类似的、被足力健拖垮的公司,不止一家。”前述供应商透露。

相关视频及受访者提供的还款计划
目前,足力健官方尚未就此舆论予以回应。但足力健本身的确债务承压,社交网站上员工讨薪、供应商讨款的内容不算罕见,最早可以追溯到2021年左右。
有被欠薪的足力健前员工向蓝鲸记者透露,疫情之后,公司就出现了不同程度欠薪。其所在公司不同岗位和部门的员工普遍存在欠薪数月的情况,据其了解欠得最多的有7个月。他通过劳动仲裁拿回了工资,但垫付数千元的员工报销却不了了之。有相同遭遇的网友告诉他,近期面试足力健时,人事已会主动说明有一到两周的工资缓发。
一些更宏观的数据可以说明足力健目前面临的债务困境。
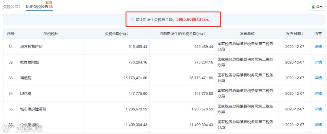
天眼查信息显示,足力健关联公司之一睢县足力健鞋业有限公司作为被告涉及98起案件,涉案金额达8.08亿元。该公司多次成为失信被执行人,目前被执行总金额为1.01亿元。此外,这家公司还在今年五月欠缴个人所得税15万元。历史记录显示,从2020年12月开始该公司就有多次欠税情况,累计历史欠税金额近4000万。
创始人张京康同样深陷数十起司法案件,涉案金额达1.89亿元,此外他还多次被法院出具限制消费令、列入失信被执行人名单,目前被执行总金额超5亿元。

足力健曾经风光无限。这家成立于2015年的品牌凭借在央视大量投放广告以及全国招商的策略,足力健快速扩张。据中国企业家杂志援引创始人张京康消息,创立第三年,足力健营收就从前一年的6000万元飙升到18亿元。随后,足力健加大广告投放、自建工厂和开直营门店,并曾经投资60亿元兴建“足力健老人鞋幸福小镇产业园”。2019年,足力健的营收达到40亿元,全国门店约5000家。
2020年,足力健受疫情影响营收腰斩至18亿元。但由于“盘子”比较大,当时所有门店和总部的员工工资每个月就得花1亿元。2020年以后,足力健连续三年亏损。
面对负债,张京康曾向中国企业家杂志表示,公司每年收入的70%~80%都拿去还了债,仅2023年一年就还了1.8亿元。足力健还在正常经营,计划两年内把债还清,“现在一年还有几亿的利润,就这么按部就班还就行。”
广告红利逐渐退散,员工称足力健招商部要立军令状
为了止亏,足力健线下模式优化为供应链和ToB生意。目前,其线下门店缩减至3000余家,均是加盟商/经销商开的店。但同时,足力健仍在大力加盟招商,并一度推出租金补贴、装修补贴等。有足力健员工向记者透露,招商经理会被要求写军令状,明确承诺保底单数、回款额度等。
蓝鲸记者了解到,目前加盟足力健需要1万元品牌使用费、1万元保证金、15万元的首批货款,启动资金一般在20万元左右。加盟人员称,该项目的毛利整体在50-60%左右,一般9-12个月可以回本。但一个店盈利与否受太多因素影响。有加盟商向蓝鲸新闻透露,他的店因为人流不多销量一般,目前面临比较大的库存压力。“每次卖的钱都不舍得花得攒着下一次订货,可能还不一定够。”
加盟模式本来就有利有弊,相关纠葛屡见不鲜。天眼信息显示,睢县足力健鞋业有限公司共涉及120条法律诉讼,其中1/3以上的案由为特许经营合同纠纷。

纠纷背后,是品牌整体面临的业绩增长压力。一方面,洗脑广告带来的红利正在消退,足力健的品牌形象却没有充分“与时俱行”。
另一方面,足力健不止一次被曝质量问题。去年11月,上海市市场监管局发布7批次不合格老人鞋抽查情况,足力健某款凉鞋名列其中。被点名的原因为鞋底过度磨损变形,影响舒适感和防滑性能,导致意外滑倒。
不过整体来看,足力健仍是老人鞋领域内的头部选手。据张京康向媒体透露,足力健的销量仍在,每年营收还有十五六亿左右。2024年,足力健以116.46亿元的品牌价值连续三年入榜“中国品牌500强”名单。
20岁穿上足力健?但60岁不只有足力健
足力健欠款900万代运营费用背后,这个品牌正在改变营销策略,大力投入短视频和直播。
蓝鲸记者观察到,创始人张京康在多个平台上开通社交账号“银发老张张京康”,讲述创业心法、底层逻辑等。有意思的是,张京康曾不止一次在短视频中谈及“如何还债”。他表示靠直播短视频还清债务的可能性为零,真正要做的是好好复盘欠债原因、找到用户的需求痛点、提升营销能力——这样基本上5-10年就能还清10个亿。

但另一方面,张京康认为当下营销的核心是直播和短视频,且一定要在内容上下功夫。目前,足力健已形成“足力健官方旗舰店”“足力健品牌招商中心”“足力健女子旗舰店”“足力健健康官方旗舰店”等为代表的短视频、直播矩阵。其中还包含大量的各地门店账号,招商人员称官方将给予加盟商长期流量扶持和投放。第三方数据平方显示,最近30天足力健品牌在抖音上的销售额约2500-5000万元(足力健爸妈鞋、足力健运动等未纳入统计)。
与此同时,足力健正在努力靠近年轻消费者,并强调产品的时尚美观。2024年,足力健将新代言人换成了凤凰传奇,企图借此破圈。社交网站上,“20岁穿上足力健少走30年弯路”等内容一度引发讨论。

值得注意的是,“60岁不只有足力健”等话题也出现在了舆论场上,更多对手正在入局老人鞋。本赛道内,步锦轩、舒悦等老人鞋品牌逐渐崛起。而除了回力、骆驼、红蜻蜓等兼营老人鞋的品牌外,耐克、斯凯奇、新百伦等潮牌大牌也在推出适老产品,足力健面临的竞争愈加激烈。
沙利文发布的《2024年中国银发经济发展报告》显示,面对银发产业广阔的发展前景,市场对老年群体鞋履需求痛点的不断理解和挖掘,中国老人鞋零售市场规模有望在2028年增长至1,121.3亿人民币,2023年至2028年的年复合增长率达到约6.5%。老人鞋仍有广阔未来,但足力健要走的荆棘路还很远。

