近期,多地驾校学员向记者反映,一家名为“派学车”的互联网驾校平台存在虚假宣传、套路合同、层层收费等乱象,不少学员从报名到拿证累计花费两倍多,远高于市场平均价格。
约课难、服务差、收费层层加码
派学车低价引流藏陷阱
“报名时明确说好是一次性收费3000元,后续再没有任何费用。结果现在想约课,却告诉我必须再交1500元续期服务费。”学员徐女士向记者讲述了她在“派学车”的经历。
她于2024年通过电商平台购买了该平台的驾校培训课程,当时销售人员对服务期限等关键条款只字未提。今年当她试图继续学车时,才被告知需要额外付费。
在“派学车”遇到类似情况的学员并非个例。有学员表示,在购买服务前销售明确表示服务有限期为三年,结果在期限内还是被要求续费才能学习。
除了涉嫌虚假宣传之外,约课难是学员们集中投诉的另一个问题。有学员反映,平台预约小程序长期显示“已约满”或“系统维护”,连续多周无法成功预约一节课。甚至在学车过程中,课程需要抢,抢不到课时客服只表示人操作不够快,与平台无关。
另有学员表示,曾尝试直接联系教练,却始终得不到回复。然而,当一年的服务期刚过,平台客服便会主动联系学员,催促其缴费续约。不少学员认为,这并非系统或服务问题,而是平台有意采取的“拖延战术”,旨在迫使学员为延续服务支付额外费用。
蓝鲸记者了解到,部分学员因日常工作安排紧张,加上平台长期预约困难,为避免此前已投入的时间和费用“打水漂”,只得选择继续缴费。其中一位学员向记者表示,其累计花费已超过七千元,远高于当地驾培市场的普通收费标准。
社交媒体上,派学车遭到大量学员投诉,小程序上也出现了多次被投诉的提示。
实探派学车现场:
门店简陋、大门挂无人机广告,客服称续费条款已修改
官网显示,派学车隶属于上海林怀网络科技有限公司(下称林怀网络),是一家全国连锁的自营品牌驾校,直营驾照培训。通过线上线下融合模式为驾考学员提供全场景培训服务。
平台整合场地、车辆及教练资源,推出“AI教学”和“VR学车”智能培训体系,业务范围覆盖上海、广州、深圳、重庆、成都五大城市,累计设立百家校区,服务学员10万人次 。
针对上述学员遇到的续费问题,蓝鲸记者以学员的身份咨询派学车的工作人员,对方解释称:“报考学籍有效期是从你考完科目一算起的,未来3年之内有效。没有考科目一是一直有效。但是我们现在服务周期是一年,你需要在一年以内考完,如果一年以内没有考完的话,是需要付延期费的。”
随后,蓝鲸记者以学员身份前往派学车当地门店咨询。现场发现,该门店空间狭小、设施简陋,大门处不仅未标注“派学车”或运营方“林怀网络”的公司名称,反而张贴着其他机构的无人机培训广告。
值得注意的是,在学员签约环节,所提供的合同文本中,签约主体并非林怀网络,而是另一家名为“昌维驾驶员有限公司”的企业。
工作人员解释称:“林怀是全国品牌名称,我们在广州、深圳等一线城市都有合作驾校。”
当被问到有学员反馈延期续费的问题时,工作人员说道:“延期续费条款有修改过,其他和旧版都是一样的,现在最新版都是一年的合同,到期是需要续费的。”
资质缺失、投诉缠身、拖欠驾校费用
公司被执行金额超四千万元
天眼查app显示,林怀网络法定代表人为陈怀力,注册资本201万元,公司成立至今融资轮次已达到C+轮,投资方包括真格基金、青松基金、君联资本等知名机构。
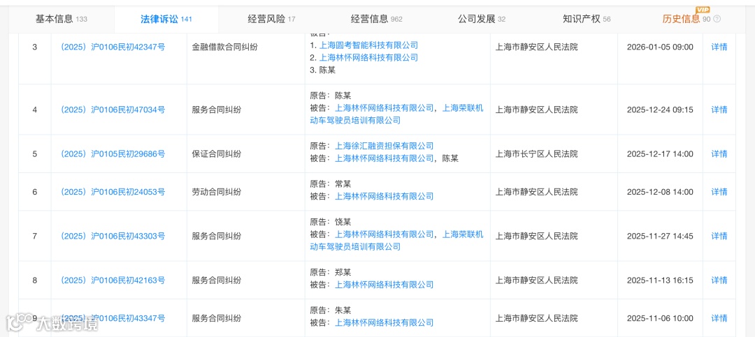
今年7月,公司法定代表人为陈怀力已被限制高消费,公司被执行总金额超过4000万元,涉及司法案件多达80多起,其中主要是与学员之间的服务合同纠纷。
在黑猫投诉平台上,有关派学车的投诉多达970条,其中多为虚假宣传、追加收费、售后服务差等问题。
早在2019年,派学车公司以自己名义招收学员,收取费用,自行聘请教练员,开展科目二、科目三的培训,但平台因未取得《道路运输经营许可证》,未经许可擅自从事机动车驾驶员培训,被深圳市交通运输行政执法支队处罚,并责令改正。
由此可见,该平台自身并无驾校培训资质,实际通过与各地驾校合作完成培训流程。蓝鲸记者了解到,“派学车”系该平台过往使用名称,目前其业务已改为“圆考智能”等名字继续开展运营。
据上海市道路运输管理局中心发布的驾校投诉表显示,改名后,平台及合作驾校依旧常年位列投诉榜单前列。
值得注意的是,不止是学员面临多次缴费的困境,就连合作驾校也反映存在被拖欠费用的现象。蓝鲸记者了解到,多家曾与平台合作的驾校表示,平台未能按时支付带教费用。其中一家驾校负责人透露:“截止到9月30日,平台已拖欠我单位带教费用,我们不得不终止与平台的合作关系。”
这一情况直接影响了已在平台付费的学员。由于驾校终止合作,部分学员虽已缴费却无法正常安排训练课程。
相关部门提示,如今“网络招生平台”“低价”“熟人推荐的教练”“微信转账给教练”已成为投诉中出现频率较高的关键词。学员在报名时应前往正规驾培机构的线下门店报名,谨慎使用各类网络平台或手机应用报名学车。这些平台监管难度大,信息真实性难辨,容易出现虚假宣传、卷款跑路等风险。

