
概述:
X12多合一专业主控是针对LED显示屏工程应用领域的专业级控制系统和视频处理设备。其具有DVI和HDMI高清数字接口,支持多路信号间无缝切换,支持广播级缩放及多画面显示。X12具备12个千兆网口,同时,X12还具备一系列丰富实用的功能,可以实现灵活的屏幕控制和高品质的图像显示,在LED显示屏工程应用领域具有显著优势。
-
支持1路DVI输入和3路HDMI1.4输入
支持单路大量输入分辨率1920*1200@60Hz,支持分辨率任意设置 支持12路千兆网口输出,支持单机或双机冗余备份 支持视频源任意切换、裁剪、拼接、缩放 支持3画面显示,窗口位置、大小可自由调节 支持HDCP1.4协议的高带宽数字内容保护技术 双USB2.0高速通讯接口,用于电脑调试和主控间任意级联 支持RS232串口协议控制 支持亮度、色温调节,支持对比度、色调、饱和度调节 支持低亮高灰能有效地保持低亮下灰阶的完整并完美显示
| 输入接口 |
||
| 1 |
HDMI1/2/3 |
3路HDMI输入,支持音频输入 HDMI1.4标准(支持1920*1200@60Hz,19200*1080@60Hz) |
| 2 |
DVI |
1路DVI输入 DVI标准(支持1920*1200@60Hz,19200*1080@60Hz) |
| 输出接口 |
||
| 1 |
Portl-12 |
RJ45,12路1G网口输出口 |
| 控制接口 |
||
| 1 |
RS232 |
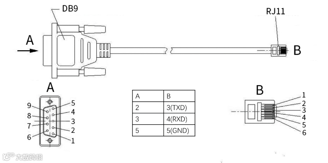
RJ11(6P6C)接口*,可连接中控 |
| 2 |
USB OUT |
USB输出,用于X20之间级联控制 |
| 3 |
USB IN |
USB输入,连接电脑,用于调试参数 |
| 音频接口 |
||
| 1 |
AUDIO IN |
音频输入,可接接收电脑等设备输入音频 |
| 2 |
AUDIO OUT |
音频输出,可输出音频至音箱等设备(支持HDMI音频解析输出) |
| 电源接口 |
||
| 1 |
AC100~240V |
交流电源接口,内含电源保护器件 |


