上一期的#A股打新规则有变#受到了广泛关注,今天小编就和大家聊一聊全面注册制时代如何结合智能工具打新及A股主板交易规则的变化及实施时间~
注册制下打新不再是无风险套利,如何应对?3大智能化工具助你更好的把握变化下的新股机遇。
智能条件单的首个策略
智能打新条件单
--现已全新上线--
一、什么是智能打新条件单
简单说就是可批量预约申购未来7个交易日内有发行价的新股/新债,系统智能监控,在申购当日自动发起申购。
预约品种包含A股(主板、创业板、科创板)的首次公开发行且已公布发行价的股票、可转债,支持一键全选或多选。这个预约不限制在交易时间内,7×24小时皆可。
适用人群:想要参与新股和可转债申购的投资者。
二、智能打新条件单的优势
① 支持一次性批量预约申购,省去日日查看的烦恼;
② 7x24小时随时创建,避免临时有事遗忘打新;
③ 申购额度智能计算,申购时间自主选择;
④ 实时监控打新状态,可根据情况随时调整或取消。
打开“光大证券金阳光”APP,点击【交易】-【普通】-【智能条件单】,登录账户,进入“智能打新”页面,按照提示操作。
注意,首次开通需签署特别风险提示书和功能协议书,并会提示您用微信绑定资金账号,后续将通过微信给您发送关于条件单的委托成功、委托失败或废单等相关消息。
以金阳光APP为例
01 点击交易-智能条件单
02 签署特别风险提示书
03 签署功能协议书
04 用微信绑定资金账号
05 开启预约打新
场景举例
常见问题解答
① 哪些情况下条件单可能会失效?
预约打新条件单设置成功后,若新股发行信息发生包括但不限于申购日期、发行价格和申购代码等要素变更,系统会将标的对应的条件单统一做失效处理。
② 条件单能保证准时提交申购委托吗?
当到达报单时间时,系统会自动提交新股申购委托,但是受网络、系统、同时触发量或其他原因等情况影响,可能会出现不同程度的委托延迟或与预设的时间段不一致。
③ 条件单有哪些消息通知方式?
条件单在收到委托结果 (委托成功、委托失败、废单) 等情况下,金阳光APP会通过消息推送至客户,用微信绑定资金账号,通过微信即可查看。点击》》》,获取条件单提醒。
除了智能选股,还有个股诊断、智能盯盘等助力你择新股、盯涨跌幅。
个股诊断
智能判断新股质地
基本面:
五大维度智能诊断个股
消息面:
及时监测利好利空资讯
资金面:
直观反馈主力控盘态度
路径:金阳光首页-更多
-决策工具-个股诊断
六大盯盘策略,
自动监测盘中异动
触发盯盘条件,
智能预警实时通知
抢占交易先机,
彻底解放盯盘时间
路径:金阳光首页-更多
-决策工具-智能盯盘
智能盯盘
智能锁定交易时机
介绍完智能工具,接下来和大家聊一聊A股主板交易规则的变化及实施时间。这个跟大家的交易密切相关~
全面注册制落地
交易规则变化
--需了解--
2月17日,随着证监会发布全面实行股票发行注册制相关制度规则,全面注册制正式落地实施。
►►►
那对我们的交易有啥影响呢?
首先,主板日涨跌幅还是10%,这个没有变化,还是投资者们熟悉的味道。
从定位看,主板还是突出“大盘蓝筹”特色,重点支持业务模式成熟、经营业绩稳定、规模较大、具有行业代表性的优质企业。
关于市价申报的变化▽
在规则变化上,市价申报方面,主板出现2%的挂单限制,同时增设了“十个申报价格最小变动单位(即0.1元)”的安排。在申报买入时,是取2%与0.1元的孰高值。在申报卖出时,是取2%与0.1元的孰低值。简单理解就是:
👉 5元以上的股票价格挂单有±2%的挂单限制;
👉 5元以下的股票有±0.1元的挂单限制。
举个例子:
股票卖1价10元/股,则挂单的买入价不能高于10*102%=10.2元。股票买1价10元/股,卖出价不能低于10*98%=9.8元。
相关规则条款如下:
连续竞价阶段的限价申报
买入申报价格
不得高于买入基准价格的102%和买入基准价格以上十个申报价格最小变动单位(0.1元)的孰高值。
卖出申报价格
不得低于卖出基准价格的98%和卖出基准价格以下十个申报价格最小变动单位(0.1元)的孰低值。
* 当2%有效申报价格范围较基准价格变动不足十个申报价格最小变动单位(即0.1元)时,取至0.1元。
* 基准价,如果是买入,基准价一般是卖1;如果是卖出,基准价是一般买1。
这一规则的调整,让投资者不可能再凭一张单子直接将价格打到涨停或跌停。从科创板实施情况下,可以避免地天板或天地板的出现。
之前为了买入卖出方便,投资者直接按涨停板买入、跌停板卖出的填单方法就行不通了。
对于部分低价股,在价格申报时可以不必参考2%限制,直接增加或者减少0.1元。此举进一步扩展低价股的报价空间。
新停牌规则▽
新停牌规则需了解,新增严重异常波动停牌情形:
股票10个交易日内发生4次异动,停牌
股票10个交易日内收盘价涨跌幅偏离值累计达到+100%(-50%),停牌
股票30个交易日内收盘价涨跌幅偏离值累计达到+200%(-70%),停牌
优化风险警示板异常波动指标,将风险警示板异常波动的连续3个交易日内收盘价格涨跌幅偏离值由15%调整至12%。
同时调整盘中临时停牌机制为盘中交易价格较当日开盘价首次上涨或下跌达到或超过30%、60%的,停牌10分钟。
关于新股▽
新股上市后的前5个交易日不设价格涨跌幅限制,第6个交易日起日涨跌幅为10%。交易所将披露新股首个交易日买入、卖出金额最大的5家会员营业部的名称及其买入、卖出金额。
新股上市首日即可纳入融资融券标的。
同时,沪市新股申购单位由1000股调整为500股。明确在网上申购倍数较高时,在确保较大比例新股向网上投资者发行基础上,将主板回拨后比例上限从90%调至80%。
除此之外,进入退市整理期交易的退市整理股票首个交易日不设涨跌幅限制,退市后重新上市的股票首个交易日都不设涨跌幅限制。
►►►
这些新规什么时候开始实施呢?
注册制下第一只主板新股上市首日开始实施。根据通知显示,《交易规则》《主板股票监控细则》《上海证券交易所融资融券交易实施细则》等5部交易组织与管理类规则,自按照《首次公开发行股票注册管理办法》发行的首只主板股票上市首日起施行。
同时,注册制下首只主板股票发行首日起,新开户的普通投资者首次参与主板股票的申购、交易前签署主板投资风险揭示书。
从交易所发布的答记者问看,注册制下第一只新股的发行、上市预计还需一段时间。沪深交易所将于2023年2月20日至3月3日,接收主板首发、再融资、并购重组在审企业申请。自2023年3月4日始接收主板新申报企业申请。
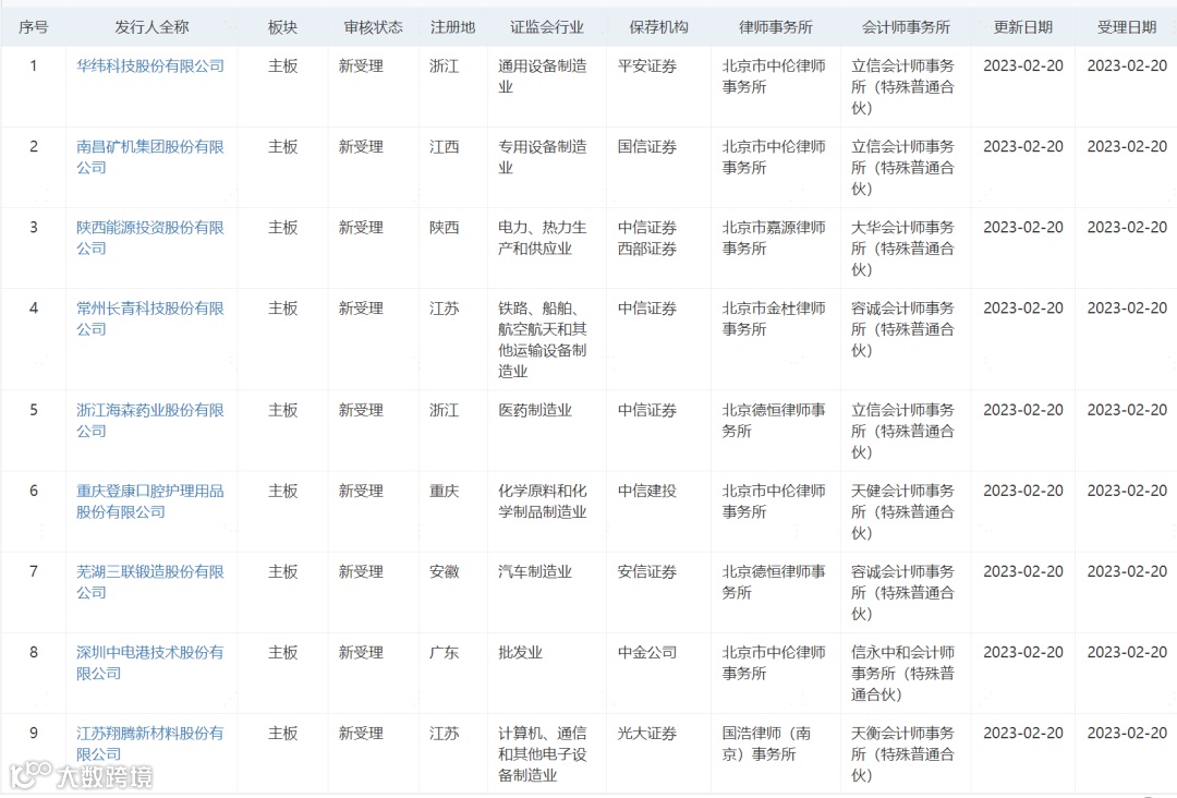
截止2月20日,根据沪深交易所官网披露,已有16家主板在审企业的首发申请获受理,其中,深交所9家,包括陕能股份、海森药业、登康口腔、华纬科技、南矿集团等;上交所7家,包括江盐集团、中信金属、中重科技等。
上交所受理名单
深交所受理名单
想了解被受理企业详情,可前往上交所官网、深交所官网了解。上交所地址 深交所地址
- END -
投资理财,就用金阳光APP
为您提供更加专业化、智能化的
投资理财服务
免责声明
本资料中的信息来源于已公开的资料,仅供您参考,不构成对任何人的投资建议、投资咨询意见或财务、法律等其他意见,亦不作为买卖、认购证券或其它金融工具的邀请、推荐、保证或广告宣传。投资者对于其直接或间接基于本资料内容做出的投资应自行承担风险,光大证券不对任何机构/个人因直接或间接使用本资料内容所引发的任何直接或间接损失承担任何责任。
光大证券对该等信息的准确性、适用性、可靠性、完整性或时效性不作任何保证。相关报告、资讯或数据因任何原因发生变更时,光大证券不承担更新义务,光大证券自主决定进行更新时将不会另行通知。
本资料的版权归光大证券所有,未经书面许可,任何机构和个人不得以任何形式转发、翻版、复制、刊登、发表或引用。

