点击蓝字
关注我们

币圈从不缺瓜,只缺更炸裂的大瓜!
就在几天前(2025年2月17日),币圈发生了一件令人震惊的事件:
一位名叫HULEZHI(胡乐知)的程序员将500个ETH打入黑洞地址销毁。这意味着什么呢?
相当于138万美元(约合人民币966万元)直接凭空消失、化为乌有!
胡乐知钱包地址:0x1a19c370EA73d67a0a91085811A1E89e89B36813
黑洞地址:0x0000000000000000000000000000000000000000
PART1
事件回顾:2月17日胡乐知的“烧钱”行为!
第一步,销毁ETH
将500个ETH打入黑洞地址(意味着该ETH直接销毁),近千万人民币说没就没了!

这里有个小细节值得关注:
除了17日当天,在此之前的2月10日和2月15日分别向黑洞地址打了33个ETH和70个ETH。
如果要从严谨性角度来看,那么胡乐志同学一共给黑洞地址打了603个ETH,远比网上说的500个ETH还要多!

第二步,疯狂捐款
• 711个 ETH → 维基解密(WikiLeaks),约191万美元
• 700个ETH → 区块链慈善机构 (ndao.eth),约187万美元
• 133个 ETH → 太坊基金会(Grant Provider),约36万美元(后被退回)
• 102 个ETH → 0x2a65015f…0EaBf4650(个人),约27万美元
不含销毁部分,以上仅捐出部分就超过400万美元(约合人民币3000万元),属实有点疯狂!!
PART2
链上数据:资金流入和流出情况分析
胡乐知操作的钱包地址:0x1a19c370EA73d67a0a91085811A1E89e89B36813
该地址对应的交易:https://etherscan.io/txs?a=0x1a19c370ea73d67a0a91085811a1e89e89b36813&f=2
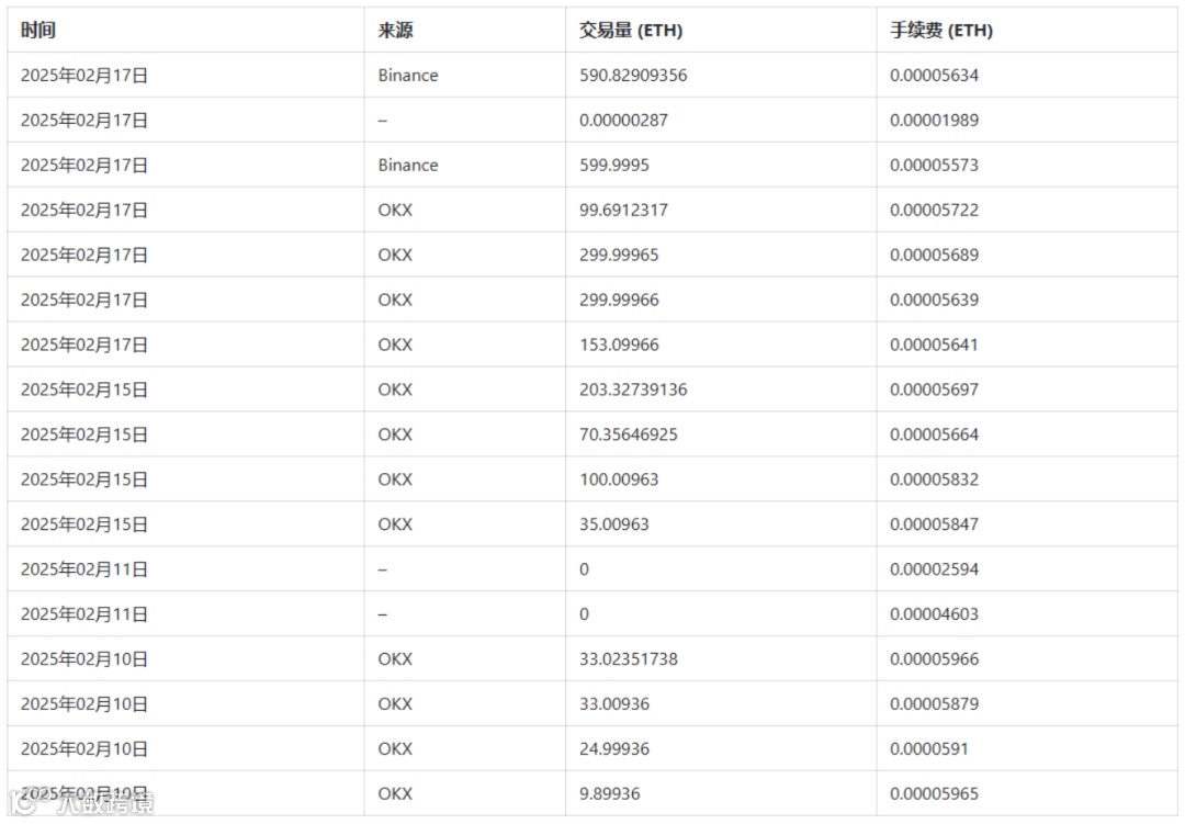
【资金流入】:
该钱包地址自2025年2月10日开始分别从OKX交易所转入12笔,从9个ETH到299个ETH不等。然后2月17日又分别从币安转入两笔599ETH,至此钱包共计拥有2287个ETH。
【资金流出】:
同时,从2月10日开始陆续转出。具体细节如下:

• 5次转给WikiLeaks Donate
• 2次转给Grant Provider
• 3次转给ENS Name ndao.eth
• 3次转给Null: 0x000…000
从2月10日至2月17日,在此期间共计转出2080个ETH。
倘若您在日常区块链交易中,对某些链上交易心存疑虑,不确定是否靠谱,不必惊慌,可以来找我们。
链析有专业的技术团队和先进的分析工具,提供全方位的链上安全分析服务,帮助您判断链上交易是否靠谱。若不幸遭遇链上资产损失,链析也能依托专业的追踪技术,沿着资金流向进行层层深挖,锁定资产的最终去向。
如果你遇到以上情况
欢迎来找我们咨询
👇👇👇

添加小助手微信号
这还不是最离谱的,还有更骚气的操作 ↓

更令人匪夷所思的是他在转出交易时的多条留言引起币圈人士的高度关注和讨论!!
他曾多次提到国内知名的期货高频交易领域的领军企业及负责人。暗示胡乐知本人及员工可能在某种程度上遭受“脑机武器控制和迫害”。
(以下是摘自他的部分转出交易留言内容:)
我是胡乐知,一名普通的程序员,创业者。自2022年10月以来,我意识到我从出生起就遭受着脑控组织的监控和摆布。而当我意识到脑控组织的存在时,他们也在加大对我的伤害,这两年我过得非常痛苦,现在已经到了身而为人的尊严彻底丧失的地步,我决定离开这个世界,也希望这个丑陋的世界早日毁灭。
脑机芯片已经大规模军事化部署了,所有的军事强国都在用基站、无线电和纳米脑机芯片控制所有国民
随着脑机接口和读心技术不断发展,出现了一种新的犯罪模式:野生动物沦为数字机器的傀儡或完全的奴隶。
目前出现了一种新的奴役受害者的犯罪模式,受害者的欲望感官被逐渐剥夺,直到最后完全成为数字机器的奴隶,如果有一天我成为了最后阶段的受害者,我会选择离开这个世界
………………
这些内容,好似一部科幻惊悚片的剧本,让人觉得玄幻而不可置信。但它却真实地刻在了区块链上,且无法篡改,永久存在。
PART3
事件本质:炒作、精分?还是脑机控制?

该事件在网上不断发酵,讨论和声音也越来越多:
有人认为,这是某种精心策划的营销活动。毕竟维基解密等受捐组织在短时间内获得了巨额资金,并且事件的热度正在持续攀升。
另一部分人则认为,胡乐知的行为可能与其心理健康状况有关。有人指出,他在社交媒体上的言论和行为近年来显得越来越极端(甚至出现了自残倾向),此次行为可能是精神分裂或其他心理问题的表现。
最后就是,还有部分人真的相信胡乐知所说,他的行为是受到了脑机接口技术的控制。
当然,以上这些言论是真是假我们无从考证。但不可否认的是,区块链给了他一个无需审批、无人能删帖的发声渠道,让他的信息得以永久存储在以太坊上,供全球任何人验证。
写在最后:
有人认为胡乐知是“区块链烈士”,用自己的财富换取流量曝光,他是想通过这样的手段揭露某些不为人知的黑暗;也有人觉得他可能只是精神压力过大,走上了一条极端的道路。
对此,你怎么看?
本文不提供任何投资理财建议,请谨慎甄别守护个人财产安全。
如果你想了解更多区块链知识
↓ 可以点击下方关注我们 ↓
链析是一家区块链技术安全公司
专注于为用户提供安全咨询及服务
资产找回/零口供技术支持
链上链下溯源分析/智能合约漏洞救援
法律援助/专业律师答疑
应急响应服务/威胁情报和解决方案

【往期精彩回顾】▼▼:




