爱原物图案网
正版图案交易与授权平台!
1、分类买断,降低10倍的开发成本!
2、市场流行趋势创作,自带爆款基因!
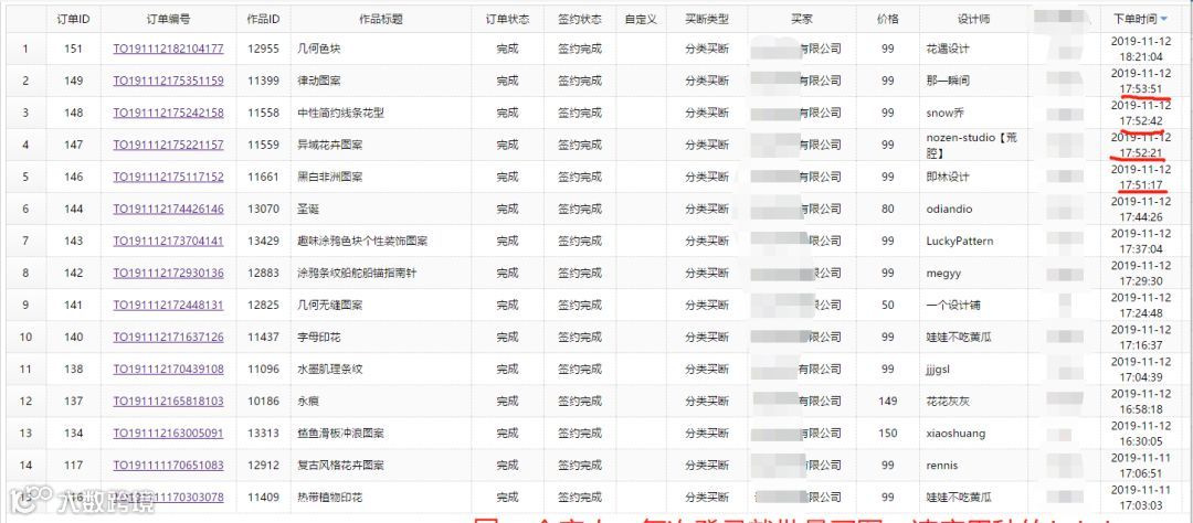
交易情况
同一个客户大量购买,用在书包品类上的图案
在这里,优秀 作 品 都得 靠 抢!!
面对优质的图案,客户每次登入都是批量购买,速 度 用 秒!!!
设计师推荐
今天推荐2位设计师的作品
欢迎到网站看海量的高质量作品
爱原物图案网:www.iywtu.com
NO.1
|
购买链接二维码 |
|
NO.2
|
购买链接二维码 |
|
原创作品,低成本购买
让优质的图案开启你的
爆款产品
马上到爱原物图案网看高质作品哦
购买作品速度要快,姿势要帅
网址:www.iywtu.com
扫一扫下方二维码
关注作品更新哦
往期回顾:

