点击上方北京互联网法院获取更多精彩内容~
今天,我们介绍北京互联网法院一个特别群体的工作。
他们既是律师,又是调解员;
他们既掌握法律专业知识,又擅长温情的说理;
他们看似站在法官对面,却也是法官有力的臂膀。
他们,被称作“律师调解”。
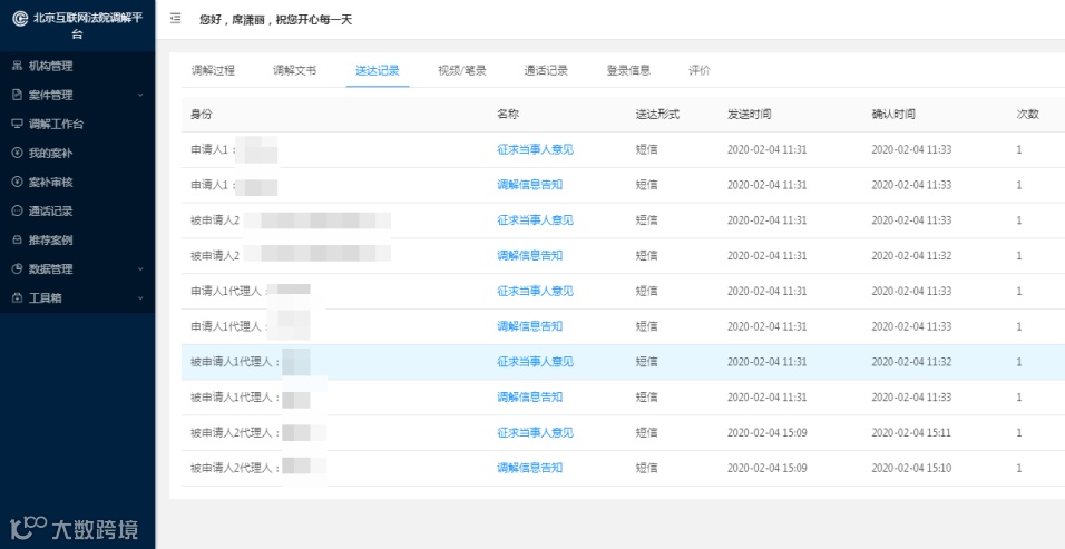
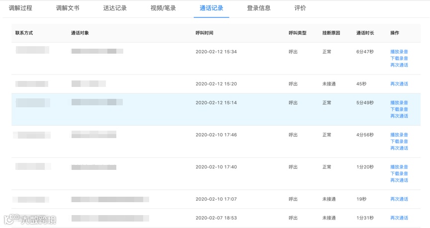
“云调解”之全流程线上调解
“云调解”添翼之“X”:
虚拟拨号、微信调解等
微信调解:实现沟通“零距离”
在北京互联网法院,这些调解员是调解的主力军之一。该团队由来自各大律师事务所的51名律师组成,他们擅长各类网络合同、著作权纠纷、民商事诉讼等。
在抗疫期间,他们依托北京互联网法院调解平台,充分发挥了作为法律职业共同体的力量,与法官肩并肩,为法院审判工作助力。
北京互联网法院在全流程线上调解的基础上,持续推进技术赋能司法审判,探索更多方便法官、调解员、当事人等各个群体的工作举措,使线上“枫桥经验”打破传统桎梏,真正做到让“云调解”提速纠纷化解。
供稿:席潇丽 董学敏
编辑:任惠颖
微信订阅号
微信服务号
长按识别二维码关注北京互联网法院

