
自2020年中兴正式量产屏下摄像头手机(Axon 20)后,这种“真全面屏”设计在手机行业爆火。
中兴Axon 20发布会截图▲
近两年随着小米MIX4、三星Galaxy Z Fold 3、摩托罗拉moto edge X30的上市,这种形态的手机终于推开了普及的大门。但这只存在于安卓机型的尝试,苹果手机依旧不为所动,其万年不变的”铁刘海“被疯狂吐槽。

不过苹果在去年发布的iPhone 14 Pro上,竟然破天荒将铁刘海改为药丸样式的”灵动岛“,这个设计当时惊艳了不少人,同时反映出苹果也有意缩小“刘海”对手机屏幕的占用。

而这只是苹果的第一步尝试!
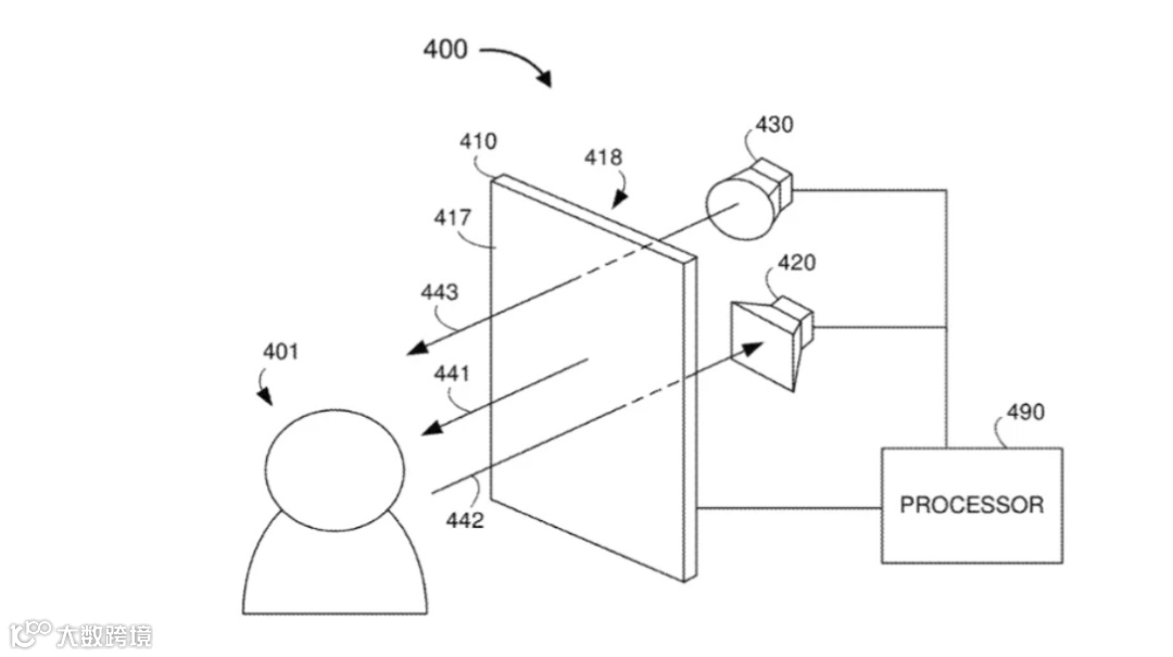
近日,根据美国商标和专利局(USPTO)公示的最新清单,苹果获得了一项屏下Face ID的技术专利,描述了苹果手机灵动岛的未来形态演变。未来iPhone机型可以将前置摄像头嵌入到屏幕下方。

该专利描述了两个设计方向,可以超越iPhone现有的灵动岛设计。
首先,屏幕下方可以嵌入各种传感器,包括Touch ID 传感器、用于测量三维非接触手势的传感器、压力传感器、用于检测位置、方向和运动的传感器、健康传感器等可以隐藏的传感器。另外还有各种光学传感器,例如自混合传感器、TOF传感器、激光雷达传感器、湿度传感器、湿气传感器、注视跟踪传感器和其他传感器。

专利中显示,灵动岛的位置可以改变,通过使用一系列微小的透明窗口,有选择性地激活和停用不同的像素,这些窗口的尺寸和位置可以在屏幕周围有效地移动。
目前苹果手机传统屏幕为13 层,通过这些区域的光传输最多减少了 80%。因此,未来可能需要减少包含屏下区域的层数。


结合上述这些专利来看,未来苹果手机除了灵动岛可以在屏幕中灵活移动改变位置外,或还支持屏下摄像头拍照。

安卓手机的屏下摄像头已经历几代的更迭,但时至今日,依然未能大范围商用,一部分是由于屏下摄像头技术还未彻底成熟,依然会存在自拍画质不佳、前置视频通话时存在障碍等问题。
但不可否认的是,屏下摄像头技术确实给屏幕带来了更具一体性的观感,使手机在外观视觉上达到真正的全屏。

对于iPhone而言,虽然灵动岛代替了长达5年的刘海屏,在一定程度上缩小了刘海面积,但依旧不是完美的解决方案。一直以来,外界都希望苹果能早日实现屏下Face ID等技术,将刘海完全隐藏到屏幕下方,实现完全无开孔的效果,再配合上iPhone四边等宽的设计,视觉效果应该会非常出色。
按照苹果超长产品规划时间来看,iPhone 15系列的一部分早期工作或许已经开始,是有一些希望使用该技术的,但考虑到目前只是专利获批,技术还尚未成型,iPhone 16系列将更有可能首发该技术。总之,果粉们可以期待起来了!


