
从2019年开始,折叠屏产品开始成为众多厂商寻求高端突破的全新赛道。目前各大Android阵营的手机厂商已经纷纷加入,苹果自然也不愿意放弃这个市场。
其实供应链很早就传出过折叠屏iPhone的消息,但因为技术不够成熟,一直都没有产品推出。

但从最新的消息来看,苹果的首款折叠屏产品真要来了!只不过这次有点“弯道超车”,不是折叠屏iPhone,而是折叠屏iPad。
据 DigiTimes近期发布的一篇付费报道显示,苹果传闻中的折叠式 iPad 正在“紧张开发”中,最早可能在2024年底公布。

Digitimes 在报道中提到,按照目前的进度,苹果首款折叠屏产品最早可能会在 2024 年开启小规模生产。
这也与此前分析师郭明錤的推测相符,他曾表示苹果会在明年推出折叠iPad。

对此,已经有很多业内人士表态,认为苹果这样做在为折叠iPhone试水,在折叠屏iPad上继续测试并改进折叠技术,最终引入到iPhone上去。
嗯...这种挤牙膏的方式果然很苹果。

不过好消息是,这次苹果是有备而来,根据种种爆料显示,苹果正在打造一台彻底做到“0折痕”的折叠屏iPad,相信能再度惊艳到大众。

在外观上,已经有媒体爆料,苹果首款折叠屏设备应该采用内折的方案,同时内屏尺寸为 8.9 英寸,相当于两台 iPhone Pro Max 的大小,比 iPad mini 稍大,比 iPad Air 小一点,日常携带应该也比较方便。

早前有媒体爆出,苹果在折叠屏 iPad 的开发过程中遇到了关于显示屏的折痕以及铰链等技术问题,这也是产品一直“难产”原因之一。
而现在根据Digitimes 最新的报道透露,苹果已经要求三星和 LG 两家公司研发并提供新的屏幕方案,能大大减轻折叠屏产品的折痕。

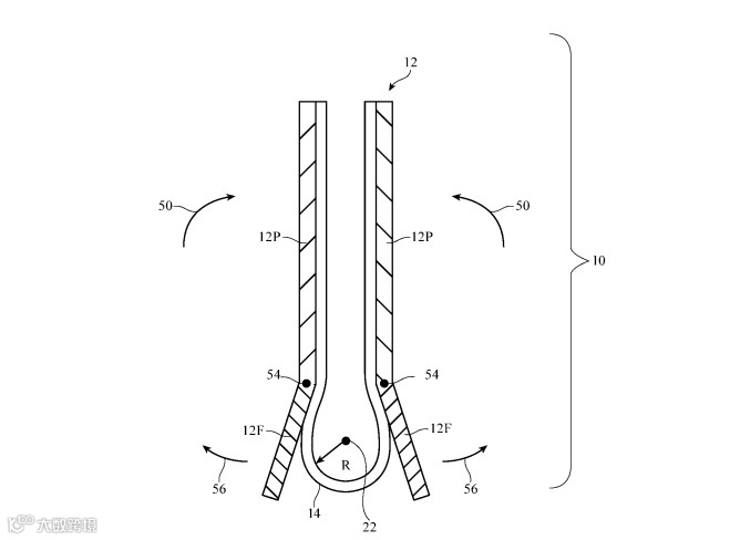
当然了,苹果所做的努力还远不止这些,苹果公司申请一种具有独特铰链机制的可折叠设备专利,根据项专利显示,利用可移动的伸缩板来防止屏幕折叠时出现折痕或者损坏。

当设备展开时,可移动的襟翼会打开,以覆盖屏幕外壳两部分之间的间隙;当设备折叠时,可移动的襟翼缩回。通过这种方式折叠屏幕,折痕上的应力几乎为零。

除了可移动的伸缩板之外,苹果此前还曾被曝光了一种折叠屏专利,名为“具有柔性显示屏覆盖层的电子设备”,简单来说就是在屏中覆盖了一层可“自愈”的弹性材料,可以在拉伸后恢复到原先的形状,以此来减轻折痕/划痕。
看起来,这些自愈材料有点类似于床垫中的记忆泡沫,可以自动修复屏幕折痕,不仅能减少折叠带来的损害,还能在折痕产生时进行补救。

为了产品的实用性更高,爆料显示折叠iPad将配备碳纤维材质的支撑架,采用碳纤维的可让支撑架更轻与更耐用,同时也能保证整个折叠屏幕的稳固性和平整性。
有了以上种种专利技术的加持,相信苹果对折痕问题已经十拿九稳了,明年说不定真可以看到一款完美的无折痕折叠屏 iPad。

除了折叠屏iPad,折叠屏Mac也已经提上日程了,据说研发进展更为顺利。
2022年12月,TheElec报道称:苹果将和三星、LG 两家屏幕供应商合作,共同研发20.25英寸可折叠面板。
随后在今年7月,三星显示常务白承仁(Baek Seung In)就表示当前正和LG显示合作研发可折叠的20英寸屏幕,再度实锤了这一消息。

在产品形态上,考虑到折叠状态下这块屏幕可以被分成两块约13英寸的屏幕,这款折叠屏Mac有较高可能会像ThinkPad X1 Fold那样,以「双屏折叠笔记本」的形式出现。

根据现有信息显示,当这款产品折叠时屏幕尺寸约为 15.3 英寸,接近 16 英寸 MacBook Pro。
同hi折叠屏带有全尺寸屏幕键盘,类似于 iPhone 和 iPad 上使用的键盘,用户可以直接在屏幕上敲打。不过这样对用户来说并不方便,因此苹果很有可能采用类似于 ThinkPad X1 Fold 的方案,配一个蓝牙键盘,放在屏幕上打字。

展开之后,这款产品的屏幕尺寸约为 20.25 英寸,与 24 英寸 iMac 大小差不多。由此可见,苹果这款20.25 英寸折叠屏设备并不是介于 MacBook 和 iPad 之间的产品,而是介于 MacBook 与 iMac 之间的产品。
在折叠时,它就是一台 MacBook Pro,而展开后,它就是一台 iMac。

不过话说回来了,折叠MacBook应该不会是一个缓冲或者过渡产品,而是像Apple Watch Ultra、Vision Pro一样的高端平行产品,所以售价应该会非常贵,大家可以自行想象一下...

看到这里,相信有很多小伙伴们开始好奇了,折叠屏iPad、折叠屏MacBook都已经相继曝光并且提上日程了,为什么大家最期待的折叠屏iPhone就是没个影儿?
其实原因也很简单,首先,iPadOS是iPhone系统的一个分支。折叠屏产品不仅仅取决于硬件,还需要软件来支持。

其次,与iPhone贡献了苹果超过50%的收入不同,iPad贡献的比例要小得多,在其2023财年最新的第三财季报告中显示,来自于iPad的营收为57.91亿美元,去年同期为72.24亿美元,同比下降了19.83%。
所以作为技术验证产物的可折叠iPad即便是出现了问题,对于苹果的负面影响无疑要远小于可折叠iPhone。

即便折叠屏iPad上市后用户不喜欢达不到预期,对苹果整体业务不太大,最后挨点骂,万一做好了,那可就赚了。
更何况转念一想,如果苹果想要做折叠屏iPhone,势必会率先挤占 iPad 市场份额,那么苹果不如直接做折叠屏平板来得更快。

从目前网友的反应来看,大家对这款即将问世的可折叠iPad似乎也并不排斥。



总的来说,近些年苹果在旗舰 iPhone 上的升级路线一直十分保守,从其他路线的产品寻找新赛道也未尝不可,相信折叠屏iPad的出现,能大大刺激到 iPad 的销量,也提前为折叠iPhone的出现做好准备。


